Управление движением летательного аппарата (ЛА), полет которого происходит в атмосфере Земли, осуществляется с помощью аэродинамических органов управления, к которым относятся руль высоты, руль направления и элероны. Создавая моменты относительно центра масс, эти органы управления изменяют угловое положение ЛА, что позволяет управлять действующими на ЛА силами и формировать желаемую траекторию.
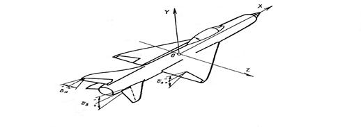
На рис. 2.1. и 2.2. показаны органы управления для различных типов самолетов, на рис. 2.3. правила знаков для отклонения руля высоты (dв), руля направления (dн) и элеронов (dэ).
Управление движением ЛА относительно центра масс обеспечивает установку и поддержание заданных значений угловых координат. Этот процесс часто называют угловой стабилизацией, а систему управления движением относительно центра масс – системой угловой стабилизации ЛА. Эта система содержит три канала, каждый из которых предназначен для стабилизации объекта управления относительно осей прямоугольной декартовой системы координат, связанной с летательным аппаратом.
Угловое движение ЛА относительно продольной оси определяется углом крена (рис. 2.4.), управление этим угловым движением осуществляет канал крена системы управления, а органом управления в этом канале являются элероны. Поскольку момент крена, как и всякий момент, пропорционален расстоянию от точки приложения силы до оси вращения, элероны на самолетах располагаются на концах крыльев (рис. 2.1. – 2.4.). Это дает возможность при одинаковой аэродинамической силе, возникающей на элеронах, получить больший момент управления.

| |
| | | Рис.2.1. Многоцелевой реактивный истребитель. Органы управления | |
| |
| | | Рис. 2.2. Легкий пассажирский самолет. Органы управления | |
| Рис. 2.3. Углы отклонения органов управления | |

| Рис. 2.4. Управление углом крена самолета с помощью элеронов. | |
| Органы управления (руль высоты, направления, элероны) | |
Рис. 2.5. Принципиальная схема управления движением относительно
центра масс (угловой стабилизации) летательного аппарата.
Принципиальная схема управления движением летательного аппарата (самолета) относительно центра масс приведена на рис. 2.5. и содержит все необходимые элементы системы управления: объект управления, измерительные, задающие и сравнивающие устройства, устройство формирования закона управления, исполнительный механизм и органы управления.