В результате тепловых забросов электронов из зоны I в зону II в валентной зоне возникают вакантные состояния, получившие название дырок. Во внешнем электрическом поле на освободившееся от электрона место — дырку — может переместиться электрон с соседнего уровня, а дырка появится в том месте, откуда ушел электрон, и т. д. Такой процесс заполнения дырок электронами равносилен перемещению дырки в направлении, противоположном движению электрона, так, как если бы дырка обладала положительным зарядом, равным по величине заряду электрона. Проводимость собственных полупроводников, обусловленная квазичастицами — дырками, называется дырочной проводимостью или проводимостью p- типа (от лат. positive — положительный).

Таким образом, в собственных полупроводниках наблюдаются два механизма проводимости: электронный и дырочный. Число электронов в зоне проводимости равно числу дырок в валентной зоне, так как последние соответствуют электронам, возбужденным в зону проводимости. Следовательно, если концентрации электронов проводимости и дырок обозначить соответственно пe, и nр, то
(242.1)
Проводимость полупроводников всегда является возбужденной, т. е. появляется только под действием внешних факторов (температуры, облучения, сильных электрических полей и т. д.).
В собственном полупроводнике уровень Ферми находится в середине запрещенной зоны (рис. 316). Действительно, для переброса электрона с верхнего уровня валентной зоны на нижний уровень зоны проводимости затрачивается энергия активации, равная ширине запрещенной зоны D E. При появлении же электрона в зоне проводимости в валентной зоне обязательно возникает дырка. Следовательно, энергия, затраченная на образование пары носителей тока, должна делиться на две равные части. Так как энергия, соответствующая половине ширины запрещенной зоны, идет на переброс электрона и такая же энергия затрачивается на образование дырки, то начало отсчета для каждого из этих процессов должно находиться в середине запрещенной зоны. Энергия Ферми в собственном полупроводнике представляет собой энергию, от которой происходит возбуждение электронов и дырок.
Вывод о расположении уровня Ферми в середине запрещенной зоны собственного полупроводника может быть подтвержден математическими выкладками. В физике твердого тела доказывается, что концентрация электронов в зоне проводимости
(242.2)
где E 2 — энергия, соответствующая дну зоны проводимости (рис. 316), ЕF — энергия Ферми, Т — термодинамическая температура, С 1 — постоянная, зависящая от температуры и эффективной массы электрона проводимости. Эффективная масса — величина, имеющая размерность массы и характеризующая динамические свойства квазичастиц — электронов проводимости и дырок. Введение в зонную теорию эффективной массы электрона проводимости позволяет, с одной стороны, учитывать действие на электроны проводимости не только внешнего поля, но и внутреннего периодического поля кристалла, а с другой стороны, абстрагируясь от взаимодействия электронов проводимости с решеткой, рассматривать их движение во внешнем поле как движение свободных частиц.
Концентрация дырок в валентной зоне
(242.3)
где С 2 — постоянная, зависящая от температуры и эффективной массы дырки, Е 1 — энергия, соответствующая верхней границе валентной зоны. Энергия возбуждения в данном случае отсчитывается вниз от уровня Ферми (рис. 316), поэтому величины в экспоненциальном множителе (242.3) имеют знак, обратный знаку экспоненциального множителя в (242.2). Так как для собственного полупроводника пe=np (242.1), то

Если эффективные массы электронов и дырок равны (
), то С 1 =С 2 и, следовательно, – (E 2 –EF) = =E 1 –EF, откуда

т. е. уровень Ферми в собственном полупроводнике действительно расположен в середине запрещенной зоны.
Taк как для собственных полупроводников D E >> kT, то распределение Ферми — Дирака (235.2) переходит в распределение Максвелла — Больцмана. Положив в (236.2) E–EF » D E/ 2, получим
(242.4)
Количество электронов, переброшенных в зону проводимости, а следовательно, и количество образовавшихся дырок пропорциональны á N(Е) ñ. Таким образом, удельная проводимость собственных полупроводников
(242.5)
где g 0 — постоянная, характерная для данного полупроводника.
Увеличение проводимости полупроводников с повышением температуры является их характерной особенностью (у металлов с повышением температуры проводимость уменьшается). С точки зрения зонной теории это обстоятельство объяснить довольно просто: с повышением температуры растет число электронов, которые вследствие теплового возбуждения переходят в зону проводимости и участвуют в проводимости. Поэтому удельная проводимость собственных полупроводников с повышением температуры растет.
Если представить зависимость ln g от 1/ T, то для собственных полупроводников — это прямая (рис. 317), по наклону которой можно определить ширину запрещенной зоны D Е, а по ее продолжению — g 0 (прямая отсекает на оси ординат отрезок, равный ln g 0).

Одним из наиболее широко распространенных полупроводниковых элементов является германий, имеющий решетку типа алмаза, в которой каждый атом связан ковалентными связями (см. § 71) с четырьмя ближайшими соседями. Упрощенная плоская схема расположения атомов в кристалле Ge дана на рис. 318, где каждая черточка обозначает связь, осуществляемую одним электроном. В идеальном кристалле при 0 К такая структура представляет собой диэлектрик, так как все валентные электроны участвуют в образовании связей и, следовательно, не участвуют в проводимости.
При повышении температуры (или под действием других внешних факторов) тепловые колебания решетки могут привести к разрыву некоторых валентных связей, в результате чего часть электронов отщепляется и они становятся свободными. В покинутом электроном месте возникает дырка (она изображена белым кружком), заполнить которую могут электроны из соседней пары. В результате дырка, так же как и освободившийся электрон, будет двигаться по кристаллу. Движение электронов проводимости и дырок в отсутствие электрического поля является хаотическим. Если же на кристалл наложить электрическое поле, то электроны начнут двигаться против поля, дырки— по полю, что приведет к возникновению собственной проводимости германия, обусловленной как электронами, так и дырками.
В полупроводниках наряду с процессом генерации электронов и дырок идет процесс рекомбинации: электроны переходят из зоны проводимости в валентную зону, отдавая энергию решетке и испуская кванты электромагнитного излучения. В результате для каждой температуры устанавливается определенная равновесная концентрация электронов и дырок, изменяющаяся с температурой согласно выражению (242.4).

§ 243. Примесная проводимость полупроводников
Проводимость полупроводников, обусловленная примесями, называется примесной проводимостью, а сами полупроводники — примесными полупроводниками. Примесная проводимость обусловлена примесями (атомы посторонних элементов), а также дефектами типа избыточных атомов (по сравнению со стехиометрическим составом), тепловыми (пустые узлы или атомы в междоузлиях) и механическими (трещины, дислокации и т. д.) дефектами. Наличие в полупроводнике примеси существенно изменяет его проводимость. Например, при введении в кремний примерно 0,001 ат.% бора его проводимость увеличивается примерно в 106 раз.
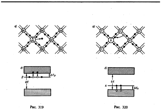
Примесную проводимость полупроводников рассмотрим на примере Ge и Si, в которые вводятся атомы с валентностью, отличной от валентности основных атомов на единицу. Например, при замещении атома германия пятивалентным атомом мышьяка (рис. 319, а) один электрон не может образовать ковалентной связи, он оказывается лишним и может быть легко при тепловых колебаниях решетки отщеплен от атома, т. е. стать свободным. Образование свободного электрона не сопровождается нарушением ковалентной связи; следовательно, в отличие от случая, рассмотренного в § 242, дырка не возникает. Избыточный положительный заряд, возникающий вблизи атома примеси, связан с атомом примеси и поэтому перемещаться по решетке не может.
С точки зрения зонной теории рассмотренный процесс можно представить следующим образом (рис. 319, б). Введение примеси искажает поле решетки, что приводит к возникновению в запрещенной зоне энергетического уровня D валентных электронов мышьяка, называемого примесным уровнем. В случае германия с примесью мышьяка этот уровень располагается от дна зоны проводимости на расстоянии D ED =0,013 эВ. Так как D ED < kT, то уже при обычных температурах энергия теплового движения достаточна для того, чтобы перебросить электроны примесного уровня в зону проводимости; образующиеся при этом положительные заряды локализуются на неподвижных атомах мышьяка и в проводимости не участвуют.
Таким образом, в полупроводниках с примесью, валентность которой на единицу больше валентности основных атомов, носителями тока являются электроны; возникает электронная примесная проводимость (проводимость n -типа). Полупроводники с такой проводимостью называются электронными (или полупроводниками n -типа). Примеси, являющиеся источником электронов, называются донорами, а энергетические уровни этих примесей — донорными уровнями.
Предположим, что в решетку кремния введен примесный атом с тремя валентными электронами, например бор (рис. 320, а). Для образования связей с четырьмя ближайшими соседями у атома бора не хватает одного электрона, одна из связей остается неукомплектованной и четвертый электрон может быть захвачен от соседнего атома основного вещества, где соответственно образуется дырка. Последовательное заполнение образующихся дырок электронами эквивалентно движению дырок в полупроводнике, т. е. дырки не остаются локализованными, а перемещаются в решетке кремния как свободные положительные заряды. Избыточный же отрицательный заряд, возникающий вблизи атома примеси, связан с атомом примеси и по решетке перемещаться не может.
По зонной теории, введение трехвалентной примеси в решетку кремния приводит к возникновению в запрещенной зоне примесного энергетического уровня А, не занятого электронами. В случае кремния с примесью бора этот уровень располагается выше верхнего края валентной зоны на расстоянии D EA =0,08 эВ (рис. 320, б). Близость этих уровней к валентной зоне приводит к тому, что уже при сравнительно низких температурах электроны из валентной зоны переходят на примесные уровни и, связываясь с атомами бора, теряют способность перемещаться по решетке кремния, т. е. в проводимости не участвуют. Носителями тока являются лишь дырки, возникающие в валентной зоне.

Таким образом, в полупроводниках с примесью, валентность которой на единицу меньше валентности основных атомов, носителями тока являются дырки; возникает дырочная проводимость (проворность p -типа). Полупроводники с такой проводимостью называются дырочными (или полупроводниками p -типа). Примеси, захватывающие электроны из валентной зоны полупроводника, называются акцепторами, а энергетические уровни этих примесей — акцепторными уровнями.
В отличие от собственной проводимости, осуществляющейся одновременно электронами и дырками, примесная проводимость полупроводников обусловлена в основном носителями одного знака: электронами—в случае донорной примеси, дырками — в случае акцепторной. Эти носители тока называются основными. Кроме основных носителей в полупроводнике имеются и неосновные носители: в полупроводниках n -типа — дырки, в полупроводниках p- типа — электроны.
Наличие примесных уровней в полупроводниках существенно изменяет положение уровня Ферми ЕF. Расчеты показывают, что в случае полупроводников n -типа уровень Ферми ЕF0 при 0 К расположен посередине между дном зоны проводимости и донорным уровнем (рис. 321), С повышением температуры все большее число электронов переходит из донорных состояний в зону проводимости, но, помимо этого, возрастает и число тепловых флуктуаций, способных возбуждать электроны из валентной зоны и перебрасывать их через запрещенную зону энергий. Поэтому при высоких температурах уровень Ферми имеет тенденцию смещаться вниз (сплошная кривая) к своему предельному положению в центре запрещенной зоны, характерному для собственного полупроводника.
Уровень Ферми в полупроводниках р- типа при 0 К ЕF0 располагается посередине между потолком валентной зоны и акцепторным уровнем (рис. 322). Сплошная кривая опять-таки показывает его смещение с температурой. При температурах, при которых примесные атомы оказываются полностью истощенными и увеличение концентрации носителей происходит за счет возбуждения собственных носителей, уровень Ферми располагается посередине запрещенной зоны, как в собственном полупроводнике.

Проводимость примесного полупроводника, как и проводимость любого проводника, определяется концентрацией носителей и их подвижностью. С изменением температуры подвижность носителей меняется по сравнительно слабому степенному закону, а концентрация носителей — по очень сильному экспоненциальному закону, поэтому проводимость примесных полупроводников от температуры определяется в основном температурной зависимостью концентрации носителей тока в нем. На рис. 323 дан примерный график зависимости ln g от 1/ T для примесных полупроводников. Участок AB описывает примесную проводимость полупроводника. Рост примесной проводимости полупроводника с повышением температуры обусловлен в основном ростом концентрации примесных носителей. Участок ВС соответствует области истощения примесей (это подтверждают и эксперименты), участок CD описывает собственную проводимость полупроводника.

§ 244. Фотопроводимость полупроводников
Фотопроводимость (см. § 202) полупроводников — увеличение электропроводности полупроводников под действием электромагнитного излучения — может быть связана со свойствами как основного вещества, так и содержащихся в нем примесей. В первом случае при поглощении фотонов, соответствующих собственной полосе поглощения полупроводника, т. е. когда энергия фотонов равна или больше ширины запрещенной зоны (hn ³ D E), могут совершаться перебросы электронов из валентной зоны в зону проводимости (рис. 324, а), что приведет к появлению добавочных (неравновесных) электронов (в зоне проводимости) и дырок (в валентной зоне). В результате возникает собственная фотопроводимость, обусловленная как электронами, так и дырками.
Если полупроводник содержит примеси, то фотопроводимость может возникать и при hn < D E: для полупроводников с донорной примесью фотон должен обладать энергией hn ³ D ЕD, а для полупроводников с акцепторной примесью — hn ³ D ЕA. При поглощении света примесными центрами происходит переход электронов с донорных уровней в зону проводимости в случае полупроводника n -типа (рис. 324, б) или из валентной зоны на акцепторные уровни в случае полупроводника p -типа (рис. 324, в). В результате возникает примесная фотопроводимость, являющаяся чисто электронной для полупроводников п -типа и чисто дырочной для полупроводников p -типа.

Таким образом, если
(244.1)
(D E п — в общем случае энергия активации примесных атомов), то в полупроводнике возбуждается фотопроводимость. Из (244.1) можноопределить красную границу фотопроводимости — максимальную длину волны, при которой еще фотопроводимость возбуждается:

Учитывая значения D E и D E п для конкретных полупроводников, можно показать, что красная граница фотопроводимости для собственных полупроводников приходится на видимую область спектра, для примесных же полупроводников — на инфракрасную.
На рис. 325 представлена типичная зависимость фотопроводимости j и коэффициента поглощения { от длины волны l падающего на полупроводник света. Из рисунка следует, что при l>l 0 фотопроводимость действительно не возбуждается. Спад фотопроводимости в коротковолновой части полосы поглощения объясняется большой скоростью рекомбинации в условиях сильного поглощения в тонком поверхностном слое толщиной х»1 мкм (коэффициент поглощения»106 м–1).
Наряду с поглощением, приводящим к появлению фотопроводимости, может иметь место экситонный механизм поглощения. Экситоны представляют собой квазичастицы — электрически нейтральные связанные состояния электрона и дырки, образующиеся в случае возбуждения с энергией, меньшей ширины запрещенной зоны. Уровни энергии экситонов располагаются у дна зоны проводимости. Так как экситоны электрически нейтральны, то их возникновение в полупроводнике не приводит к появлению дополнительных носителей тока, вследствие чего экситонное поглощение света не сопровождается увеличением фотопроводимости.
§ 245. Люминесценция твердых тел
В природе давно известно излучение, отличное по своему характеру от всех известных видов излучения (теплового излучения, отражения, рассеяния света и т. д.). Этим излучением является люминесцентное излучение, примерами которого может служить свечение тел при облучении их видимым, ультрафиолетовым и рентгеновским излучением, g-излучением и т.д. Вещества, способные под действием различного рода возбуждений светиться, получили название люминофоров.
Люминесценция — неравновесное излучение, избыточное при данной температуре над тепловым излучением тела и имеющее длительность, большую периода световых колебаний. Первая часть этого определения приводит к выводу, что люминесценция не является тепловым излучением (см. § 197), поскольку любое тело при температуре выше 0 К излучает электромагнитные волны, а такое излучение является тепловым. Вторая часть показывает, что люминесценция не является таким видом свечения, как отражение и рассеяние света, тормозное излучение заряженных частиц и т. д. Период световых колебаний составляет примерно 10–15 с, поэтому длительность, по которой свечение можно отнести к люминесценции, больше—примерно 10–10 с. Признак длительности свечения дает возможность отличить люминесценцию от других неравновесных процессов. Так, по этому признаку удалось установить, что излучение Вавилова — Черенкова (см. § 189) нельзя отнести к люминесценции.
В зависимости от способов возбуждения различают: фотолюминесценцию (под действием света), рентгенолюминесценцию (под действием рентгеновского излучения), катодолюминесценцию (под действием электронов), электролюминесценцию (под действием электрического поля), радиолюминесценцию (при возбуждении ядерным излучением, например g-излучением, нейтронами, протонами), хемилюминесценцию (при химических превращениях), триболюминесценцию (при растирании и раскалывании некоторых кристаллов, например сахара). По длительности свечения условно различают: флуоресценцию (t £10–8с)и фосфоресценцию — свечение, продолжающееся заметный промежуток времени после прекращения возбуждения.
Первое количественное исследование люминесценции проведено более ста лет назад Дж. Стоксом,* сформулировавшим в 1852 г. следующее правило: длина волны люминесцентного излучения всегда больше длины волны света, возбудившего его (рис. 326). Согласно квантовой теории, правило Стокса означает, что энергия hn падающего фотона частично расходуется на какие-то неоптические процессы, т. е.

откуда n люм <n или l люм >l что и следует из сформулированного правила.
* Дж. Стокс (1819—1903) — английский физик и математик.

Основной энергетической характеристикой люминесценции является энергетический выход, введенный С. И. Вавиловым в 1924 г., — отношение энергии, излученной люминофором при полном высвечивании, к энергии, поглощенной им. Типичная для органических люминофоров (на примере раствора флуоресцина) зависимость энергетического выхода h от длины волны l возбуждающего света представлена на рис. 327. Из рисунка следует, что вначале h растет пропорционально l, а затем, достигая максимального значения, быстро спадает до нуля при дальнейшем увеличении l (закон Вавилова). Величина энергетического выхода для различных люминофоров колеблется в довольно широких пределах, максимальное ее значение может достигать примерно 80%.
Твердые тела, представляющие собой эффективно люминесцирующие искусственно приготовленные кристаллы с чужеродными примесями, получили название кристаллофосфоров. На примере кристаллофосфоров рассмотрим механизмы возникновения люминесценции с точки зрения зонной теории твердых тел. Между валентной зоной и зоной проводимости кристаллофосфора располагаются примесные уровни активатора (рис. 328). При поглощении атомом активатора фотона с энергией hn электрон с примесного уровня переводится в зону проводимости, свободно перемещается по кристаллу до тех пор, пока не встретится с ионом активатора и не рекомбинирует с ним, перейдя вновь на примесный уровень. Рекомбинация сопровождается излучением кванта люминесцентного свечения. Время высвечивания люминофора определяется временем жизни возбужденного состояния атомов активатора, которое обычно не превышает миллиардных долей секунды. Поэтому свечение является кратковременным и исчезает почти вслед за прекращением облучения.
Для возникновения длительного свечения (фосфоресценции) кристаллофосфор должен содержать также центры захвата, или ловушки для электронов, представляющие собой незаполненные локальные уровни (например, Л1 и Л2), лежащие вблизи дна зоны проводимости (рис. 329). Они могут быть образованы атомами примесей, атомами в междоузлиях и т. д. Под действием света атомы активатора возбуждаются, т. е. электроны с примесного уровня переходят в зону проводимости и становятся свободными. Однако они захватываются ловушками, в результате чего теряют свою подвижность, а следовательно, и способность рекомбинировать с ионом активатора. Освобождение электрона из ловушки требует затраты определенной энергии, которую электроны могут получить, например, от тепловых колебаний решетки. Освобожденный из ловушки электрон попадает в зону проводимости и движется по кристаллу до тех пор, пока или не будет снова захвачен ловушкой, или не рекомбинирует с ионом активатора. В последнем случае возникает квант люминесцентного излучения. Длительность этого процесса определяется временем пребывания электронов в ловушках.

Явление люминесценции получило широкое применение в практике, например люминесцентный анализ — метод определения состава вещества по характерному его свечению. Этот метод, являясь весьма чувствительным (примерно 10–10 г / см3), позволяет обнаруживать наличие ничтожных примесей и применяется при тончайших исследованиях в биологии, медицине, пищевой промышленностии т. д. Люминесцентная дефектоскопия позволяет обнаружить тончайшие трещины на поверхности деталей машин и других изделий (исследуемая поверхность покрывается для этого люминесцентным раствором, который после удаления остается в трещинах).
Люминофоры используются в люминесцентных лампах, являются активной средой оптических квантовых генераторов (см. § 233) и сцинтилляторов (будут рассмотрены ниже), применяются в электронно-оптических преобразователях (см. § 169), для создания аварийного и маскировочного освещения и для изготовления светящихся указателей различных приборов.
§ 246. Контакт двух металлов по зонной теории
Если два различных металла привести в соприкосновение, то между ними возникает разность потенциалов, называемая контактной разностью потенциалов. Итальянский физик А. Вольта (1745—1827) установил, что если металлы А1, Zn, Sn, Pb, Sb, Bi, Hg, Fe, Cu, Ag, Au, Pt, Pd привести в контакт в указанной последовательности, то каждый предыдущий при соприкосновении с одним из следующих зарядится положительно. Этот ряд называется рядом Вольта. Контактная разность потенциалов для различных металлов составляет от десятых до целых вольт.
Вольта экспериментально установил два закона:
1. Контактная разность потенциалов зависит лишь от химического состава и температуры соприкасающихся металлов.
2. Контактная разность потенциалов последовательно соединенных различных проводников, находящихся при одинаковой температуре, не зависит от химического состава промежуточных проводников и равна контактной разности потенциалов, возникающей при непосредственном соединении крайних проводников.
Для объяснения возникновения контактной разности потенциалов воспользуемся представлениями зонной теории. Рассмотрим контакт двух металлов с различными работами выхода А 1 и А 2, т.е. с различными положениями уровня Ферми (верхнего заполненного электронами энергетического уровня). Если A 1 <A 2 (этот случай изображен на рис. 330, а), то уровень Ферми располагается в металле 1 выше, чем в металле 2. Следовательно, при контакте металлов электроны с более высоких уровней металла 1 будут переходить на более низкие уровни металла 2, что приведет к тому, что металл 1 зарядится положительно, а металл 2 — отрицательно. Одновременно происходит относительное смещение энергетических уровней: в металле, заряжающемся положительно, все уровни смещаются вниз, а в металле, заряжающемся отрицательно, — вверх. Этот процесс будет происходить до тех пор, пока между соприкасающимися металлами не установится равновесие, которое, как доказывается в статистической физике, характеризуется совпадением уровней Ферми в обоих металлах (рис. 330, б).
Так как для соприкасающихся металлов уровни Ферми совпадают, а работы выхода А 1 и A 2 не изменяются (они являются константами металлов и не зависят от того, находятся металлы в контакте или нет), то потенциальная энергия электронов в точках, лежащих вне металлов в непосредственной близости к их поверхности (точки А и В на рис. 330, б), будет различной. Следовательно, между точками А и В устанавливается разность потенциалов, которая, как следует из рисунка, равна
(246.1)
Разность потенциалов (246.1), обусловленная различием работ выхода контактирующих металлов, называется внешней контактной разностью потенциалов. Чаще говорят просто о контактной разности потенциалов, подразумевая под ней внешнюю.
Если уровни Ферми для двух контактирующих металлов не одинаковы, то между внутренними точками металлов наблюдается внутренняя контактная разность потенциалов, которая, как следует из рисунка, равна






