Оборудование для ионной имплантации.
Общие сведения.
Преимущества ионного легирования перед термодиффузией (900-1300 °С)
1) Легирование атомами любых веществ независимо от предельной растворимости при любых температурах.
2) Создание в подложке скрытого слоя на некотором состоянии от поверхности подложки.
3) Получение неглубоких (до 1000 А (ангстрем)) легированных слоев в том числе ступенчатых.
4) Легирование подложки через защитный слой.
5) Легирование с высокой точностью глубиной и профилем распределение примесей в подложке путём изменения энергии и дозы вводимых ионов примесей.
К недостатком ионной имплантации можно отнести сложность оборудования и остаточные радиационные дефекты в подложке.
Установки ионной имплантации разделяют на три основных типа:
- малых и средних доз
- больших доз с интенсивными ионными пучками
- высокоэнергетические
В установках малых и средних доз интенсивность тока ионного пучка составляют от
единиц микроампер до 500-800 мкА.
В установках больших доз (сильноточных) - от 1 до 200 мА.
|
|
|
Оба типа установок работают в области энергий от 30 до 200 кэВ. Максимальная энергия высокоэнергетических установок может превышать 1 МэВ.
Установки ионной имплантации обычно состоят из источника ионов 1, магнитного масс-сепаратора 3, систем ускорения 6 и сканирования 8 пучка, приемной камеры 9 и вакуумной системы. Основным отличием этих установок является потенциал приёмной камеры, масс-сепаратора и источника ионов относительно друг друга.
Компоновки установок ионной имплантации: а - малых и средних доз, б - с разделением ионов по массам после ускорения, в - сильноточных,
г - высокоэнергетических, д - больших доз; 1 - источник ионов, 2 - система вытягивания и первичного формирования пучка, 3 - магнитный масс-сепаратор, 4 - высоковольтный модуль, 5 - регулируемая диафрагма, б - система ускорения, 7 - фокусирующая линза, 8 -пластины электростатического сканирования и отклонения пучка, 9 - приемная камера

В) г)
Наиболее широко используется установка малых и средних доз, энергия ионов которой не превышает 200 кэВ, а приемная камера находится под потенциалом земли и магнитная сепарация осуществляется до полного ускорения пучка. Энергия ионов в сепараторе низкая, габариты небольшие, малые магниты, маломощные источники питания электромагнитного сепаратора и ускорительной системы. Установку с разделением ионов по массам после ускорения обычно используют для исследовательских целей. Высокий ток нагрузки высоковольтного источника питания, а также увеличения вторичной электронной эмиссии, повышает опасность облучения рентгеновскими лучами.
|
|
|
- достоинством сильноточной установки является простая система управления и питания источника ионов и электромагнита, малое количество потребляемой энергии высокого напряжения, а недостатком - трудный доступ к приёмной камере, высокий потенциал на ней и сложность автоматизации загрузки — выгрузки пластин.
-Высокоэнергетическая установка позволяет, приложив высокий потенциал к приемной камере, получить сверхвысокую (до 500 кэВ) энергию ионов. При дальнейшем увеличении энергии ионов возникает сильное рентгеновское излучение.
-В установке больших доз источник ионов находится под высоким напряжением, полное их ускорение в системе первичного формирования и большие токи пучка, а также даёт возможность полной автоматизации всех режимов работы.
В качестве рабочих веществ в разрядную камеру источника ионов подают такие газы, как водород, гелий, аргон, азот или газообразные соединения ВFз,РНз и AsFe3. Используя твердые вещества, температура парообразования которых не превышает 1000 °С (олово Сп, галлий Ga, сурьму Сb), их предварительно нагревают, ионизируют пары и подают в источник ионов через натекатель, регулируя скорость испарения изменением температуры нагрева. Твердые вещества, температура парообразования которых превышает 1000 °С, сначала распыляют в атмосфере аргона или ксенона, а затем ионизируют в плазме этого газа.
Масс-сепараторы служат для выделения из общего ионного пучка ионов необходимой массы и заряда. Для экранирования рентгеновского излучения в электродах линз используют специальные материалы (например, свинцовую резину). Кроме того, рентгеновское излучение экранируют постоянными магнитами и металлическими экранами, устанавливаемыми непосредственно в системе однозазорного ускорения.
Наибольшая напряжённость магнитного поля на равновесной траектории составляет 100 кА/м (8000Э) что позволяет разделять ионы в диапазоне масс 1-200 а.е.м. на промежуточной энергии ионов 15 кэВ. Питание обмоток электромагнита осуществляется от стабилизированного источника питания. Магнитная сепарация приводит пучок в моноионное состояние определённого химического элемента с током от десятков до тысячи мкА. Масс-сепораторы на постоянных магнитах с ортогональными магнитными и электрическими полями с одновременным воздействием постоянного и переменного электрических полей. Сепарация ионного пучка основана на взаимодействии движущихся ионов с магнитными и электрическими полями под действием силы Лоренца F=q/c [V,B] сила Лоренца - на 1 элементарный носитель заряда q движущийся со скоростью v в магнитном поле индукцией В.
Фокусируют пучки независимо от массы ионов электростатическими квадрупольными (сдвоенными или строенными) или трехэлектродными линзами.
- Система ускорения (ускоритель) и формирования пучка представляет собой ускорительную трубку, из кольцевых стеклянных (керамических) изоляторов и металлических электродов, спаянных между собой. Расположением ускорителя относительно других элементов определяются конструкции и габариты установки, а также распределение высоких потенциалов по ее частям. Система сканирования обеспечивает равномерное легирование по всей пластине. В магнитном поле устройства сканирования ионный пучок склоняется на определённый угол. Поскольку отклонять необходимо пучок одинаково заряженных и имеющих одинаковые значения импульсов, то угол отклонения будет зависеть только от напряжённости магнитного поля и его протяжённости вдоль траектории ионов. Форма, размеры полюсных наконечников и межполюсного зазора обеспечивают однородность магнитного поля во всей области его действия на ионный пучок. Частота вращения барабана 20 об/мин. Этим обеспечивается механическое сканирование подложек в горизонтальной, относительно пучка области. После проведения имплантации необходим отжиг пластин с целью уничтожения радиационных дефектов. Лучший отжег - электо - лучевой, лазерный или галогенными лампами. Рентгеновское излучение - вторичные электроны набирают энергию свыше 300 к.э.в. чтобы этого не было высоковольтные системы делят на несколько блоков, а в ионопроводе размещают магнитные ловушки отклоняющие вторичные электроны в оси ионопровода и не позволяющие им набирать высокую энергию. Цилиндр Фарадея используют для измерения дозы и настройки ионной оптики до высокоэнергетического!!!!!!!!!!!. измерение дозы ионов осуществляется непосредственно с поверхности изолированного подложкодержателя 4 и с размещённой на нём подложки 5. в этом случае доза определяется общим током от зацитных экранов (корпуса цилиндра) и мишени к земле.
|
|
|
Установка «Везувий- ЗМ» малых и среди их доз, ток пучка которой равен от 10 до 1000 мкА, позволяет легировать полупроводниковые подложки диаметром 75, 100 и 150 мм ионами, обладающими энергией до 150 кэВ. Установка имеет устройство механического и электростатического сканирования пучка. Рабочими веществами являются трехфтористый бор, красный фосфор, металлические цинк и мышьяк. Производительность установки 400 подложек в час; неоднородность дозы имплантации <2 %.
К установке "Везувий- 5", предназначенной для имплантации подложек молекулярными ионами BF2, разработано устройство, работающее по принципу масс-сепарации и позволяющее получать на мишени пучки с энергией ионов 10—100 кэВ. Работа этого устройства состоит в отклонении пучка ионов BF2 заданной энергии на угол 7° на позицию легирования. Отделение молекулярных ионов BF2 от высокоэнергетических ионов бора осуществляется дисперсионной щелью шириной 40 мм, расположенной перед приемной камерой. Неоднородность дозы при легировании не превышает 4 %.
Установка "Везувий- 7М" ионной имплантации малых и средних доз предназначена для непрерывного режима работы в производстве МОП БИС, где требуется высокая воспроизводимость дозы легирования, и используется для имплантации ионов бора, фосфора и мышьяка в подложки диаметром 76, 100 и 125 мм. Установка оснащена двумя модифицированными источниками дугового разряда с катодом прямого накала, встроенными в масс-сепаратор, что способствует ее непрерывной работе без разгерметизации до 100 ч. Кроме того, два источника позволяют быстро чередовать имплантацию различных веществ. Введение в разрядную камеру специального отражателя повышает температуру плазмы источника и увеличивает выход ионов бора по отношению к ионам плазмообразующего газообразного вещества BF3.
|
|
|
В масс-сепараторе применены постоянные магниты малых габаритов и массы, обладающие стабильным и однородным полем. Масс-сепаратор рассчитан на разные углы поворота для ионов различных веществ (бора 90°, фосфора 60°) и соответствующий радиус поворота оптической оси пучка.
В установке использовано электростатическое двухкоординатное сканирование с частотой 30 - 2500 Гц
Дополнительные линзы на входе и выходе отклоняющей системы снижают нагрузки на высоковольтные блоки питания, уменьшают вторичную электронную эмиссию, снижает рентгеноопасность и нейтрализует пространственный заряд пучка в области его отклонения и сканирования.
производительность установки до 240 подложек в час при времени имплантации 7—10 с и дозах примерно 10 см~2, неоднородность - 1%.
Установка "Везувий-8" предназначена для имплантации больших доз (6,25 * 1015 ион /см2) ионов массы до 20 а.е.м. и током 2-5 мА при энергии ионов до 100 КэВ для подложек диаметром 75, 100, 150 мм. Ионный разряд возбуждается в магнитном поле напряжённостью Н=15 кА/м (1200 Э), что необходимо для повышения эффективности ионизации газов и паров рабочих веществ. Ионный пучок ускоряется и поступает в масс-сепаратор. Масс-сепаратор представляет собой электромагнит секторного типа с углом поворота пучка 110° радиусом равновесной траектории 300 мм и межполосным зазором 50 мм.
У с т а н о в к а «Везувий 9» используют для имплантации многозарядных ионов. При этом энергия однозарядных ионов фосфора, мышьяка, сурьмы составляет 0,6 МэВ. двухзарядных - 1.2 МэВ, а трехзарядных — 1.8 МэВ. Источник ионов позволяет получать пучки двухзарядных ионов этих веществ интенсивностью до 600 мкА, а трехзарядных —-до 150 мкЛ. Суммарное ускоряющее напряжение составляет 600 кВ. В установке использовано двухкоординатное механическое сканирование подложек диаметром 76 и 100 мм относительно неподвижного пучка ионов. В высоковольтной системе установки, разделенной на два блока, имеются магнитные ловушки, ограничивающие энергию вторичных электронов до 200 кэВ.
Установка "Везувий 9М" является модернизированным вариантом высокоэнергетической установки ионной имплантации "Везувип-9". Модернизация расширила технологические возможности и повысила надежность установки. Так. установка "Везувий-9М" оснащена более эффективными источниками многозарядных ионов, повышающими ток двухзарядных ионов фосфора, мышьяка и сурьмы до 400 мкЛ. Кроме того, они позволяют получить для имплантации ионы тяжелых элементов с кратностью заряда 4,5 и расширяют набор ионов, используемых для высокоэнергетической имплантации.

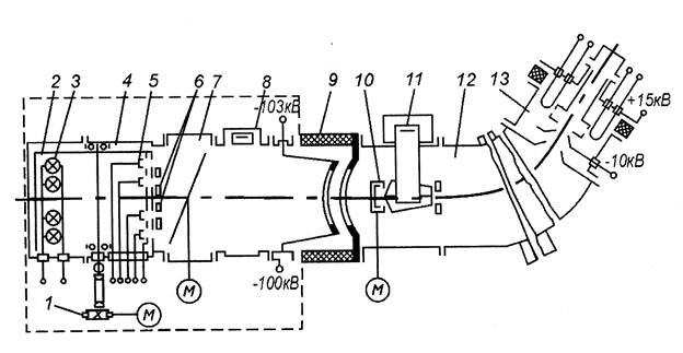
1 - привод вращения контейнера, 2 - нагреватель, 3 - контейнер с кассетами, 4 — приемная камера, 5 - дозиметр, 6 - полупроводниковая подложка, 7 - вакуумный щелевой затвор, 8 — азотная ловушка, 9 -система однозазорного ускорения, 10 - настроечный цилиндр Фарадея, 11 - устройство электромагнитного сканирования, 12 - электромагнитный масс-сепаратор, 13 - источник ионов

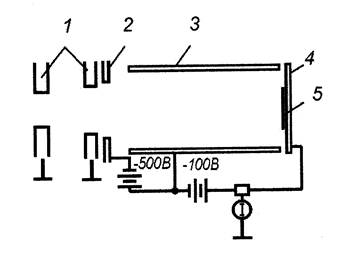
Цилиндр фарадея: 1, 2 - заземленная и подавляющая диафрагмы, 3 - корпус цилиндра, 4 - подложко-держатель, 5 - подложка

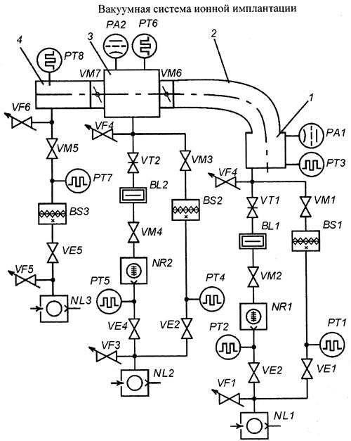
1- источник ионов
2 - ионопровод
3 - приёмная камера
4 - шлюзовая камера
NR - турбомолекулярный насос