1. Предварительно формируются оригиналы - это в 200 - 100 раз увеличенные топологические рисунки, одного модуля. ПО - в 5 - 10 раз увеличенные топологические рисунки, одного модуля.
Далее производится размножение размножение ПО на фотоповторителе, на очередном носителе информации - эталонном фотошаблоне. Далее изготавливают рабочие фотошаблоны с обратным изображением рисунка.
Рассмотрим конструктивные особенности, возможности и ограничения оборудования для изготовления применяемых в фотолитографии шаблонов ПО, ЭФШ,РФШ.
1) Оригинал изготавливают на автоматическом координатографе и вырезается на двухслойной пленке. Координатограф - устройство для вычерчивания или вырезания на крупногабаритных (1200x1200) стеклянных или пленочных подложках, покрытых непрозрачной пленкой, увеличенных изображений оригинала топологического чертежа. Основанием любого координатографа является стол, над которым по двум ортогональным координатам перемещается инструментальная головка с рабочим инструментом. В наиболее совершенных координатографах, например ЭМ-703, «Кардимат» управление перемещением рабочего инструмента осуществляется от ЭВМ.
|
|
|


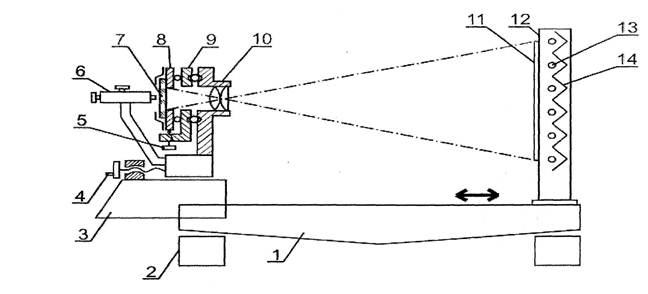
I - Станина (несколько метров) 2- Амортизаторы
3 - Пульт
4- Микровинт
5- Микровинт
6- Микроскоп
7- Фотопластина
8- Держатель
9- Каретка на шариковых направляющих
10- Объектив
II - Оригинал 12- Экран
13 - Люминесцентные лампы 14- Отражающий экран
Редукционная фотокамера предназначена для получения промежуточных
оригиналов фотографированием на фотопластину изображения оригинала с
уменьшением 1:10, 1:30. Установка обеспечивает нарушение заданных
размеров на ПО с погрешностью не хуже 1 мкм.
Объектив должен обладать высокой разрешающей способностью (300 - 500
лип/мм) и обеспечивать диаметр поля изображения 20-50мм. Качество
изображения (резкость, масштаб) контролируется с помощью микроскопа.






