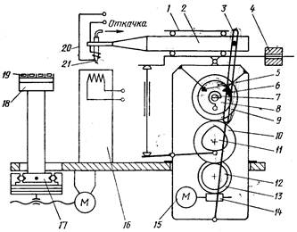
Установка монтажа кристаллов ЭМ-438А предназначена для монтажа кристаллов методом эвтектической пайки с ультразвуковым воздействием и является одной из первых установок этого типа, реализующих автоматический цикл работы. Принципиальная схема установки изображена на рисунке. Рабочий столик 16 оснащен устройством подогрева и системой подачи дискретных корпусов или отрезков лент с выводными рамками из кассет или системой протягивания сплошной ленты-носителя с выводными рамками. Столик 18 с установленной на нем кассетой с кристаллами 19 перемещается координатным приводом 17 так, что под инструментом 21, закрепленным в ультразвуковой головке, в начале каждого цикла обработки останавливается очередная ячейка кассеты с кристаллом. Инструмент опускается, включается вакуумная присоска, захватывает кристалл, затем инструмент перемещается в рабочую зону над столиком 16. Здесь кристалл опускается в корпус или на выводную рамку, установленные на столике и предварительно разогретые до температуры 523... 723 К (250... 450°С). Подачей тока в спираль 20 инструмент 21 также нагревается до 393... 573 К (120... 300°С), включается ультразвуковой генератор и производится процесс пайки. Вертикальные движения инструмент получает от электродвигателя 15, совершающего реверсивное вращение на один оборот в одну и другую стороны. При этом вращение передается через червяк 14 и червячное колесо 13, пару шестерен 12 и 10 на кулачок 11, толкатель которого поднимает и опускает сварочную головку.







