Сборка конических зубчатых передач

Одним из основных условий правильности зацепления конической зубчатой пере­дачи является совпадение вершин конических зубчатых колес.

Выполнение этого условия обеспечивается сборкой двух независимых размерных цепей (сборка и установка зубчатых колес на каждом валу).

Точность замыкающих звеньев чаще всего обеспечивается методом регулирования, поэтому для сборки таких соединений наибольшее удобство представляет введение под­вижного компенсатора. Однако, наличие такого компенсатора ведет к усложнению про­цесса сборки и часто заставляет использовать неподвижные компенсаторы (прокладки, шайбы и т.д.). Регулировка положения зубчатых колес может быть значительно упроще­на при использовании калибров.

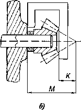
Обычно применяются два метода такой установки (рис. 8.5).


Рис. 8.5. Регулировка положения конических зубчатых колес с использованием калибров

При первом методе в отверстие корпуса вставляют оправку У, прикладывают ка­либр 2 и до упора в него окончательно устанавливается коническое колесо на первом валу. При таком выборе измерительной базы, при изготовлении зубчатого колеса необ­ходимо в жестких пределах обеспечивать выполнение размера К (рис. 8.5, а)

При втором методе колесо устанавливается по калибру от торца корпуса. Здесь не­обходимо выполнить размеры М и К, что требует соответствующего ужесточения этих размеров (рис. 8.5, б)

Второе зубчатое колесо вводится в зацепление с первым колесом, и перемещением его в осевом направлении добиваются требуемого бокового зазора между зубьями. Кон­троль бокового зазора при регулировании положения зубчатого колеса производится с помощью щупа или свинцовой пластинки. При проверке контакта по краске также мож­но судить о приемлемом или недостаточном зазоре в зацеплении и других погрешностей сборки (перекрещивании осей). При проверке конических колес на краску при провора­чивании их без нагрузки пятно контакта должно располагаться ближе к тонкому участку зуба. При приложении нагрузки в связи с деформациями зубьев пятно контакта распро­страняется в направлении более толстой части зуба, что обусловливает более благопри­ятные условия работы.

Сборка червячных передач

По назначению червячные передачи подразделяются на кинематические и силовые.

Кинематические передачи, обеспечивающие передачу точного соотношения, обыч­но изготавливаются по 3 - б-й степеням точности, а силовые по 5 - 9-й степеням точно­сти.

Для того чтобы червячные передачи могли выполнять свое служебное назначение, в процессе их сборки необходимо обеспечить:

1) боковой зазор в зацеплении червяка с колесом;

2) совпадение средней плоскости колеса с осью червяка;

3) требуемую точность углов пересечения осей вращения червяка и колеса.

Методы обеспечения первого требования те же, что и при обеспечении аналогич­ных условий при изготовлении цилиндрических зубчатых передач.

Наиболее распространенным методом совмещения средней плоскости червячного колеса с осью является метод регулирования осевого положения червячного колеса с использованием подвижных и неподвижных компенсаторов.

Требуемая точность углов пересечения осей вращения червяка и колеса обычно достигается методами полной и неполной взаимозаменяемости. При неполной взаимо­заменяемости можно воспользоваться регулированием положения наружных колец подшипников, приданием определенного направления эксцентриситетам их наружных поверхностей.

Правильность зацепления червячного колеса с червяком проверяют по краске. Краску наносят на винтовую поверхность червяка и при его проворачивании получают отпечатки на зубьях червячного колеса. При правильном зацеплении краска должна по­крывать поверхность зуба червячного колеса не менее чем на 50 - 60 %, а пятно контак­та должно располагаться по обе стороны оси симметрии зуба. При одностороннем рас­положении пятна на поверхности зубьев положение червячного колеса относительно червяка исправляют перемещением колеса в осевом направлении, а иногда и разворотом наружных колец подшипников червяка и вала червячного колеса, для направления экс­центриситетов колец в нужную сторону.

СБОРКА СОЕДИНЕНИЙ СО ШПОНКАМИ

 




Подборка статей по вашей теме: