Лекция №6
Внутрицеховый промышленный транспорт
Подача в цехи сборочно-сварочного производства материалов, заготовок, комлектующих, узлов и деталей, а также отгрузка готовой продукции осуществляется, как правило, автомобильным и (или) железнодорожным транспортом. Дальнейший грузопоток реализуется при помощи внутрицехового промышленного транспорта и транспортных систем механизированных поточных линий.
Основными видами внутрицехового промышленного транспорта являются:
- Грузоподъемные краны и машины;
- Электромобили (электрокары, электропогрузчики);
- Напольные передаточные рельсовые тележки;
- Конвейеры.
Внутрицеховый промышленный транспорт (в комплексе со съемными грузозахватными приспособлениями и производственной тарой) составляет целостную систему разгрузки ввозимых в цех материалов, заготовок, комлектующих, узлов и деталей, складирования, хранения, транспортирования по цеху, доставки к рабочим местам, установки при сборке, транспортировки (и кантовки) в процессе изготовления и отгрузки готовой продукции.
Эффективное использование всех видов промышленного транспорта достигается тогда, когда он соответствует характеру производства, типу выпускаемых изделий, их размерам, массе и иным критериям. При этом:
Все виды внутрицехового промышленного транспорта несмотря ни на какие меры являются средствами повышенной опасности, поэтому в обязательном порядке:
- должны эксплуатироваться в строгом соответствии с нормативными документами, руководствами и инструкциями по эксплуатации с безоговорочным соблюдением всех указанных в них мер безопасности. Перемещение всех передвижных средств должно сопровождаться работой световой и звуковой сигнализации;
- должны быть оборудованы специальными ключами-бирками, позволяющими обесточивать их в нерабочее время и исключить запуск случайными лицами;
- должны быть включены в систему планово-предупредительных ремонтов (ППР) со строгим соблюдением ее положений, в том числе графиков ППР;
- используемые во взрывоопасной среде должны изготавливаться во взрывозащищенном исполнении.
Грузоподъемные краны и машины.
Грузоподъемным краном называется машина циклического действия, предназначенная для подъема и перемещения в пространстве груза, подвешенного с помощью крюка или удерживаемого другим грузозахватным органом.
Грузоподъемной машиной называется подъемный механизм (устройство) циклического действия, предназначенный для перемещения в пространстве груза и (или) работников (однорельсовые тележки, тали, лебедки, крановые подъемники, самоходные порталы со специальными грузозахватными приспособлениями и т. п.).
Требования к устройству, изготовлению, установке, монтажу, демонтажу, наладке, эксплуатации, ремонту, реконструкции и модернизации грузоподъемных кранов и машин, их составных частей, грузозахватных органов, приспособлений, тары и люлек устанавливаются нормативно-правовым актом НПАОП 0.00-1.01-07 - «Правилами устройства и безопасной эксплуатации грузоподъемных кранов». Все, кто имеет какое-либо отношение к этому (конструкторы, изготовители, эксплуатационники, машинисты, подкрановые, ремонтники и т. п.), должны быть обучены и аттестованы по этим Правилам (с последующей переаттестацией и выдачей соответствующего удостоверения каждые три года).
Подавляющее большинство грузоподъемных кранов условно можно разделить на краны с грузоподъемной тележкой (которая всегда перемещается горизонтально) и грузоподъемной стрелой.
По типу подвески краны подразделяются на крюковые, электромагнитные, грейферные, клещевые и иные со специальными захватами.
Краны с крюковой подвеской являются универсальными и получили наибольшее распространение. (Начиная с 75 тонн – 2-рогие крюки). Захват грузов осуществляется съемными грузозахватными приспособлениями(СГП).
В машиностроительных цехах применяются, в основном, различные модификации универсальных кранов с крюковой подвеской с грузоподъемной тележкой: мостовые, козловые, полукозловые, подвесные, консольные, консольно-поворотные и т.п. Такие краны обладают стабильной грузоподъемностью в любой точке зоны обслуживания в отличие от стреловых, у которых грузоподъемность изменяется в зависимости от вылета стрелы.
Грузоподъемность кранов выбирается не только исходя из требований производственного процесса, то есть, необходимости обработки максимального по весу изделия, но и из необходимости подъема и перемещения при монтаже и ремонтах технологического оборудования и его съемных элементов.
Грузоподъемность кранов по ГОСТ 1575 может быть от 50 кг до 1000 тонн. Обычные скорости исполнительных механизмов:
- Скорости подъема груза – до 25-30 м/мин.
- Скорость передвижения тележек – до 35 – 50 м/мин.
- Скорость передвижения мостов – до 100 – 120 м/мин.
В зависимости от грузоподъемности и характера выполняемой работы скорости могут быть большими или меньшими.
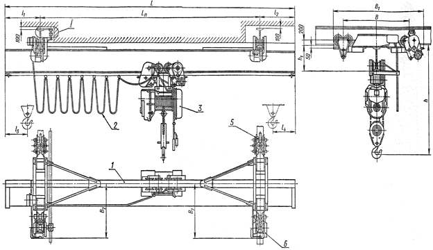
1.1 Наиболее широко применяются мостовые краны общего назначения, являющиеся наиболее универсальным и распространенным средством механизации различных производств, погрузочно-разгрузочных и транспортно-складских работ (рис. 6.1).

Рис. 6.1 Кран мостовой общего назначения.
1 – кабина управления; 2 – рельсовый путь; 3 – ходовое колесо механизма передвижения крана; 4 – концевая (одна из 2-х) балка моста крана; 5 – гибкий кабельный токоподвод к тележке; 6 – канатный барабан вспомогательного подъёма; 7 – канатный барабан основного подъёма; 8 – привод передвижения тележки; 9 – устройство для подвески и перемещения гибкого кабельного токоподвода; 10 – шахта для обслуживания троллей; 11 – главная (одна из 2-х) балка моста крана; механизм передвижения тележки; 13 - ограждение.
Мостовым краном называется грузоподъемная машина, передвигающаяся по рельсам на некотором расстоянии от земли (пола) параллельно ей и обеспечивающая перемещение груза в трех взаимно перпендикулярных направлениях.
Мостовые краны имеют максимально полную площадь обслуживания: всю зону перемещения крюковой подвески в форме параллелепипеда.
Мостовые краны могут устанавливаться в цехе в двух уровнях на независимых подкрановых балках с рельсами: более тяжелые (в меньшем количестве) – на верхнем, более легкие – на нижнем. Такая установка позволяет использовать легкие и тяжелые краны в любой зоне пролета независимо друг от друга.
Подвод электроэнергии к электрическим кранам может быть троллейным или кабельным.
Управление кранами – из крановой кабины или с пола (с подвесного пульта).
В качестве грузоподъемных тележек могут использоваться специальные тележки требуемой грузоподъемности или электротали (рис. 6.2) грузоподъемностью до 10 тонн.

Рис. 6.2 Электротали с управленим с пола и из подвесной кабины
1.2 К кранам мостового типа относятся также козловые краны (рис. 6.3) и мостовые перегружатели. При установке моста крана на 2-х (3-х, 4-х) высоких опорах, перемещающихся по рельсам, уложенным на уровне земли, получается козловой кран или (однотипный с ним) мостовой перегружатель.

Рис.6.3 Козловой кран.
1 – мост; 2 – нога; 3 – соединительная балка; 4 - балансирная тележка;
5 – кабельный барабан.
Обычно козловые краны обладают достаточно высокими скоростями перемещения моста, определяющими их производительность, оснащены крюковой подвеской и предназначаются для работы со штучными грузами на складах и производства монтажных работ, имеют грузоподъемность до 800 тонн, пролет до 100 м и высоту подъема крюка до 50 м. Используются на открытых (в основном – складских) площадках при цехах.
Мостовые перегружатели обычно предназначаются для для работы с массовыми грузами и снабжаются специальными грузозахватными приспособлениями (грейферами, устройствами для захвата контейнеров и т. п.).
1.3. Подвесные краны изготавливаются с электроталями грузоподъемностью до 10 тонн, в зависимости от величины пролета 2-х или 3-х опорными. Перемещаются по закрепленным на металлоконструкциях ферм пере-крытий специальным ходовым двутаврам.Управляются с пола при помощи подвесных пультов (рис. 6.4).

Рис. 6.4 Подвесной 2-х опорный кран.
1 - мост (главная балка крана); 2 – гибкий кабельный токоподвод к электротали; 3 – электроталь; 4 – троллеи токоподвода к крану; 5 – каретка механизма передвижения крана неприводная; 6 - каретка механизма передвижения крана приводная.
1.4. Очень эффективным является использование на нижнем уровне (под мостовыми кранами ) полукозловых кранов с электроталями или грузовыми тележками (рис. 6.5), в том числе, кранов с выдвижной консолью (рис. 6.6 ), а также консольных кранов (рис. 6.7), частично перекрывающих пролет по ширине. Существенно разгружая краны верхнего яруса от операций с более мелкими (легкими) грузами, краны нижнего яруса управляются с пола при помощи подвесных пультов обученными сборщиками, сварщиками, иными рабочими, выполняющими основные операции, не требуют специальных машинистов и подкрановых, обладают лучшим доступом для ремонта.
Краны с выдвижной консолью (рис. 6.6) используются там, где есть необходимость для подачи различных грузов в закрытые сверху пространства (горизонтальные емкости, соседние пролеты, под перекрытия и т. п.) и являются эффективным средством механизации транспортных операций.

Рис. 6.5 Полукозловой кран.

Рис. 6.6 Кран с выдвижной консолью.

Рис. 6.7 Консольный кран.
Схема расположения в пролете кранов различных типов приведена на рис. 6.8.

Рис. 6.8 Схема расположения в пролете мостовых, полукозловых и
консольных кранов.
1.5. Консольно-поворотные краны имеют ограниченную (круговую или секторную) зону обслуживания, снабжаются электроталью грузоподъемностью до 10 тонн, имеют ручной или электромеханический механизм поворота. Управляются с пола при помощи подвесных пультов (рис. 6.9).

Рис. 6.9 Консольно-поворотный кран г/п 3,2 тонны.
1 – колонна: 2 – механизм поворота консоли; 3 – штанга поворотная;
4– консоль поворотная; 5 – конечный выключатель; 6- линейка; 7 – контргруз; 8 – таль электрическая г/п 3,2 тонны
1.5 Для обеспечения безопасной эксплуатации оборудования, взаимоувязки в работе между лицами, непосредственно управляющими механизмами и ремонтным персоналом, недопущения несанкционированного включения механизмов посторонними лицами должна применяться бирочная система: «Ключ-бирка» или «Жетон-бирка» или «Вилка-бирка» (далее – ключ-бирка), размыкающие (при удалении с пульта управления) контакты в цепи управления двигателем привода, что не дает возможности его не санкционированного включения. Бирочная система применяется во всех видах оборудования, но в первую очередь, в оборудованиивнутрицехового промышленного транспорта, являющегося, несмотря на все меры предосторожности, источником повышенной опасности.
Ключ-бирка должна храниться у оператора, управляющего механизмом, и передаваться из смены в смену. Пускать в работу механизм при отсутствии ключа-бирки не допускается. При ремонтах оборудования ключ-бирка должна находиться у ремонтного персонала.
Эксплуатация и ремонт грузоподъемных кранов должны производиться в строгом соответствии с НПАОП 0.00-1.01-07, при этом:
- Перемещение всех передвижных кранов должно сопровождаться работой световой и звуковой сигнализации.
- Ремонт кранов проводится на специально оборудованных ремонтных площадках в концах пролетов цехов. При этом под площадками не допускается выполнение каких-либо иных работ, нахождения людей.
- В связи с тем, что при ремонте «средних» кранов крайние оказываются «запертыми» на ремонтных площадках в торцах пролетов, а оборудовать ремонтные площадки по середине пролетов технологически невозможно, средние краны необходимо эксплуатировать менее интенсивно, или выбирать их с запасом грузоподъемности и более тяжелым режимом работы.
- Наиболее эффективный ремонт грузоподъемных кранов – при их снятии с подкрановых балок и установке внизу на специальном ремонтном стенде. Это возможно при установке специальных эффективных средств механизации демонтажа (монтажа) любого крана находящегося в пролете в специально отведенном для этих целей месте без прерывания работы остальных кранов.
1.6 В качестве грузоподъемной машины можно рассматривать портальную тележку для транспортировки листов в горизонтальном положении (рис. 6.10) для перевозки и укладки листов массой до 5-ти тонн со скоростью 60 м/мин. Зона перемещения таких тележек должна быть ограждена от несанкционированного проникновения людей

Рис. 6.10 Портальная тележка для транспортирования листов.
1 – портальная рама; 2- каретка подъёмная; 3 – траверса; 4 - электромагнитный захват; 5- электропривод перемещения тележки; 6 – гидроцилиндр подъема каретки; 7 – станция гидропривода.
2. Электромобили (электрокары, электропогрузчики);
Электромобили – электрокары и электропогрузчики с приводными электродвигателями, работающими от аккумуляторов – широко используются как универсальные транспортные средства для внутрицеховых перевозок, а электропогрузчики еще и для погрузочно-разгрузочных работ.