Подкладка в одежде необходима для обеспечения следующих функций:
· удобства надевания и снятия изделий. Поэтому подкладка чаще всего выполняется из материалов с гладкой поверхностью;
· предотвращения истирания изделия с изнаночной стороны и защиты швов от осыпания;
· обеспечения формоустойчивости основных деталей. Это особенно важно при наличии подкладки в изделиях из трикотажного полотна, например, юбка, брюки, где подкладка строится несколько уже по ширине;
· обеспечения эстетического вида изнаночной стороны изделия. В последние годы детали подкладки часто выполняются из набивных, ярких по цвету материалов. Используются контрастные канты, фирменные знаки, большое количество карманов и т.д.;
· улучшения теплозащитных свойств одежды.
Подкладка в изделиях может выполняться как из традиционных однослойных подкладочных материалов, так и из стеганых, пледовых и трикотажных материалов и пакетов. Учет свойств материалов при определении размеров и формы деталей подкладки рассмотрен ниже.
|
|
|
Чертежи лекал подкладки разрабатывают по лекалам соответствующих деталей из основной ткани. Общая схема разработки лекал подкладки выглядит следующим образом:
· выбор способа членения деталей подкладки на части и определение способа ее формообразования;
· определение величин перемещений конструктивных точек лекал из основной ткани для преобразования их в лекала деталей подкладки;
· построение чертежей лекал деталей подкладки;
· оформление лекал деталей подкладки.
При выборе способа членения деталей подкладки учитывается конфигурация лекал деталей из основного материала, а также методы обработки изделия с учетом технологичности и экономичности конструкции изделия.
Так, вертикальные членения подкладки могут совпадать с вертикальными членениями деталей из основной ткани. Однако в некоторых случаях притачные бочки, имеющиеся в конструкциях из основной ткани, в деталях подкладки могут отсутствовать и заменяться вытачками по талии. В этом случае в талиевую вытачку подкладки забираются излишки ткани по ее ширине. Возможно также оформление прогиба в области талии детали подкладки по линии притачивания ее к подборту.
Средний шов спинки, боковые швы, швы соединения бочков с полочками, передний и локтевые швы рукава должны совпадать с аналогичными швами основных деталей. Это исключает пролегание швов в изделиях из плащевых и костюмных тканей, а также способствует сохранению силуэтной формы изделия. В некоторых случаях, чтобы избежать излишней толщины шов притачивания бочка к полочке смещается в сторону бочка на 2,0 см. Горизонтальные членения в виде кокеток на подкладке чаще всего отсутствуют. Возможно проектирование подкладки отрезной по линии талии для прилегающего силуэта.
|
|
|
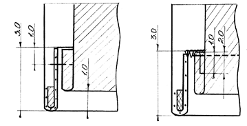
По способу соединения с линей низа подкладка может быть притачной и отлетной. При этом обработка отлетной подкладки по низу может быть разнообразной в зависимости от вида изделия и материалов. На рисунке 12.7 приведены способы обработки подкладки по низу и соединения ее с изделием.
![]() | Рисунок 12.7 - Способы обработки низа подкладки и соединение ее с деталями из основной ткани: а – притачная подкладка; б - отлетная подкладка в пальто |
При разработке конструкций подкладки в женской одежде наличие нагрудной вытачки в основных деталях (в том числе перенесенной в рельефы, кокетки и т.д.) должно учитываться при определении способа формообразования подкладки полочки.
В детали подкладки полочки нагрудная вытачка может быть переведена в складочку по срезу соединения подкладки переда с подкладкой бочка переда. Часть раствора или весь раствор нагрудной вытачки может быть переведен в посадку по срезу притачивания подкладки к подборту. Наконец, нагрудная вытачка на полочке может сохраняться, однако ее рационально располагать от среза проймы, т.к. этот срез наиболее близко расположен к центру груди.
Для спинки плечевая вытачка может заменяться складочкой по плечевому срезу или посередине горловины.
Посадка по окату рукава подкладки, как правило, меньше, чем для детали втачного рукава из основной ткани.
На рисунке 12.8 приведены некоторые схемы построения деталей подкладки на примере женского пальто с втачным рукавом.
При определении величин перемещений конструктивных точек по длине и ширине деталей при построении чертежей лекал подкладки используются технологические припуски, которые учитывают:
· различную усадку основной и подкладочной тканей;
· различную растяжимость основной и подкладочной тканей;
· различную способность к формообразованию основной и подкладочной тканей;
· толщину материалов пакета конструкции;
· величину подгиба низа и способ соединения подкладки с изделием;
· необходимую посадку подкладки на некоторых участках при соединении ее с изделием.

Рисунок 12.8 - Пример построения деталей подкладки женского жакета
При определении длины деталей подкладки необходимо учитывать разноусадочность основных и подкладочных материалов и методы технологической обработки по низу изделия (рисунок 12.7).
Сначала устанавливается разность в длине детали подкладки и детали из основной ткани с учетом метода соединения их по низу изделия. Различается подкладка притачная и отлетная по низу.
Длина деталей притачной подкладки определяется с учетом ее напуска, а также положения низа подкладки по отношению к низу изделия. При наличии шлиц по среднему срезу или боковым срезам предусматривается дополнительный припуск на посадку при притачивании подкладки к припуску шлицы. Величина дополнительного удлинения составляет 0.5 ÷ 0.7 см. Предусматривается также посадка при соединении подкладки с внутренним срезом подборта. Первоначально определяется длина подкладки спинки, а затем бочков и полочки. Для рукава расчет уровня низа подкладки выполняется аналогично. Положение линии низа подкладки определяется относительно положения низа деталей из основной ткани (рисунок 12.8).
Для притачной подкладки используется формула:
Р = (А + Б) – (В + Г), где
Р – разность длин лекал из основного и подкладочного материалов, см;
А – величина подгиба низа детали из основного материала, см;
Б – расстояние между линиями подгиба низа в готовом изделии (обычно это 1,0 см), см;
В – величина напуска (складочки) подкладки, см;
|
|
|
Г – величина шва притачивания подкладки по низу изделия, см.
Затем определяется разноусадочность по длине деталей. Используется формула:
Ру = (Дд х Уп)/100 – (Дд х Уо)/100, где
Ру – разность по длине деталей, см;
Дд- длина детали из основной ткани, см;
Уп- усадка подкладочной ткани,%;
Уо – усадка основной ткани, %.
Окончательная длина спинки и рукава из подкладочного материала уточняется с учетом разницы в усадочной способности материалов (Ру). Таким образом, для притачной подкладки длина подкладки спинки и рукава обычно меньше длины этих деталей из основной ткани.
Если в изделии предусмотрена отлетная подкладка, разница ее длины по отношению к длине детали из основной ткани определяется аналогично. Принимаются в расчет величины припусков с учетом обработки изделия.
Длина деталей подкладки бочка и полочки устанавливается с учетом уравнивания боковых срезов бочка и полочки с одноименными срезами спинки. Длина подкладки нижней части рукава, а также локтевых и передних срезов рукава устанавливается с учетом длины одноименных срезов верхней части рукава. Для подкладки рукав предусматривается дополнительный припуск по окату в нижней части на огибание шва втачивания рукава.
Припуски по ширине детали подкладки необходимы для обеспечения свободы движений при носке изделия. Кроме того, учитываются различия в растяжимости основной ткани и ткани подкладки по утку, а также технология соединения подкладки с изделием.
Разность в растяжимости учитывается для верхних опорных участков деталей подкладки до линии талии, так как здесь действуют наибольшие растягивающие усилия в одежде.
Разность растяжимости основной и подкладочной ткани по утку определяется по формуле:
Рр = Шд*Ро / 100 – Шд * Рп/100,
где Рр – разность растяжимости по ширине детали, см;
Шд – размер детали из основной ткани, см;
Рр – растяжимость основной ткани, %;
Рп – растяжимость подкладочной ткани, %.
Принято считать, что для костюмных тканей средняя растяжимость основной ткани составляет 6%, а подкладочной – 4%.
|
|
|
В нижней части изделия ширина деталей притачной подкладки уравнивается с шириной одноименных деталей из основной ткани или больше ее на 0,5 см для учета некоторой посадки среза подкладки при притачивании к низу изделия, например, для пальтовых тканей.
Для отлетной подкладки ее ширина по низу может быть меньше. Это, в частности, учитывается для расклешенных изделий, например, пальто, плащ и т.д. В этом случае ширина подкладки по низу заужается на половину величины фалд (дополнительного расширения деталей
При проектировании припуска в верхней части опорного участка полочки учитывается кроме разности в растяжимости основного и подкладочного материалов, также посадка, которая проектируется по шву притачивания подкладки к внутреннему срезу подборта. Для проектирования посадки изготавливается шаблон детали подкладки, который разрезается и разводится на участках линии груди, талии и уровня бокового кармана. Величина разведения устанавливается с учетом того, что норма посадки при притачивании подкладки к внутреннему срезу подборта составляет 1% от длины этого среза. С учетом прессования и сильного пропаривания этого участка полочки величина посадки увеличивается, примерно, 1,5% от длины внутреннего среза подборта.
По внутреннему срезу подборта предусматривается заход подкладки за линию внутреннего среза подборта с учетом шва притачивания 1,0 см., т.е на 2,0 см. Однако учитывая создание дополнительной свободы облегания в области груди этот заход составляет 2,5 см.
Порядок действий при построении чертежей лекал подкладки следующий:
· на бумагу переводятся контуры лекал основных деталей. Для полочки на лекало переводится внутренний срез подборта;
· при построении чертежей лекал подкладки величины дополнительных припусков откладываются чаще всего по вертикали и горизонтали относительно конструктивных точек лекал из основной ткани. Положение вертикали совпадает с направление нити основы на деталях.
По срезу притачивания подкладки к подборту выделяют четыре участка, на которых проектируют различную посадку подкладки. Первоначально надсечки ставят по внутреннему срезу подборта. Первую (верхнюю) надсечку размечают вниз от линии раскепа подборта на расстоянии, примерно, 10 см, а нижнюю на расстоянии 20 ÷ 35 см вверх от линии низа. Промежуточные надсечки ставят по внутреннему срезу подборта в местах максимальной кривизны.
При проставлении надсечек по бортовому срезу подкладки измеряют расстояние между соответствующими надсечками по внутреннему срезу подборта и увеличивают это расстояние на величину посадки.
Оформление лекал подкладки аналогично оформлению лекал из основной ткани. Отличительной особенностью является нанесение на лекала подкладки рукава мест допустимых надставок. Однако, следует отметить, что при изготовлении высококачественных изделий наличие надставок на подкладке рукава не допускается. Места контрольных измерений на детали подкладки не наносятся.
Направление нитей основы в деталях подкладки совпадает с их положением в деталях из основной ткани.
При построении подкладки для изделий с рукавом покроя реглан и цельнокроеного, членения подкладки могут соответствовать покрою основных деталей, но могут и отличаться от них. Обычно используются членения, характерные для рубашечного покроя рукава (рисунок 12.9).

Рисунок 12.9 – Схемы построения лекал подкладки для покроев реглан и цельнокроеный (без припусков на швы)







