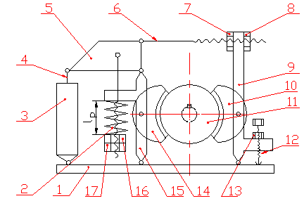
1. Регулировку момента Tm, создаваемого тормозом, осуществляют установкой расчетной длины lр пружины 2 гайкой 16 и контргайкой 17.
2. Регулировку суммарного отхода тормозных колодок от тормозного шкива осуществляют гайками 7 и 8.
3.Регулировку одинаковых отходов колодок от шкива осуществляют винтом 12, ограничивая отход рычага 9 до упора винтом 12 в основании 1 таким образом, чтобы отход колодки 10 составлял половину суммарного отхода колодок. По окончании регулировки винт 12 стопорят контргайкой 13.

![]() |
Рис.4.6.
Рис.4.7.
Конструкция электрогидравлического толкателя представлена на рис.4.8.

Рис.4.8.
1-корпус; 2- внутренний цилиндр; 3- шток; 4- поршень; 5- центробежный насос; 6- электродвигатель.







