Определение индекса Рога производят путем быстрого нагревания, при постоянном давлении, смеси 1 г испытуемого угля крупностью 0,2 мм, содержащего не менее 40% класса 0,1 - 0,2 мм, и 5 г отощающей добавки, с последующим измерением прочности коксового остатка.
3ольность испытуемого угля должна быть не выше 10%, более зольный уголь предварительно обогащается.
В качестве отощающей добавки применяют антрацит с зольностью Ас не более 4% и выходом летучих Vdaf 5,0 - 6,5% -, крупность частиц антрацита от 0,3 до 0,4 мм[15].
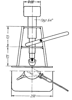
Навеску смеси угля и антрацита перемешивают в тигле, покрывают ее кружком из асбеста, накладывают на кружок стальной грузик (весом 110 - 115 г) и помещают тигель на 30 сек под пресс (рис. 26) для уплотнения смеси под давлением 6 кг. Затем тигель закрывают крышкой (не вынимая из него грузика) и ставят на металлический противень, который помещают в предварительно нагретую муфельную печь, где нагревают навеску в течение 15 мин при температуре 8500 С.
Вынув тигель из печи, его ставят на асбестовую плиту и охлаждают в течение 45 мин при комнатной температуре, а затем помещают в эксикатор. После охлаждения отсеивают от образовавшегося в тигле коксового остатка частицы крупностью <1 мм и производят трехкратное (по 5 мин) истирание его в барабане, отсеивая каждый раз от кокса частицы <1 мм и взвешивая надрешетный продукт.
|
|
|
Рис. 26. Пресс для уплотнения навески при определении индекса Рога |
Барабан (рис. 27) имеет внутренний диаметр 200 мм; к внутренним стенкам его приварены две симметрично расположенные полосы для подъема и сбрасывания материала при вращении барабана. Скорость вращения барабана 50±2 о6/мин.
Рис. 27. Барабан для истирания кокса при определении индекса Рога |
Индекс Рога вычисляют по формуле
RI = l00/3G[((G1+G4)/2)+G2+G3],
где G - вес всего коксового остатка, полученного в тигле, г;
G1 - вес коксового остатка размером более 1 мм до начала истирания в барабане, г;
G2- то же, после первого истирания, г;
G3- то же, после второго истирания, г;
G4 - то же, после третьего истирания, г.
Индекс Рога определяют в двух параллельных навесках угля. Допустимые расхождения в результатах параллельных определений: при RI менее 20 – ±3; при RI более 20 – ±5.
Рис. 26. Пресс для уплотнения навески при определении индекса Рога
Рис. 27. Барабан для истирания кокса при определении индекса Рога