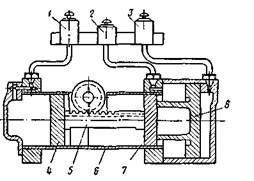
На одной из боковин каркаса укреплен пневматический трехпозиционный привод
(рис. 28), состоящий из одного ступенчатого цилиндра 6, трех поршней 4,7, 8 и одной зубчатой рейки 5.
Подача сжатого воздуха в цилиндр привода и выпуск его в атмосферу производятся двумя включающими 2,3 и одним выключающим / вентилями.
Поршни скреплены между собой зубчатой рейкой, которая входит в зацепление с шестерней, сидящей на кулачковом валу.
|
Привод пневматический переключателя ПКГ-13
Включающие и выключающий вентили производят подачу воздуха в цилиндры, приводя в движение поршни, а вместе с ними зубчатую рейку и кулачковый вал. Вращение кулачкового вала посредством зубчатой передачи, расположенной со стороны привода, сообщается блокировочному барабану, который при этом замыкает соответствующие контактные пальцы.
Проверка переключателей по пунктам 1, 2, 4, 5, 6, 7 технических требований производится при периодических ремонтах.






