Переключатель кулачковый групповой ПКГ-040-01

Технические требования

Технические данные

1. Номинальное напряжение......... 3 000 в

2. Ток длительный контакторного элемента.. 500 а

3. Номинальное давление сжатого воздуха для

работы пневматического привода...... 5 am

4. Номинальное напряжение цепи управления 50 в

5. Номинальный ток блокировочных пальцев. 5 а

6. Время проворота вала........... 1,7—2 сек

1. Разрыв контактов............. 24—27 мм

2. Провал контактов............. 10—12»

3. Начальное контактное давление...... 4,5—9 кг

4. Конечное контактное давление....... 14—18»

5. Контактное давление блокировочных пальнем 1—2,5»

6. Аппарат должен четко работать при давле­нии сжатого воздуха............ 3,5 am

7. Испытательное давление сжатого воздуха для проверки привода на утечку........ 7 am

8. Напряжение переменного тока (частота 50 гц) для испытания изоляции силовых цепей

в течение 1 мин.............. 9 000 в

9. Напряжение переменного тока (частота 50 гц) для испытания изоляции цепи управления

в течение 1 мин.............. 800»

Конструкция и принц и ц действия.

Переклю­чатель ПКГ-13 состоит из контакторных элементов, укрепленных на сварном каркасе, кулачкового вала с изоляционными шайбами, пневматического привода и блокировочного устройства.

Контакторный элемент ПКГ по конструкции сходен с пневма­тическим контактором, но не имеет индивидуального пневматиче­ского привода.

Переключение контакторных элементов производится кулачко­выми шайбами, насаженными на стальной шестигранный вал.


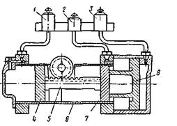
Переключатель групповой кулачкопый ПКГ-13:

/—контакторный элемент; 2—перегородка; 3— рама; 4 —кулачковый вал; 5 — пальцы контактные; б — блокировочный барабан; 7 —привод пневматический.

На одной из боковин каркаса укреплен пневматический трехпозиционный привод

(рис. 28), состоящий из одно­го ступенчатого цилиндра 6, трех поршней 4,7, 8 и одной зубчатой рейки 5.

Подача сжатого воздуха в цилиндр привода и выпуск его в атмосферу производятся дву­мя включающими 2,3 и одним выключающим / вентилями.

Поршни скреплены между собой зубчатой рейкой, кото­рая входит в зацепление с ше­стерней, сидящей на кулачковом валу.

Привод пневматический переключателя ПКГ-13

Включающие и выключающий вентили производят подачу воздуха в цилиндры, приводя в движение поршни, а вместе с ними зубчатую рейку и кулачковый вал. Вращение кулачкового вала посредством зубчатой передачи, расположенной со стороны привода, сообщается блокировочному барабану, который при этом замыкает соответствующие контактные пальцы.

Проверка переключателей по пунктам 1, 2, 4, 5, 6, 7 техниче­ских требований производится при периодических ремонтах.

Назначение и технические дан­ные.

Групповой переключатель ПКГ-040 предназначен для переключения тяговых электродвигателей с после­довательно-параллельного на парал­лельное соединение. Технические данные переключателя следующие:

Номинальное напряжение, В.-. 3000

Номинальный ток контакторно-го элемента, А................. 500

Номинальное давление сжатого воздуха для работы пневматиче­ского привода, кПа............. 500

Номинальное напряжение цепи управления, В.................. 50

Номинальный ток вспомогатель­ных контактов, А............... 5

Номинальное время переключе­ния, с.......................... 1—2,5

Раствор главных контактов, мм 24—27

Провал главных контактов, мм 10—12

Начальное нажатие главных

контактов, Н................... 45—90

Конечное нажатие главных кон­тактов, Н...................... 140—180

Нажатие вспомогательных кон­тактов, Н...................... 15—30

Наименьшее давление сжатого воздуха для нормальной работы аппарата, кПа................. 350

Начальное давление сжатого воз­духа для проверки пневматическо­го привода ка герметичность, кПа 675

Напряжение переменного тока частотой 50 Гц для испытания изо­ляции в течение 1 мин, В:

силовой цепи................ 9500

цепи управления............. 1500

Масса, кг.................... 231





Подборка статей по вашей теме: