Общие требования к монтажу сборных конструкций сооружений. Монтаж начинают после инструментальной проверки соответствия проекту планового и высотного положения монолитного днища с пазами для установки стеновых панелей, а также фундаментов и других элементов. Вне зависимости от принятого способа и метода монтажа конструкций необходимо обеспечить надежную их устойчивость. При монтаже различных элементов выполняют следующие операции: подготовку элемента к монтажу, строповку, очистку места установки и устройство постели, подачу элемента, а также перемещение его при установке, закрепление в проектном положении. Строповку элементов следует производить в местах, указанных в проекте, и обеспечивать подачу их к месту установки в положении, близком к проектному. Приемку элемента монтажники производят в тот момент, когда его останавливают над местом установки на высоте не более 30 см, после чего его разворачивают и устанавливают в проектное положение по принятым ориентирам (рискам, штырям, упорам, граням и т.д.). Приемку монтажных работ производят после полного закрепления всех конструктивных узлов и приобретения бетоном замоноличивания стыков проектной прочности.
|
|
|
Технология монтажа сооружений. При возведении комплексов водопроводных и канализационных сооружений монтируют камеры реакции (хлопьеобразования), горизонтальные отстойники, фильтры, блоки очистных сооружений, резервуары чистой воды, аэротенки, биофильтры и другие прямоугольные емкостные сооружения.
Монтаж камер реакции осуществляют чаще всего комбинированным методом, при котором стеновые панели монтируют раздельно, а остальные элементы внутри камеры – комплексно. Монтаж камеры из панелей с опорной пятой начинают после устройства бетонной подготовки. Затем бетонируют днище и после набора им необходимой прочности устанавливают стойки и струенаправляющие перегородки камеры.
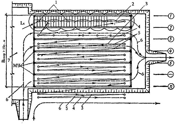
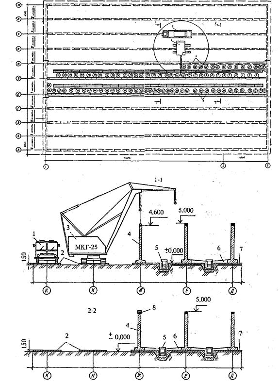
Монтаж горизонтальных отстойников с учетом значительных размеров их в плане осуществляют кранами с передвижением их по бетонной подготовке или днищу вдоль монтируемых стен (рис. 7.8). Отстойники монтируют как раздельным, так и комплексным методом, при котором стеновые панели и плиты покрытия коридоров устанавливают за один проход крана. Пример монтажа отстойника, состоящего из 10 коридоров шириной по 6 м, приведен на рис. 7.9. Монтаж ведут с транспортных средств, причем монтаж панелей начинают со среднего коридора (в осях «Е»-«Д»), а затем ведут кольцевыми симметричными захватками с передвижением крана вокруг смонтированных коридоров. При такой организации работ после монтажа средних коридоров в них ведут работы по замоноличиванию стыков, торкретированию монолитных участков и др. Монтаж стеновых панелей на III... IV захватках осуществляют после выполнения необходимых работ на предыдущих захватках, в том числе по замоноличиванию стыков, устройству монолитного пояса, монтажу стеновых панелей перегородок по оси 2, технологических трубопроводов и плит покрытия.
|
|
|
При раздельном методе монтажа горизонтальных отстойников вначале одним краном большой грузоподъемности монтируют стеновые панели коридоров, а другим (вслед за ним) меньшей грузоподъемности - плиты покрытия. Краны в процессе монтажа панелей и плит двигаются вдоль коридоров «змейкой» и используются по своей грузоподъемности более эффективно. При раздельном методе монтажа коридоров стыки панелей замоноличивают до установки плит покрытия. Последовательность монтажа стеновых панелей при этом следующая. Первыми устанавливают угловые (маячные) панели, которые выверяют, а затем по ходу движения крана монтируют остальные панели. После выверки производят «прихватку» панелей друг к другу электросваркой закладных деталей и арматурных выпусков.

Рис. 7.8 – Принципиальная схема монтажа горизонтального отстойника
1 - стоянки крана, 2 - ось движения крана при монтаже стеновых панелей первой секции (коридора), 3 - то же, второй и последующих секций, 4 - ось движения крана при монтаже плит покрытия, 5 - обратный ход крана, 6 - ось движения транспорта, 7 - котлован для здания фильтров, МУ - монолитные участки, LK - вылет крюка крана

Рис. 7.9 – Схема организации монтажа горизонтального отстойника гусеничным краном
1 - панелевоз, 2 - временная дорога из сборных железобетонных плит, 3 - монтажный гусеничный кран, 4 - стеновые панели коридоров, 5 - опалубка труб для отвода осадка, 6 - монолитное днище, 7 - бетонная подготовка, 8 - опалубка монолитного железобетонного пояса
Монтаж фильтров часто затрудняется расположением их внутри здания и необходимостью загрузки их фильтрующими материалами. При строительстве водоочистных станций (ВДС) монтируют фильтры как однорядные, так и двухрядные. Схема монтажа однорядных фильтров приведена на рис. 7.10. Фильтры сооружают в два этапа (цикла): нулевой и основной. В период нулевого цикла (рис. 7.10, а) выполняют земляные работы, устраивают фундаменты под колонны здания фильтров и бытовые помещения, а также монолитные днища ячеек в здании. Монтаж каркаса здания и самих ячеек фильтров (основной цикл) (рис. 7.10, б) ведут в такой последовательности: вначале монтируют каркас здания, а затем ячейки.
Монтаж колонн, ферм и плит покрытия здания ведут с помощью гусеничного крана, перемещаемого по днищу фильтров (рис. 7.10, б - г) при доставке элементов в зону крана. Затем устанавливают технологическое оборудование, трубопроводы и задвижки. Поскольку здание смонтировано полностью (включая покрытие), для монтажа фильтров применяют гусеничный кран с укороченной стрелой, передвигающийся по днищу фильтров (рис 7.11, а). Замоноличивание стыков, монтаж дренажных и переливных лотков часто выполняют параллельно с монтажом панелей ячеек, после чего производят их гидравлические испытания. Однако, одновременный монтаж всех элементов ячеек не всегда целесообразен, так как в случае некачественной заделки стыков (что может быть обнаружено только после гидравлических испытаний) трудно устранить дефекты и восстановить герметичность ячеек. Поэтому лотки лучше монтировать после испытания ячеек и устранения замеченных дефектов. При этом их устанавливают с помощью крана-балки или специального козлового крана, перемещающегося по рельсам, уложенным на стенах фильтров (рис 7.11, б).
При строительстве ВДС часто возводят двухрядные фильтры, технология монтажа которых заключается в следующем. После планировки и зачистки котлована между рядами ячеек фильтров (в галерее технологических трубопроводов) краном устанавливают фундаменты под колонны, и после устройства бетонной подготовки монтируют панели стен. Затем бетонируют подготовку под фильтры в боковых частях, а также днище галереи трубопроводов, после чего краном, передвигающимся по бетонной подготовке фильтров, монтируют панели ячеек с транспортных средств. Ячейки фильтров монтируют комплексным методом с установкой всех элементов за один проход крана. Параллельно с монтажом конструкций фильтров замоноличивают стыки. Смонтировав ячейки фильтров, монтируют балки перекрытия, колонны и подкрановые балки главного пролета
|
|
|

Рис. 7.10 – Схема монтажа здания фильтров водоочистной станции
1 – фундаменты, 2 – приямки, 3 – гусеничный кран грузоподъемностью 20 т, 4 - бетонная подготовка, 5 – асфальт, 6 – арматурные сетки, 7 – монолитное днище, 8 - фермовоз, 9 – железобетонные фермы длиной 18 м, 10 – панели стен фильтров, 11 – колонны здания, 12 – колодцы, 13 – плиты покрытия, 14 – коридоры отстойника, 15 – съезды, 16 – временная автодорога, 17 – траверса для монтажа ферм

Рис. 7.11 – Монтаж ячеек и лотков фильтров
1 – фундаменты здания фильтров, 2 – колонны, 3 – плиты покрытия, 4 – кран-балка, 5 – железобетонные фермы длиной 18 м, 6 – гусеничный кран с укороченной стрелой, 7 – панели стен фильтров, 8 – монолитное днище, 9 – коридоры отстойника, 10 – козловой кран грузоподъемностью 2,5 т, 11 – лоток фильтра
здания фильтров, используя при этом башенный кран. По достижении бетоном стыков и обвязочной балки наружных сборных стен ячеек фильтров не менее 70 %-ной проектной прочности производят кладку стен в боковых помещениях над ячейками, а также монтаж плит покрытия.
Монтаж резервуаров. Методы и последовательность монтажа прямоугольных резервуаров во многом определяются типом и габаритами сборных конструкций, и в частности типом стеновой панели. Для монтажа резервуаров различной вместимости применяют практически однотипные сборные элементы при общем небольшом количестве их типоразмеров (стеновые панели, перегородки, подколонники, колонны, балки или ригели и плиты покрытия). Все это позволяет применять однотипную технологию и схемы монтажа резервуаров практически независимо от их вместимости.
|
|
|
Монтаж небольших в плане резервуаров ведут с передвижением крана вокруг них по берме котлована, а средних и больших размеров - с передвижением монтажного крана по их днищу и с разбивкой на монтажные участки по продольным осям А, Б, В и т.д. (рис. 7.15). Монтаж конструкций в пределах резервуара целесообразно выполнять по пролетам, принимаемым в качестве монтажных участков. Работы на каждом участке можно выполнять тремя специализированными потоками: 1) установка стен панелей и фундаментов под колонны (подколонников); 2) монтаж колонн и циркуляционных перегородок с одновременным замоноличиванием стыков; 3) укладка балок (ригелей) и плит покрытия.
Последовательность монтажа сборных конструкций должна обеспечивать устойчивость и прочность их в пределах монтажного участка. Учитывая значительные размеры в плане крупных резервуаров, их монтаж производят в основном с передвижением крана внутри резервуара по его днищу. Устанавливать сборные элементы резервуаров можно комплексным, раздельным или комбинированным методами.
При комплексном методе после установки части стеновых панелей одновременно монтируют колонны, циркуляционные перегородки и плиты покрытия. Однако этот метод наряду с преимуществами имеет недостатки, поскольку грузоподъемность крана при этом подбирают по массе наиболее тяжелых элементов (стеновых панелей), а кран по ходу движения монтирует и более легкие элементы (колонны, балки, ригели, плиты). Кроме того, работа крана в стесненных условиях котлована, при необходимости завоза туда и складирования всех элементов, значительно затрудняет организацию работ и замедляет темпы возведения резервуаров. Поэтому иногда более эффективен раздельный или комбинированный метод их монтажа, при котором основные сборные элементы устанавливают в три этапа: на первом - гусеничным краном, передвигающимся по готовому днищу или бетонной подготовке, монтируют раздельно панели стен, за исключением монтажного проема, оставляемого для въезда крана и панелевозов; на втором - пневмоколесным краном, передвигающимся по днищу, устанавливают комплексно колонны, циркуляционные перегородки и плиты покрытия; на третьем - гусеничным краном устанавливают сборные элементы в месте монтажного проема. Последний этап работ выполняют после завершения всех работ внутри резервуаров, в том числе отделочных, гидроизоляционных, монтажа трубопроводов и оборудования.

Рис. 7.15 – Схемы движения монтажных кранов при возведении двух крупных резервуаров
1 - стеновые панели, 2 - колонны в котловане, 3 - циркуляционные перегородки, 4, 5 - выезды из котлована и въезд в него, 6 - рабочий ход крана, 7 - обратный ход, 8 - направление движения транспортных средств
Наряду с указанным раздельно-комбинированным методом эффективным является так называемый кольцевой метод монтажа резервуара с использованием двух параллельно работающих кранов (IV схема монтажа). При этом одним краном (большей грузоподъемности), передвигающимся вокруг резервуара по берме котлована, устанавливают стеновые панели, а также колонны, балки и плиты примыкающего к стенам одного пролета покрытия, а вторым (более легким) краном, передвигающимся по днищу параллельно первому, монтируют колонны, балки и плиты покрытия второго пролета. Завершив монтаж панелей, колонн, балок и плит покрытия по двум рядам пролета наружного периметра резервуара, переходят к монтажу конструкций центральной части резервуара (2-я очередь строительства). Монтаж четырех пролетов центральной части производят комплексным методом. Последний этап монтажа - заполнение монтажного проема стеновыми панелями после выхода крана из резервуара.
Монтаж покрытий прямоугольных резервуаров можно вести одновременно по нескольким пролетам, например перекрытия девятипролетного резервуара по трем - пяти пролетам. При одновременном монтаже трех пролетов один из них оставляют для передвижения крана, а в других раскладывают сборные элементы; при монтаже пяти пролетов под раскладку элементов может быть занято четыре пролета. Завершив выверку колонн и сварку их соединений с балками и плитами, производят омоноличивание швов. Схему движения крана при этом выбирают такой, чтобы к концу монтажа кран мог выйти из резервуара через оставленный проем. После установки панелей в месте проема оставшиеся плиты покрытия устанавливают краном, находящимся вне резервуара.
Монтаж аэротенков (наиболее характерная схема приведена на рис. 7.16). Монтаж конструкций и технологических трубопроводов четырехкоридорных аэротенков ведут раздельным методом четырьмя специализированными потоками, что соответствует количеству секций аэротенков. В первый поток включают монтаж панелей продольных стен аэротенков по осям А, Б, В, Г и Д (рис. 7.16, 1-1) с одновременным их закреплением и замоноличиванием стыков. Во второй включают монтаж балок, плит и ходовых мостиков по осям Б и Г, балок и лотков для подачи активного ила, затем плит, перекрывающих эти лотки, по оси В. В третий поток входят работы по монтажу воздуховодов, каналов и других элементов конструкций, монтаж которых должен быть закончен до установки панелей торцевых поперечных стен. В четвертый, который разбивают на два параллельных потока, включают монтаж поперечных ходовых мостиков, торцовых стен и лотков, начиная с поперечной оси 3 (один поток направляют к оси 1, а второй к оси 5). Такое распределение работ по специализированным потокам позволяет подобрать для монтажа конструкций и трубопроводов наиболее экономичные краны, передвигающиеся по днищу и работающие на минимальных вылетах крюка.

Рис. 7.16 – Схема монтажа четырехкоридорных аэротенков из типовых плоских панелей
1 - стеновые панели наружные, 2 - то же, внутренние, 3 - воздуховоды с отводами к фильтросным каналам, 4 - плиты ходовых мостиков, 5 - балки, 6 - фильтросные каналы, 7 - инвентарные переездные мостики, 8 - бортовой автомобиль, 9 - автокран, 10 - стремянки, 11 - лотки, 12 - автомобиль по доставке лотков, 13 - панелевоз, 14 - пневмоколесный кран, устанавливающий стеновые панели, 15 - температурно-усадочный шов, 16 - растворосос для замоноличивания стыков, 17 - электросварочные агрегаты, 18 - панелевоз по доставке панелей для торцевых стен, 19 - балка, подготовленная к установке, 20 - клинья для временного крепления балок, 21 - сварной шов, 22 - предохранительная распорка в лотке
Сварку и замоноличивание стыков конструкций, а также другие сопутствующие работы выполняют отдельные звенья. Приведенная на рис. 7.16 схема монтажа четырехкоридорных аэротенков показывает, что каждая секция может быть разбита на четыре типовых монтажных участка с постоянной технологией, повторяющейся во всех последующих секциях. Движение крана в коридорах шириной 9 м выдерживается прямолинейным, а в более широких коридорах может быть и зигзагообразным. При прямолинейной схеме кран, двигаясь по оси коридора, монтирует одновременно панели двух противоположных стен на вылете стрелы 4 - 5 м, а при зигзагообразной схеме процесс выполняется анналогично, что позволяет работать крану при минимальном вылете стрелы.
Поскольку при монтаже аэротенков применяются элементы различной массы, в процессе работ приходится использовать разные способы их доставки в котлован, а также установки в проектное положение. Например, конструкции, доставляемые в котлован по одной-две на одном транспорте, монтируют обычно с транспортных средств, т.е. «с колес», а более мелкие - с предварительной доставкой и раскладыванием на днище. Из-за стесненности условий монтажа возможен монтаж «с колес» конструкций массой 2 - 2,5 т, пользуясь транспортными средствами грузоподъемностью не более 5 т. При монтаже элементов с предварительной раскладкой их размещают в непосредственной близости к фронту работ или у противоположных стен. Закончив в аэтротенках монтажные работы, переходят к торкретированию и железнению бетонных поверхностей монолитных участков, а также гидравлическому испытанию емкостей и гидроизоляции наружных поверхностей стен.
Монтаж двух- и трехкоридорных аэротенков (небольшой производительности) с шириной коридоров не менее 4 - 5 м выполняют по той же схеме, что и четырехкоридорных. Аэротенки с узкими коридорами (шириной менее 4 - 5 м) монтируют обычно комплексным методом - по коридорам. При этом после монтажа панелей продольных стен сразу устанавливают в коридоре все конструкции, а также воздуховоды, переходные мостики и т.п. К монтажу следующего коридора переходят после полного завершения работ в предыдущем. Чтобы исключить простой крана в ожидании фронта работ, монтажные работы целесообразно организовать параллельно в двух секциях аэротенков. Установив конструкции в пределах первого коридора первой секции, кран переводят во вторую для выполнения аналогичных работ, а в смонтированном коридоре первой секции в это время сваривают закладные детали, замоноличивают стыки и пр. Завершив работы в первом коридоре второй секции, кран возвращают в первую, где продолжают монтировать следующий коридор. В это время во второй секции готовят фронт для продолжения работ в следующем коридоре и т.п.
Монтаж типовых вентиляционных градирен ведут башенным краном, расположенным с одной стороны каркаса при обеспечении вылета крюка крана для монтажа элементов самого крайнего ряда конструкций. При этом возможны два способа монтажа каркасов градирен - снизу вверх и сверху вниз. При монтаже способом снизу вверх (рис. 7.17, а) работы ведут следующим образом. На монолитные колонны водосборного бассейна устанавливают поперечные и продольные ригели I яруса каркаса, после их выверяют и закрепляют в проектном положении. Далее в стаканы, образованные ригелями, опускают колонны каркаса с приваренными опорными деталями под ригели II яруса, после чего их временно закрепляют. Затем на них монтируют ригели II яруса и к ним приваривают опорные детали III яруса, после чего монтируют колонны этого яруса и т.д., пока не будут смонтированы все оставшиеся ярусы каркаса.

Рис. 7.17 – Монтаж типовой сборной железобетонной вентиляторной градирни
а – способом снизу вверх, б – то же, сверху вниз
1 - рельсовый подкрановый путь, 2 - башенный кран, 3 - водосборный бассейн, 4 - монолитные колонны, 5 - сборные колонны, 6 - ригели, 7 - опорные детали, 8 - временные хомуты
При монтаже каркаса способом сверху вниз (рис. 7.17, б) работы выполняют так. На монолитные колонны бассейна устанавливают поперечные и продольные ригели I яруса, и после выверки крепят их между собой и к колоннам на сварке закладных деталей. Затем на ригели I яруса последовательно укладывают поперечные и продольные ригели II, III и IV ярусов. В образованные ригелями стаканы на колонны бассейна устанавливают колонны каркаса с приваренными опорными деталями под ригели верхнего V яруса. Выставленные на всю высоту каркаса колонны расчаливают и временно раскрепляют, после чего к ригелям V яруса на временных хомутах подвешивают ригели IV яруса, а к колоннам приваривают опорные детали этого яруса. Далее на них опускают подвешенные ригели, выверяют и временно закрепляют. Установку ригелей III и II ярусов производят в такой же последовательности.