ТЕОРЕТИЧЕСКИЕ ОСНОВЫ РАЗДЕЛЕНИЯ МНОГОКОМПОНЕНТНЫХ СМЕСЕЙ
При очистке спирта от примесей приходится подвергать разделению многокомпонентную смесь, для чего применяют несколько последовательно работающих ректификационных колонн, каждая из которых разделяет поступающую в нее смесь на дистиллят, состоящий из одного или нескольких легколетучих компонентов, и остаток — из одного или нескольких труднолетучих компонентов.
Для разделения смеси из трех компонентов требуется две колонны, из четырех — три. В общем случае для разделения смеси из n компонентов требуется колонн п —1. Предварительно из бражки отгоняют спирт со всеми сопутствующими примесями и получают спирт-сырец, являющийся многокомпонентной смесью.
Для оценки летучести примесей по сравнению с летучестью этилового спирта введено понятие «коэффициент ректификации примесей»:
K' =
(31)
где Х и Y — содержание этилового спирта в жидкости и паре, %; а и β — содержание примеси в жидкости и паре, %; Кс =
— коэффициент испарения спирта; Кп =
- коэффициент испарения примеси.
|
|
|
Коэффициент ректификации показывает, на сколько увеличивается или уменьшается в паре содержание примесей по отношению к этиловому спирту в сравнении с жидкостью. Он позволяет в наглядной форме представить поведение примеси в процессе ректификации. На рис. 14 приведены коэффициенты ректификации некоторых примесей.
Коэффициенты испарения и ректификации примесей зависят от концентрации >этилового спирта в водном растворе, из которого выделяются примеси. Так как в спирте-сырце содержание примесей невелико (обычно в сумме не превышает 0,5% от количества этилового спирта), допускают, что летучесть отдельных примесей не зависит от наличия в растворе других примесей.
Все известные примеси по летучести можно сгруппировать в четыре вида: головные, хвостовые, промежуточные и концевые.
К, головным примесям относят те, которые обладают большей летучестью, т. е. большим коэффициентом испарения, чем этиловый спирт при всех концентрациях его в растворе. Для них всегда K'>1. при введении в полную ректификационную колонну водно-спиртовой жидкости в смеси с головными примесями последние легко извлекаются из смеси в отгонной части колонны и концентрируются в укрепляющей части колонны как л.л.к. Водно-спиртовая смесь в данном случае выступает в роли т.л.к. Основные представители головных примесей: уксусный и масляный альдегиды, акролеин, муравьиноэтиловый, укс уснометиловый, уксусноэтиловый и диэтиловый эфиры (кривые 1— 11 на рис. 14).
Летучесть хвостовых примесей всегда меньше летучести этилового спирта (К'<1), поэтому хвостовые примеси в смеси с водно-спиртовой жидкостью могут рассматриваться как т.л.к. (будут уходить в остаток). Типичные хвостовые примеси — уксусная кислота и фурфурол.
|
|
|
Промежуточные примеси обладают двоякими свойствами: при высоких концентрациях спирта они имеют характер хвостовых примесей (К ' <1), при низких концентрациях — характер головных примесей (К ' >1). При определенной концентрации спирта летучесть промежуточных примесей равна летучести этилового спирта (К '= 1). В силу этого промежуточные примеси в полной ректификационной колонне, где крепость спирта изменяется от нуля до азеотропной точки, будут накапливаться в ее средней части, где К'≈1, поскольку ниже этой зоны промежуточные примеси ведут себя как хвостовые и оттесняются вниз более летучим компонентом — этиловым спиртом. Промежуточные примеси отбираются обычно из зоны максимального их накопления, как правило, в средней части полной ректификационной колонны.

Рис. 14. Коэффициенты ректификации летучих примесей, сопутствующих спирту:1 — диэтиловый эфир; 2 — уксусный альдегид; 3 — муравьиноэтиловый эфир; 4 — акролеин; 5 — уксуснометиловый эфир; 6 — уксусноэтиловый эфир; 7 н-масляный альдегид; 8 — ди-ацетил; 9 — триэтиламин; 10 — кротоновый альдегид; 11 — триметиламин; 12 — изопропанол; 13 — изомасляноэтиловый эфир; 14 — изовалерианоэтйловый эфир; 15 — пропионоэтило-вый эфир; 16 — уксусноизоамиловый эфир; 17 — н-пропанол; 18 — изовалерианоамиловый эфир; 19 — изобутанол; 20 – н-бутанол; 21 – изоамилол; 22 – фурфурол; 23 – метанол;


Примеси: промежуточные; головные; концевые; -о-о-о-о хвостовые.
Основными представителями промежуточных примесей являются изоамиловый, изобутиловый и пропиловый спирты, изовалерианоизоамиловый, уксусноизоамиловый, изовалерианоэтиловый эфиры (кривые 12 — 21 на рис. 14). Для каждой промежуточной примеси есть своя зона максимального накопления. Промежуточные примеси, имеющие коэффициент ректификации К ' =1 при крепости спирта≥ 70 об. %, условно именуют верхними; при меньшей крепости — нижними промежуточными примесями. К числу верхних промежуточных примесей относят изовалерианоэтиловый и изомасляноэтиловый эфиры, к числу нижних промежуточных примесей—спирты сивушного масла (кроме изопропанола), изовалерианоизоамиловый и уксусноизоамиловый эфиры. Такое деление промежуточных примесей условно, однако оно дает возможность: детализировать зоны группового концентрирования промежуточных примесей.
Для концевых примесей, как и для промежуточных, характерна летучесть в локальных условиях, но в противоположность им концевые примеси обладают коэффициентом ректификации К'> 1при высоких крепостях спирта и К'< 1 — при низких крепостях. В связи с этим концевая примесь не накапливается в середине колонны, а в зависимости от крепости спирта идет вверх по колонне (как головная примесь) или вниз (как хвостовая). Характерной концевой примесью является метиловый спирт (см. кривую 23 на рис. 14).
На рис. 15 приведена примерная шкала зон максимальной концентрации отдельных примесей по высоте полной ректификационной колонны и указано направление движения отдельных групп примесей в зависимости от крепости этилового спирта. Знание коэффициентов испарения спирта и его примесей дает возможность обоснованно подойти к созданию установок для выделения спирта из бражки и его очистки от примесей путем ректификации.

Рис. 15. Шкала зон максимальной концентрации примесей и примерные эпюры концентраций их в зависимости от крепости этилового спирта:
1 — головные; 2 — промежуточные; 3 — хвостовые; 4 — концевые.
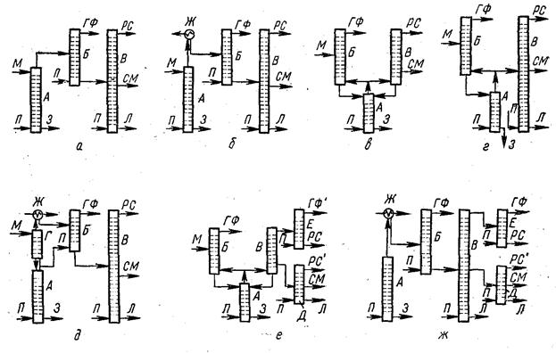
Летучая часть бражки представлена пятью основными компонентами или группами компонентов: этиловым спиртом (С), головными примесями (Г), промежуточными примесями (П), концевыми примесями (К) и хвостовыми (X). Концевые и промежуточные примеси в локальных условиях могут быть отнесены к головным или хвостовым примесям, поэтому рассматриваемую смесь можно привести к трехкомпонентной (С, Г, X). Для разделения трехкомпонентной смеси достаточно иметь две колонны, соединенные по одному из вариантов, приведенных на рис. 16, а.
|
|
|
В практике ректификации применяют схемы, построенные как по I, так и по II варианту, однако преимущественное распространение получил I вариант. Это объясняется тем, что коэффициенты ректификации почти всех головных примесей выше при низкой крепости спирта, в связи с чем выделение их из некрепких спиртов осуществляется легче — при меньшем числе тарелок в колонне и меньшем расходе пара. В данном случае в колонне А происходит выделение головных примесей; этот процесс называется эпюрацией, а колонна — эпюрационной. Спирт-сырец, освобожденный от головных примесей, получил название эпюрата.
Наличие промежуточных и концевых примесей усложняет процесс очистки спирта. Чтобы освободить спирт от промежуточных примесей, необходимо обеспечить их предварительное концентрирование. Это можно осуществить только в средней части колонны, по высоте крепость спирта изменяется в пределах, охватывающих зону максимального накопления примеси. Наилучшими условиями концентрирования всех промежуточных примесей будут те, при которых крепость спирта по высоте колонны изменяется от нуля до азеотропной точки. В связи с этим выделение промежуточных примесей, очевидно, возможно только в колонне Б Iварианта схемы или в колонне А IIварианта, как показано на рис. 16,б. Такие колонны именуются спиртовыми.
Концевые примеси при средних крепостях спирта имеют коэффициент испарения, близкий к коэффициенту испарения спирта, поэтому в колонне А в схеме 1 и 2 вариантов они будут в значительной мере сопутствовать этиловому спирту. Попав в колонну Б 1варианта схемы, концевые примеси пойдут вверх вместе с этиловым спиртом. Движение их вниз по колонне Б возможно, но в небольших количествах, так как коэффициент испарения при низких крепостях спирта остается больше единицы, но меньше, чем у этилового спирта. Часть концевых примесей уйдет с головными примесями в колонне А.
|
|
|
Для получения этилового спирта, свободного от концевых примесей, по 7 варианту схемы необходима установка дополнительной колонны (рис. 16, в).
Очистка спирта по второму варианту не требует установки дополнительной колонны, так как в колонну Б вводится крепкий спирт (освобожденный от воды); при этих условиях концевые примеси имеют коэффициент ректификации К'> 1 и будут уходить вместе с головными примесями. Колонна В получила название колонны окончательной очистки.
Содержание концевых примесей в спирте-сырце обычно невелико, поэтому в практике ректификации спирта вместо пропуска его через колонну окончательной очистки часто применяют пастеризацию. Суть ее состоит в следующем: в зоне высокой концентрации спирта концевые примеси имеют большую летучесть, чем этиловый спирт, поэтому содержание их в жидкой фазе всегда меньше, чем в паровой, поступающей на данную тарелку. В связи с этим спирт (пастеризованный) отбирают из жидкой фазы с 4— 10 тарелок (считая сверху) спиртовой колонны.

Рис. 16. Принципы построения схем установок для очистки спирта от сопутствующих примесей (1,2 — варианты).
На верхних тарелках, в дефлегматоре и конденсаторе происходит некоторое концентрирование концевых примесей. При пастеризации (отборе спирта из жидкой фазы) необходимо из верхней колонны (практически из конденсатора) отбирать небольшое количество продукта (непастеризованного спирта), обогащенного концевыми примесями. В результате пастеризации спирт освобождается и от остатка головных примесей, которые по той или иной причине не полностью выделились в эпюрационной колонне А (1 вариант). Очистка спирта от примесей пастеризацией тем эффективнее, чем выше коэффициент испарения примеси при крепости пастеризованного спирта и чем больше флегмовое число (степень орошения). Пастеризация, несомненно, будет эффективна только при небольшом содержании примеси. Если же концентрация примеси высока, необходима установка колонны окончательной очистки, в которой, по существу, осуществляется повторная эпюрация спирта, но при высокой его концентрации.
Часто рассмотренные схемы установок дополняют колонной Д (рис. 16,г), которая по принципу действия подобна колонне Б, однако в колонну Д вводится фракция, обогащенная промежуточными примесями, и здесь они подвергаются дальнейшему концентрированию. Колонна Д дает возможность освободить колонну Б от промежуточных примесей благодаря увеличенному отбору фракции; при этом улучшаются условия работы по отделению хвостовых примесей.
Верхний продукт из колонны Д содержит целевой продукт — этиловый спирт, загрязненный концевыми и головными примесями. Он может быть использован как товарный (низший сорт) для технических целей или направлен на повторную очистку. Фракция II, отбираемая из средней части колонны Д, не является чистым промежуточным продуктом, однако концентрация его значительно больше, чем в промежуточной фракции, отбираемой из колонны Б. В связи с тем что промежуточные примеси составляют основу сивушного масла, колонна Д по выделению (концентрированию) промежуточных примесей называется сивушной.
Рассмотренные схемы обычно применяют в установках при очистке спирта-сырца (установки для ректификации спирта). При получении ректификованного спирта непосредственно из бражки используют брагоректификационные установки. Они обычно имеют 3 основные колонны и 1—3 дополнительные, устанавливаемые по мере необходимости (рис. 17).
Бражная колонна А служит для отделения летучей части бражки от нелетучей. Бражка, освобожденная от летучей части, выводится из нижней части колонны в виде барды, с которой удаляются экстрактивные вещества, взвешенные частицы, большая часть воды и значительное количество хвостовых примесей. Летучая часть бражки, содержащая этиловый спирт, воду и сопутствующие летучие примеси, в виде пара (рис. 17, а) или бражного дистиллята (рис. 17,6) поступает на питание эпюрационной колонны Б. Далее идет процесс очистки спирта, как рассматривалось выше (см. рис. 16). Спирт-сырец, спирто-водный пар, выходящий из бражной колонны, и бражный дистиллят различаются только по крепости: спирт-сырец имеет крепость не менее 88 об. %, спирто-водный пар и. бражный дистиллят—40—55 об. %. Состав примесей спирта в основном тот же.
В зависимости от способа включения бражной колонны в схему различают брагоректификационные установки прямого, косвенного и полупрямого действия.
Принципиальная особенность установок прямого действия состоит в питании ректификационной колонны спирто-водны-ми парами, выходящими непосредственно из бражной колонны (рис 17,в). В установках прямого действия тепло греющего пара используется двукратно. Свежий греющий пар вводится только в нижнюю часть бражной колонны А, а эпюрационная колонна Б и спиртовая колонна В обогреваются спирто-водным паром, выходящим из верхней части бражной колонны. Бражная колонна питается бражкой, освобожденной от головных примесей (эпюрированной), и флегмой, поступающей из спиртовой колонны. Таким образом, в бражной колонне происходит извлечение спирта из бражки II флегмы. Концентрация сухих веществ в барде при этом понижается в связи с разбавлением ее лютерной водой, получающейся после извлечения спирта из флегмы.
На рис. 17,г представлена несколько видоизмененная схема установки прямого действия, в которой предусмотрено раздельное выделение спирта из бражки и флегмы. При этом требуется дополнительный ввод греющего пара в нижнюю (отгонную) часть спиртовой колонны.

Рис. 17. Принципы построения схем брагоректификационных установок:
колонны: А — бражная; Б — эпюрационная; В — спиртовая; Г — без названия; Д — сивушная; Е — окончательная; Ж — дефлегматор; П — греющий пар; М — бражка; 3 — барда; Л — литерная вода; ГФ и ГФ' — головная фракция; РС и PC' — ректификованный спирт; СМ — сивушное масло.
Принципиальная особенность установок косвенного действия (см. рис. 17,б)—предварительное извлечение из бражки спирта и сопутствующих ему летучих примесей, в результате чего получается бражный дистиллят. Спирто-водньй пар, выходящий из бражной колонны, направляется в конденсатор Ж. Эпюрационная колонна Б питается спирто-водным (бражным) дистиллятом, поступающим из конденсатора. Спирто-водный дистиллят в колонне Б подвергается очистке от головных примесей благодаря введению в нижнюю часть колонны свежего пара. Поступающий в колонну В эпюрат освобождается от хвостовых и промежуточных примесей также в результате ввода свежего греющего пара. Следует отметить, что в установках косвенного действия колонны связаны между собой только жидкостными потоками, в то время как в установках прямого действия — паровыми потоками.
Установка, представленная на рис. 17, д, в некоторой мере подобна установке прямого действия, однако в нее внесены существенно отличительные элементы: эпюрационная колонна обогревается эпюрированным паром из бражной колонны (что характерно для установок прямого действия). Наличие колонны Г характерно для установок косвенного действия, однако колонна Г является остатком (отгонная часть) эпюрационной колонны установок прямого действия. Колонна Г обычно устанавливается непосредственно над колонной А и составляет с ней как бы одно целое. Поэтому число основных колонн и в этом случае равно трем.
Схема, приведенная на рис. 17, а, ближе к схеме установок косвенного действия. Единственное отличие ее — питание эпюрационной колонны Б спирто-водным паром, выходящим непосредственно из бражной колонны, а не бражным дистиллятом.
Установки, имеющие схемы а и д (рис. 17), относят к установкам полупрямого действия, хотя это деление в значительной мере условно.
Выше были рассмотрены принципиальные схемы брагоректифи-кационных установок, состоящих только из основных колонн. Включение дополнительных колонн (Е — окончательной очистки и Д — сивушной) не зависит от принципа действия установки.
На рис. 17, е и ж приведены схемы установок прямого и косвенного действия с двумя дополнительными колоннами.
На отечественных спиртовых заводах приняты за типовые брагоректификационные установки косвенного действия. Они обладают высокими эксплуатационными качествами: стабильны в работе, легки в управлении и регулировке, обеспечивают выработку спирта сравнительно высокого качества. Примеси из спирта выводятся в концентрированном виде.
Наибольшее распространение получили трехколонные установки. В настоящее время машиностроительные заводы стали поставлять четырехколонные установки (с дополнительной колонной окончательной очистки) производительностью 1000, 1500 и 2000 дал спирта в сутки и пятиколонныё (с двумя дополнительными колоннами — окончательной очистки и сивушной) производительностью 3000 и 6000 дал спирта в сутки. Ряд крупных спиртовых заводов в качестве дополнительной (4, 5 или 6-й) применяют колонны для выделения спирта из головной фракции (разгонную колонну).
Трехколонная брагоректификационная установка косвенного действия. Схема установки представлена на рис. 18. Бражная колонна имеет 23 одноколпачковые тарелки двойного кипячения смежтарелочным расстоянием 280 или 340 мм либо 24 ситчатые тарелки с межтарелочным расстоянием 500—550 мм. Ситчатыми тарелками оснащаются бражные колонны при производительности установки 3000 дал спирта в сутки и более.
В эпюрационной колонне независимо от производительности обычно устанавливают. 39—40 многоколпачковых тарелок с межтарелочным расстоянием 170 мм. Питание вводят на 20, 27 или 36-ю тарелку, считая снизу.
В спиртовой колонне устанавливают 71—74 тарелки того же типа, что и в эпюрационной. Ввод питания предусмотрен на 16-ю тарелку с низу колонны.

Рис. 18. Аппаратурно-технологическая схема трехколонной брагоректификационной установки косвенного действия:
1 — бражная колонна; 2 — эпюрационная колонна; 3 — спиртовая колонна; 4 — конденсатор сепаратора CO2; 5 — сепаратор СО2; 6 —основной конденсатор бражкой колонны; 7 —конденсатор бражной колонны; 8 — подогреватель бражки; 9 — ловушка-сепаратор; 10 — вакуум-прерыватели; 11 —регулирующие клапаны; 12 — пробные холодильники; 13 — гидрозатворы; 14 — спиртоловушки; 15— дефлегматор эпюрационной колонны; 16 — конденсатор эпюрационной колонны; 17 — дефлегматор спиртовой колонны; 18 — конденсатор спиртовой колонны; 19 — фонарь; 20 — холодильник спирта; 21 — холодильник сивушных фракций; 22 — экстрактор сивушного масла; 23 — контрольный снаряд; А —бражка; Б — барда; В — вода; Л — лютерная вода; Н — неконденсирующиеся газы; П —греющий пар; PC — ректификованный спирт; СМ — сивушное масло; ГФ — головная фракция.
Колонны обогреваются открытым или закрытым паром. Последнее часто практикуется на мелассно-спиртовых заводах. К каждой колонне подключены теплообменники для конденсации пара, выходящего из колонн. Спирто-водный пар из бражной колонны проходит ловушку-сепаратор для улавливания пены и брызг (иногда ее встраивают внутрь колонны) и конденсируется в основном в подогревателе бражки. Остальная часть пара конденсируется в связи с отдачей тепла воде в основном и дополнительном конденсаторах. Бражный дистиллят направляют на питание эпюрационной колонны.
Бражку, поступающую в установку, нагревают в подогревателе, затем в сепараторе освобождают от выделившегося диоксида углерода и других неконденсирующихся газов, после чего вводят в бражную колонну. Вместе с неконденсирующимися газами уносится некоторое количество спирта, улавливаемого в конденсаторе. Конденсат направляется в верхнюю часть эпюрационной колонны. В нижней части к бражной колонне подключен бардортводчик или гидравлический затвор с пробным холодильником.
Пар, выходящий из эпюрационной колонны, конденсируется в дефлегматоре и конденсаторе в результате отвода тепла водой. Часть пара, конденсирующаяся в конденсаторе, имеет максимальную концентрацию головных и концевых примесей и называется головной фракцией (ГФ).
Освобожденный от головных и частично от концевых примесей бражный дистиллят — эпюрат поступает на питание спиртовой колонны, которая оснащена дефлегматором и конденсатором. Основная масса пара, выходящего из спиртовой колонны, конденсируется в дефлегматоре и в виде непастеризованного спирта направляется в верхнюю часть эпюрационной колонны. С ним отводятся головные и концевые примеси, выделенные и сконцентриронанные в пастеризационной части (Выше места отбора ректификонанного спирта) спиртовой колонны. Конденсация пара осуществляется благодаря отводу тепла водой.
Ректификованный (пастеризованный) спирт, отбираемый с 3, 7, 8 или 10-й-тарелки, считая сверху спиртовой колонны, проходит холодильник, контрольный снаряд и поступает в спиртоприемное отделение.
Промежуточные примеси выводят из спиртовой колонны в виде двух продуктов: сивушной фракции (пара с 5, 7, 9 или 11-й тарелок) и сивушного спирта (жидкой фазы с 17—20-й и 25-й тарелок, считая снизу колонны). С сивушной фракцией в основном выводят нижние промежуточные примеси — изоамиловый и изобутиловый и частично пропиловый спирты, с сивушным спиртом — верхние (эфиры и частично пропиловый спирт).
После конденсации, охлаждения и извлечения из сивушной фракции этанола получают сивушное масло, являющееся товарным побочным продуктом. Сивушный спирт охлаждается и также выводится из установки в виде побочного продукта. Лютерная вода удаляется через гидравлический затвор. Для более полного улавливания паров спирта из неконденсирующихся газов воздушники всех конденсаторов соединены со спиртоловушками.
Каждая колонна снабжена верхним и нижним вакуум-прерывателями, регуляторами подачи пара, воды, бражки и отвода ректификованного спирта. Для установки термометров предусмотрены гильзы: на линии подачи нагретой бражки перед вводом в колонну, над верхней тарелкой и в кубе каждой колонны, а также на 8-й и питающей (16-й) тарелке спиртовой колонны. Термометры устанавливаются и для замера температуры воды, отходящей из основного конденсатора бражной колонны, дефлегматоров эпюрационной и ректификационной колонн. Для непрерывного контроля за работой установок на линии подачи бражки и бражного дистиллята, отбора головной фракции, непастеризованного, сивушного и ректификованного спирта, а также сивушной фракции устанавливают расходомерные устройства, обычно ротаметры.
Всю аппаратуру и трубопроводы, соприкасающиеся со спиртопродуктами, изготовляют из меди. Допускается изготовление отдельных элементов из специальной кислотостойкой нержавеющей стали. Подогреватель бражки, дефлегматоры, конденсаторы, кипятильники, а часто и холодильники выполняются в виде кожухотрубных теплообменников.
Брагоректификационные установки обычно размещают в отдельном изолированном помещении. Все оборудование располагается в четырех этажах. На отметке 4,8—6 м размещается рабочее место апаратчика, где сосредоточены все контрольно-измерительные приборы и средства регулирования и управления, стоит щит КИПиА. На отметке 16—18 м помещают подогреватели бражки, дефлегматоры, конденсаторы, сепаратор СО2 и спиртоловушки.
Брагоректификационная установка с дополнительными колоннами. На рис. 19 риведены схемы обвязки колонны для выделения I спирта из ГФ (разгонной колонны) (а), колонны окончательной очистки (б) и сивушной (в).
Безводная часть ГФ, отбираемой из конденсатора эпюрационной колонны, содержит 92—97% этилового спирта и только 8—3% головных примесей. Этой фракции отбирают на зерно-картофельных заводах 2—3%, на мелассных — 3—4% (при выработке хлебопекарных дрожжей до 5%) от спирта, поступающего с бражкой.
Установка разгонной колонны дает возможность выделить спирт из ГФ, а головные примеси получить в концентрированном виде. Колонна имеет 39—40 многоколпачковых тарелок с расстоянием между ними 170 мм, снабжается дефлегматором и декантатором. Питание (ГФ) подается на 24-ю тарелку снизу, на верхнюю тарелку вводится горячая вода, а в нижню часть колонны — греющий пар. При поступлении воды на верхнюю тарелку колонны крепость спирта на тарелках снижается, а летучесть головных примесей увеличивается, в результате чего они извлекаются. Спирт, освобожденный от примесей, выходит из нижней части колонны (ку-Гювая жидкость) и направляется в бражку или бражную колонну и таким образом вводится снова в цикл брагоректификации.
Головные примеси концентрируются в верхней части колонны. После конденсации пара, выходящего из колонны, получается смесь, состоящая в основном из эфиров, альдегидов и воды, которая направляется в декантатор для расслаивания. Верхний слой, представляющий собой эфиро-альдегидный концентрат (ЭАК) с малым содержанием спирта, выводится из установки как побочный продукт ректификации. Нижний водный слой, содержащий некоторое количество головных примесей, служит флегмой для колонны.
Установка разгонной колонны дает возможность увеличить выход ректификованного спирта с 95—96% до 98—98,5% от спирта, введенного с бражкой.

Рис. 19. Схемы обвязки дополнительных колонн:
а — разгонной; б — окончательной очистки; в — сивушной; 1 — колонны; 2 — дефлегматоры; 3 — конденсаторы; 4 — декантатор; 5 — испаритель (кипятильник); 6 — холодильник спирта; 7 — фонарь; 8 — холодильник сивушных фракций; 9 — гидравлический затвор; 10 — экстрактор сивушного масла; 11 — регулирующие клапаны; 12 — вакуум-прерыватели; 13 — ротаметры; 14 — пробный холодильник; В — вода; ГФ и ГФ' —головная фракция; КЖ —кубовая жидкость; ЭЛК — эфиро-альдегидный концентрат; Н — неконденсирующиеся газы (к спир-головушке); PC и PC' — ректификованный спирт; СС — сивушный спирт; СФ — сивушная фракция; СМ — сивушное масло; Л — лютерная вода; П — греющий пар.
В колонне окончательной очистки из ректификованного спирта выделяют остатки головных и концевых примесей, что улучшает дегустационные и аналитические показатели качества спирта. Колонна имеет 30 многоколпачковых тарелок, 20 в отгонной и 10 в концентрационной части и обогревается только закрытым паром.
Головных и концевых примесей, выделенных в нижней части колонны и сконцентрированных в виде головной фракции, отбирают 0,5—1%от спирта, введенного в колонну. Головная фракция вводится в верхнюю часть эпюрационной колонны, а при наличии разгонной колонны присоединяется к ГФ эпюрационной колонны. Ректификованный спирт выводится из нижней части колонны.
В сивушной колонне проводят дальнейшее концентрирование сивушного масла и других промежуточных примесей, начатое в спиртовой колонне. Она питается сивушной фракцией и сивушным спиртом, отбираемыми из спиртовой колонны в зоне концентрирования промежуточных примесей. В отгонной части колонны устанавливают 15—17, в концентрационной — 40 многоколпачковых тарелок при межтарелочном расстоянии 170 мм. Между отгонной и концентрационной частями располагают аккумулятор (рис. 20), в котором находится значительный объем спирто-водной жидкости, обеспечивающей равномерную работу колонны. Высота слоя жидкости в аккумуляторе от 200 до 700 мм.
Питание в колонну подают на тарелку, расположенную непосредственно над аккумулятором, а концентрированные промежуточные продукты отбирают из аккумулятора. В аккумуляторе накапливается большое количество спиртов сивушного масла, в результате чего поступающая в него флегма расслаивается, образуя верхний слой с высоким содержанием указанных спиртов (концентрат сивушного масла), и нижний — подсивушный, состоящий из раствора этилового спирта и других спиртов в воде.

Рис. 20. Аккумулятор.
Часть аккумулятора, в которой размещены сливные стаканы вышележащей тарелки, отделена перегородкой от основного объема его так, что образуется карман. Перегородка внизу не доходит до дна, а вверху оканчивается выше уровня жидкости, что обеспечивает сообщение кармана с остальной частью аккумулятора и спокойную поверхность жидкости в кармане. На уровне жидкости к карману с помощью штуцера прикреплен фонарь, через который отводится из аккумулятора концентрат сивушного масла.
Этиловый спирт и головные примеси концентрируются в верхней части колонны и выводятся в эпюрационную колонну. Иногда лот спирт отбирают как низший сорт для технических целей. Снизу колонны отводится лютерная вода. Обогрев колонны может быть открытым или закрытым.