К стальному ступенчатому валу, имеющему сплошное круглое сечение, приложены четыре внешних закручивающих момента (Т1, Т2, Т3 и Т4), левый конец вала жестко закреплен в опоре, а правый конец – свободен и его торец имеет угловые перемещения относительно левого конца.
Требуется:
1) построить эпюру крутящих моментов;
2) определить диаметры d1 и d2 вала из расчета на прочность, при заданном значении
, округлить величину найденных диаметров до ближайшего большего значения из ряда: 30, 35, 40, 45, 50, 60, 70, 80, 90, 100, 110, 125, 140, 160, 180, 200 мм.
3) построить эпюру действительных напряжений кручения по длине вала;
4) построить эпюру абсолютных углов закручивания
, приняв значение модуля сдвига для материала вала
МПа.

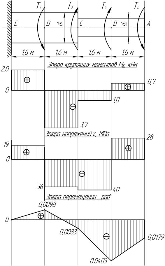
Рисунок 3.1
Исходные данные: a = b = c 1,6 м; Т1 = 5,7 кНм;Т2 = 2,7 кНм;Т3 = 1,7 кНм;
Т4 = 0,7 кНм;
= 45 МПа.
Решение:
1. Определим крутящие моменты (рис. 3.2):
Участок АВ:
кНм;
Участок ВС:
кНм;
Участок СD:
кНм;
Участок DЕ:
кНм.
2. Определим значения диаметров ступеней из условия прочности на опасных участках ВС и DC.
мм,
Принимаем d1 = 80 мм.
|
|
|
мм,
Принимаем d2 = 50 мм.
3. Для построения эпюр напряжений найдем значения напряжений кручения, действующих на участках.
МПа,
МПа,
МПа,
МПа.
4. Относительные угловые перемещения концов участков.
рад,
рад,
рад,
рад.
Абсолютные углы закручивания сечений вала, относительно жестко заделанного левого конца вала (сечение Е).
рад,
рад,
рад.

Рисунок 3.2






