| Вид животного | Масса тела животного (кг) | Масса головного мозга (г) | Масса спинного мозга (г) | Отношение массы головного мозга (%) | |
| к массе тела | к массе спинного мозга | ||||
| Лошадь | 460-550 | 600-700 | 250-300 | 0,10-0,20 | 2,5-2,7 |
| Крупный рогатый скот | 410-650 | 440-520 | 240-270 | 0,12-0,14 | 2,2-2,3 |
| Мелкий рогатый скот | 45-55 | 80-115 | 50-55 | 0,14-0,17 | 2,3-2,6 |
| Свинья | 120-150 | 115-130 | 45-70 | 0,07-1,10 | 2,4-2,6 |
| Собака | 15-30 | 35-80 | 13-25 | 0,70-1,10 | 4,5-5,0 |
| Кошка | 3-4 | 21-30 | 7-8 | 0,70-0,80 | 3,5-4,0 |
| Кролик | 2-3,5 | 9-10 | 4-5 | 0,35-0,45 | 2,0 |
| Человек | 65-75 | 1230-1370 | 30-40 | 1,82-1,89 | 34-49 |

Рис. 7. Продолговатый мозг:
А – ромбовидная ямка; Б – ядра продолговатого мозга;
V-XII – корешки черепных нервов.

Рис. 8. Поперечный срез продолговатого мозга:
А - на уровне трапецевидного тела; Б – на уровне выхода подъязычного нерва; VI – XII – корешки черепных нервов.

Рис. 9. Схема строения мозжечка млекопитающих:
А – основные части мозжечка;
Б – терминология мозжечка (червячка и полушарий)

Рис. 10. Строение мозжечка:
А – строение коры мозжечка; Б – ядра мозжечка.

Рис. 11. Строение среднего мозга:
А – мозг собаки (вскрыты боковые желудочки, задняя часть плаща и ромбовидный мозг удалены);
Б – поперечный срез среднего мозга на уровне ростральных холмиков.

Рис. 12. Строение промежуточного мозга:
А – мозг лошади (боковые желудочки вскрыты, задняя часть плаща и мозжечок удалены)

Рис. 13. Схема анатомического состава элементов обонятельного мозга и лимбической системы у собаки

Рис. 14. Головной мозг лошади на горизонтальном срезе
(правый боковой желудочек вскрыт)

Рис. 13. Кора больших полушарий головного мозга (на поперечном срезе): I – VI – цито- и миелоархитектоника коры: I – молекулярный слой, II – наружный зернистый слой,
III – слой малых пирамидальных клеток, IV – внутренний зернистый слой, V – слой больших пирамидальных клеток, VI - полиморфный слой, α – белое мозговое вещество

Рис. 14. Схема взаимоотношений между желудочками
головного мозга: II – боковой желудочек,
III – третий желудочек, IV – четвертый желудочек

Рис. 15. Ядра и проводящие тракты спинного (А) и головного (Б) мозга: 1 – стройный пучок, 2 – клиновидный пучок, 3 – спинкоталамический тракт, 4 – спиномозжечковый дорсальный тракт, 5 – спиномозжечковый вентральный тракт, 6 – собственные пучки, 7 – преддверноспинномозговой тракт, 8 – красноядерноспинномозговой тракт, 9 – спиннокрышечный тракт, 10 – латеральный пирамидальный тракт, 11 - вентральный пирамидальный тракт, 12 – вентральный покрышка – спинномозговой тракт, 13 – дорсальный канатик, спинного мозга, 13I – стройное и клиновидное ядра, 14 – вентральный канатик спинного мозга, 14I – двигательные ядра спинного мозга, 15 – двигательные и 15I – чувствительные ядра продолговатого мозга, 16 – ретикулярная формация продолговатого мозга, 17 – пирамидальный тракт, 18 – улитковое ядро, 19 – каудальный и 20- ростральный холмики, 21 – красное ядро и ретикулярная формация среднего мозга, 22 - каудальное вентральное ядро зрительного бугра, 23 – латеральное – 24 – медиальное коленчатые тела, 25 – дорсальное ядро зрительного бугра, 26 – ядра подбугорья, 27 – полосатое тело, 28 – обонятельная луковица, 29 – грушевидная доля, а - чувствительный ганглий, б – мозжечок, с - кора большого мозга, I – обонятельный тракт, II – зрительный тракт.

Рис. 16. Артерии головного мозга коры:
А – артерии базальной поверхности головного мозга,
Б – эпидуральные чудесные сети (дно полости черепа)

Рис. 17. Венозные синусы и вены головного мозга лошади: 1 – базилярный синус, 2 – мозжечок, 3 – поперечный синус, 4 – соединительный синус, 5 – дорсальный каменистый синус, 6 – прямой синус, 7 – большая вена мозга, 8 – вена мозолистого тела, 9 – мозолистое тело, зрительный бугор и эпифиз, 10 – сагиттальный синус и устья вены, 11 – серповидная складка, 12 – лобная вена, 13 – глубокая височная вена, 14 – глазная вена, 15 – глазничная мозговая вена, 16 – устье каверзного синуса при впадении в глубокую лицевую вену, 17 - выпускная вена в височной ямке, 18 – венозное сплетение, 19 - дорсальная мозговая вена, 20 – вентральная мозговая вена

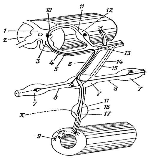
Рис. 18. Схема строения отрезка вегетативного отдела нервной системы в связи со спинным мозгом:
1 – серое мозговое вещество спинного мозга; 2 – белое мозговое вещество спинного мозга; 3 – двигательные волокна; 4 – вентральный корешок; 5 – преганглионарное волокно нейрона; 6 – белая соединительная ветвь; 7 – узел пограничного ствола; 8 – пограничный симпатический ствол; 9 - интрамуральные ганглии в стенке кишечника; 10 – латеральный столб серого мозгового вещества; 11 – чувствительные волокна; 12 – дорсальный корешок спинномозгового узла; 13 – смешанный спинномозговой нерв; 14 – серая соединительная ветвь; 15 – постганглионарное волокно нейрона к сосудам; 16 - превертебральный ганглий; 17 - постганглионарное волокно нейрона к внутренностям; Х – вагус.

Рис. 19. Нервы правого плечевого сплетения лошади:
1 - шейная часть спинного мозга, 2 – вентральный корень спинномозгового нерва, 3 – дорсальный корень спинномозгового нерва,4 – дорсальная ветвь шейного спинномозгового нерва, 5 – краниальные грудные нервы, 6 – плечевое сплетение, 7 – подлопаточный нерв, 8 - дорсальная ветвь спинномозгового нерва, 9 – дорсальная мышечная ветвь спинномозгового нерва, 10 – кожная дорсальная ветвь спинномозгового нерва, 11 – грудной латеральный нерв, 12 – грудной дорсальный нерв, 13 – грудной длинный нерв, 14 – грудной спинномозгового нерва, 15 – спинномозговой узел, 16 – грудная часть спинного мозга, 17 – межреберный нерв, 19 - вентральная ветвь спинномозгового нерва, 20 – мышечная вентральная ветвь спинномозгового нерва, 21 - предлопаточный нерв, 22 – мышечные ветви кожно-мышечного нерва, 23 – подмышечный нерв, 24 – лучевой нерв, 25 – глубокий лучевой нерв, 26 – поверхностный лучевой нерв, 27 – кожная ветвь мышечнокожного нерва, 28 – пальмарный латеральный нерв, 29 – пальмарный медиальный нерв, 30 – дорсальный пальцевый нерв, 31 – пальмарный медиальный пальцевый нерв, 32 - соединительная ветвь от медиального к латеральному пальмарному нерву, 33- нерв межкостного среднего мускула, 34 – пальмарная ветвь локтевого нерва, 35 – дорсальная ветвь локтевого нерва, 36 – межкостные ветви лучевого нерва, 37 – межкостный нерв, 38 – мышечные ветви локтевого нерва, 39 – срединный нерв, 4 – локтевой нерв, 41 – грудной вентральный нерв, 42 - диафрагмальный нерв, 43 – кожные ветви межрёберных нервов, 44 – мышечные ветви межрёберных нервов

Рис. 20. Пояснично-крестцовое сплетение и нервы
тазовой конечности лошади (медиальная поверхность):
1 – спинномозговой нерв, 2 – дорсальная ветвь спинномозгового нерва, 3 – последний межрёберный нерв, 4 – первый поясничный нерв, 5 – дорсальная ветвь поясничного нерва, 6 – подвздошно-подчревный нерв, 7 – подвздошно-паховый нерв, 8 – поясничное сплетение, 9 – пояснично-кожный нерв, 10 – наружный семенной нерв, 11 – бедренный нерв, 12 – крестцовое сплетение, 13 – каудальный ягодичный нерв, 14 – каудальный прямокишечный нерв, 15 – хвостовые нервы, 16 – каудальный кожный нерв, 17 – краниальный ягодичный нерв, 18 – седалищный нерв, 19 – запирательный нерв, 20 – дорсальный удовый нерв, 21 – проксимальные мышечные ветви, 22 – большеберцовый нерв, 23 – малоберцовый нерв, 24 – дистальные мышечные ветви, 25 – плантарный кожный нерв голени, 26 – медиальный кожный нерв голени, 27 – плантарный плюсневый медиальный нерв, 28 - соединительная ветвь плантарных нервов, 30 – глубокая ветвь глубокого малоберцового нерва, 31 – нерв Сафена, 32 – кожно-латеральный нерв бедра.

Рис. 21. Пояснично-крестцовое сплетение и нервы
тазовой конечности лошади (латеральная поверхность):
1 – дорсальные кожные ветви грудных нервов, 2 - вентральные кожные ветви грудных нервов, 3 – подвздошно-подчревный нерв (кожная ветвь), 4 - подвздошно-паховый нерв, 5 - наружный семенной нерв, 6 - пояснично-кожный нерв, 7 - бедренный нерв, 8 - дорсальные ветви поясничных нервов, 9 - запирательный нерв, 10 –мозговой конус, 11 - краниальный ягодичный нерв, 12 - дорсальные ветви крестцовых нервов, 13 - хвостовые нервы, 14 - каудальный прямокишечный нерв, 15 – срамной нерв, 16 - каудальный кожный нерв, 17 – каудальный ягодичный нерв, 18 - седалищный нерв, 19 - проксимальные мышечные ветви, 20 - малоберцовый нерв, 21 - большеберцовый нерв, 22 - дистальные мышечные ветви, 23 – плантарный кожный нерв голени, 24 – плантарный плюсневый латеральный, 25 – ветви для межкостного мускула и латеральный глубокий плюсневый нерв, 26 – плантарный пальцевый латеральный нерв, 27 – дорсальный кожный нерв голени, 28 – глубокий малоберцовый нерв, 29 – поверхностный малоберцовый нерв.

Рис. 22. Зоны иннервации черепно-мозговых нервов:
I – обонятельный нерв, II – зрительный нерв, III – глазодвигательный нерв, IV – блоковый нерв, V – тройничный нерв, VI – отводящий нерв, VII – лицевой нерв, VIII – равновесно-слуховой нерв, IX – языкоглоточный нерв, X – блуждающий нерв, XI – добавочный нерв, XII – подъязычный нерв, 1 – обонятельная луковица, 2 – общий обонятельный тракт, 3 – обонятельный треугольник, 4 - продырявленная пластинка, 5 – грушевидная доля, 6 – перекрест зрительный нервов, 7 – воронка, 8 – сосцевидное тело, 9 – сосудистое сплетение, 10 - продолговатый мозг, 11 – спинной мозг, 12 – ножки большого мозга, 13 – варолиев мост, 14 – пирамиды, 15 – их перекрест, 16 – межножковая ямка, 17 – трапециевидное тело, 18 - лицевой бугор, 20 мозжечок.

Рис. 23. Тройничный нерв:
1 – ростральный носовой нерв, 2 – наружные носовые нн., 3 – н. верхней губы, 4 – верхняя резцовая ветвь, 5 - подглазничный н., 6 – каудальный носовой н., 7 – решётчатый н., 8 – нн. предпоследнего верхнего моляра, 9 – ветвь к железе 3-го века, 10 - нн. последнего верхнего моляра, 11- скуловой н., 12 – подблоковый н., 13 – слёзный н., 14 – лобный н., 15 - височно-скуловая ветвь, 16 – глазничная ветвь, 17 - верхнечелюстная ветвь, 18 - нижнечелюстная ветвь, 19 – полулунный узел, 20 – начало тройничного н., 21 – большой нёбный н., 22- малый нёбный н., 23 – ветвь к латеральной крыловой мышце, 24 – ветвь к напрягателю и поднимателю нёбной занавески, 25 – щёчный н., 26 – глубокие височные нн., 27 – крыловой н., 28 – поверхностный височный н., 29 – альвеолярный нижнечелюстной н., 30 – межчелюстной н., 31 – жевательный н., 32 – нижняя резцовая ветвь, 33 – подбородочный н., 34 – ветвь к премоляру, 35 – язычный н., 36 – ветвь к двубрюшному м., а – височная мышца, б – варолиев мост, в - напрягатель и подниматель нёбной занавески, г - суставной отросток нижней челюсти, д – нёбная занавеска, е – медиальная крыловая м., ж – латеральная крыловая м., з – латеральная большая жевательная м., и – медиальная большая жевательная м.

Рис. 24. Лицевой нерв:
1 – ветвь веко-ушного нерва к носогубному поднимателю, 2 – дорсально-щёчный нерв, 3 – надглазничная ветвь веко-ушного нерва, 4 – подглазничная ветвь веко-ушного н., 5 – постганглионарные волокна в слёзную железу, 6 - клинонёбный узел, 7 – н. крылового канала, 8 – трапецоидное тело и начало лицевого н., 9 – большой поверхностный каменистый нерв, 10 – стременной н., 11 – колено лицевого н. и коленчатый ганглий, 12 - веко-ушной н., 13 – внутренний ушной н., 14 – каудальный ушной н., 15 – н. двубрюшного мускула, 16 – шейная ветвь лицевого нерва, 17 – лицевой н., 18 - вентральный щёчный н.


Рис. 25. Автономная нервная система
крупного рогатого скота:
1 – подчревное сплетение, 2 – тазовые нервы, 3- подчревный нерв, 4 – каудальное брыжеечное сплетение, 5 – межузловое сплетение, 6 – почечное сплетение, 7 – солнечное сплетение, 8 – полулунный ганглий, 9 – большой чревный н., 10 – дорсальный и вентральный пищеводные стволы вагуса, 11 – сплетение бронхо-пищеводной артерии, 12 – симпатический ствол, 13 – звёздчатый ганглий, 14 – позвоночный нерв, 15 – вагосимпатический ствол, 16 – ганглии вагуса, 17 – краниальный шейный ганглий, 18 – возвратный нерв, 19 – средний шейный ганглий, 20 – сердечный ганглий, 21 – сердечное сплетение, 22 – бронхиальное сплетение, 23 – почечное сплетение, 24 – желудочное сплетение, 25 – нервы тонкой кишки, 26 нервы толстой кишки.

Рис. 26. Головная часть вегетативной нервной системы:
II – зрительный нерв, III – глазодвигательный н., V – тройничный н., VII – лицевой н., IX – языкоглоточный н., 1 – нервные окончания в мышцах радужной оболочки и ресничного тела, 2 - нервные окончания в сосудах глазного яблока, 3 – ресничный узел, 4 – клинонёбный узел, 5 – большой глубокий каменистый н., 6 – большой поверхностный каменистый н., 7 – ядро Якубовича, 8 – слёзоотделительное ядро, 9 – краниальное слюноотделительное ядро, 10 – каудальное слюноотделительное ядро, 11 – барабанный н., 12, 13 – малый глубокий и поверхностный каменистые нн., 14 – ушной узел, 15 – барабанная струна, 16 - подчелюстной узел, 17 – краниальный шейный симпатический узел, а – глазное яблоко, б – слёзная железа, в – слёзная артерия, г - язычный н., д – клинонёбный н., е – сосуды глазного яблока, ж – подъязычная железа, з – язычная а., и – внутренняя челюстная а., к – наружная челюстная а., л – внутренняя сонная а., м – крыловой н., н – сосуды околоушной железы, о - околоушная железа, п - общая сонная а., р – подчелюстная железа.






