Наличие обломов и трещин на любых деталях диска требует их выбраковки. Ведомые диски при ремонте разбирают на составляющие детали, которые дефектуют и при возможности восстанавливают.
Ослабленные заклепки заменяют на новые и расклепывают.
Ступицы с изношенными шлицами до толщины менее 6,0 мм заменяют новыми.

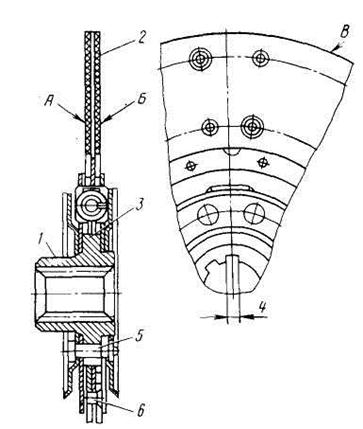
Рис. 5.2. Основные дефекты ведомого диска сцепления.
При замене отдельных деталей ведомый диск собирают и приклепывают или приклеивают к нему фрикционные накладки. При приклепывании накладок головки заклепок должны быть утоплены относительно поверхностей А и Б не менее чем на 1,5 мм.
После сборки диски статически балансируют, устанавливая их по боковым поверхностям шлицев. Величина дисбаланса должна быть не более 0,025 Н×м. Наличие дисбаланса устраняют установкой на диск грузчиков (не более трех), которые крепят отгибанием усиков. Грузики должны быть неподвижны.
После восстановления ведомый диск сцепления должен отвечать следующим основным техническим требованиям:
– при установке диска по боковым поверхностям шлицев торцевое биение поверхностей А и Б не более 0,80 мм, радиальное биение поверхности В не более 1,0 мм при проворачивании ступицы гасителя крутильных колебаний относительно диска, закрепленного в приспособлении, исключающем радиальные нагрузки с моментом 450 Н×м, угол ее поворота должен лежать в пределах 1°30'…2°30'.
5.6.3. Восстановление картеров коробок передач.
Основными дефектами картера коробки передач (рис. 5.3) являются:
1 — обломы и трещины;
2 — износ отверстия под задний подшипник промежуточного вала;
3, 4 — износ отверстий под подшипники ведущего и ведомого валов;
5 — износ отверстия под передний подшипник промежуточного вала;
6 — износ переднего отверстия под шейку оси блока шестерен заднего хода;
7 — износ внутренней торцевой поверхности бобышек;






