Геометрическое свойство детали D определяется предикатом истинности

где
обрабатываемая поверхность;
поверхность базирования;
направление обработки.
Алгоритм расчета предиката
включает этапы:
- построение логико-алгебраического описания обрабатываемой детали D;
- построение множества I, соответствующего области перемещения инструмента при обработке поверхности
с учетом холостых ходов;
- вычисление предиката истинности
= D Λ I.

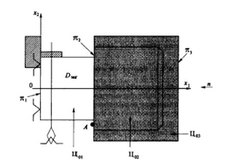
Рисунок 7.8 Условия доступности обработки поверхности π2 с направления п
Рассмотрим вычисление предиката истинности
для двухступенчатого валика (рисунок 7.8).
Уравнение обрабатываемой детали D имеет вид:

Уравнение множества I перемещения инструмента имеет вид:

Логическое условие доступа инструмента к поверхности
запишется так:

Окончательно выражение предиката
имеет вид:

Очевидно, что
так как существует точка А, для которой правая часть последнего выражения обращается в единицу.
В целом предикат
при заданном п для нашего случая можно рассматривать как функцию двух переменных, значения которой определяются по таблице 7.3
Таблица 7.3







