Таблица 1.
Мольные теплоемкости идеального газа.
| атомность | одноатомный | двухатомный | многоатомный |
| Сm v | Rун | Rун | Rун |
| Сm р | Rун | Rун | Rун |
Rун = 8314 - универсальная газовая постоянная, Дж/(кмоль К).
Таким образом, теплоемкость идеального газа не зависит от температуры, в отличии от теплоемкости реального газа. Поэтому при практических расчетах используют среднюю теплоемкость, определяемую для данного процесса в интервале температур от t1 до t2 (по (2). Очевидно, что чем меньше разность температур, тем больше приближение значения средней теплоемкости к истинной.
Значения теплоемкости для различных веществ приводятся в специальных термодинамических таблицах. Средняя теплоемкость может быть определена по (1.2), или по формуле:
, (7)
где
и - средние теплоемкости газа в диапазоне температур от 0 до t1 и от 0 до t2 соответственно.
Одной из задач лабораторной работы является сравнение полученного опытным путем значения теплоемкости воздуха ср_для различных интервалов температур со значениями теплоемкости, определенными по термодинамическим таблицам для этих же температурных диапазонов, или по МКТ.
Описание экспериментальной установки.
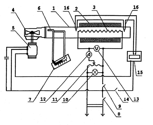
Определение теплоемкости воздуха производится методом проточного калориметрирования. Схема установки представлена на рис.1. Калориметр состоит из металлического корпуса 1, внутри которого размещен нагревательный элемент 3. Снаружи в зоне нагрева корпус покрыт тепловой изоляцией 2 для уменьшения тепловых потерь. Нагревательный элемент подключен через лабораторный автотрансформатор (ЛАТР) 11, при помощи которого осуществляется регулирование тепловой мощности калориметра, определяемой по показаниям вольтметра 13 и амперметра 12. Включение ЛАТРа и нагревателя в сеть производится выключателем 9. Для индикации работы нагревателя предусмотрена сигнальная лампа 10.
Постоянный расход воздуха через калориметр создается вентилятором 4 и определяется по показанию жидкостного тягонапоромера (ТНЖ) 7, для которого датчиком является пневмотрубка 6.
Вентилятор приводится в действие электродвигателем 5, подключаемого к сети общим выключателем 8.
Для определения разности температур воздушного потока на входе и на выходе из калориметра установлены термопары 16, термоЭДС которых регистрируется универсальным вольтметром 15, включаемым в сеть кнопкой 14.
Включение всей лабораторной установки осуществляется общим выключателем 8.
Схема экспериментальной установки.

Рис. 1.
1 - металлический корпус; 2 - тепловая изоляция; 3 - электронагревательный элемент; 4 - вентилятор; 5 - электродвигатель; 6 - пневмотрубка-расходомер; 7 - жидкостный тягонапоромер; 8 – общий выключатель; 9- выключатель нагревателя; 10 - сигнальная лампа работы нагревателя; 11 - лабораторный автотрансформатор; 12 - амперметр; 13 - вольтметр; 14 - кнопка включения универсального вольтметра; 15 - универсальный вольтметр; 16 - медь-константановые термопары.
Порядок проведения опыта.
1. Проверить, что все выключатели находятся в выключенном состоянии, рукоятка ЛАТРа - в крайнем выключенном положении, уровень воды в ТНЖ - на "нуле".
2. Замерить барометрическое давление и температуру воздуха в помещении.
3. Включить установку в сеть общим выключателем 8, при этом начнет работать вентилятор.
4. Включить кнопкой 14 универсальный вольтметр 15.
5. Включить ЛАТР выключателем 9. При этом загорается сигнальная лампа 10.
6. Установить с помощью рукоятки ЛАТРа нагрузку нагревательного элемента, ориентируясь на показания амперметра. Величина тока задается преподавателем или принимается в начале 1 А, затем для трех других режимов - 1.5, 2.2, 3 А.
7. Через 5 минут после выставления нагрузки ЛАТРом провести 2-3 измерения величины термоЭДС. При этом величина ЭДС не должна отличаться от значения ЭДС предыдущего замера более чем на 0.02 мВ. В этом случае режим можно считать установившимся.
8. При установившимся режиме необходимо произвести замеры и запись показаний остальных приборов лабораторной установки: величину тока I, напряжение U, динамическое давление Рдин. (по ТНЖ).
9. Повторить изложенное в пп. 6-8 для трех следующих режимов.
10. Закончив измерения, отключить универсальный вольтметр, с помощью рукоятки ЛАТРа уменьшить мощность нагревателя до "нуля" (нулевое показание вольтметра и амперметра) и отключить нагреватель и ЛАТР выключателем 9.
11. Через 2-3 минуты отключить вентилятор выключателем 8. Результаты замеров заносятся в протокол.
Обработка полученных данных
и оформление отчета.
1. Определяется тепловая мощность нагревательного элемента:
Q = U I, Вт, (8)
где U - напряжение, В,
I - сила тока в цепи нагревателя, А.
2. По трем последним значения термоЭДС определить среднее значение ЭДС и, пользуясь следующей зависимостью, определить повышение температуры воздуха в калориметре:
D t = 24 E, °C (9)
где E - средняя термоЭДС, мВ.
3. Из уравнения состояния идеального газа определить плотность воздуха на входе в калориметр:
, кг/м3 (10)
где Рбар - барометрическое давление воздуха, Па,
m = 28,9 - молекулярная масса воздуха, а. е. м.,
tВ -температура окружающего воздуха, °С.
4. По показанию ТНЖ определить среднюю скорость воздуха в калориметре:
, м/с (11)
где Рдин - скоростной напор, дел.
5. Определить массовый секундный расход воздуха через калориметр:
, кг/с (12)
где d = 0.05 - внутренний диаметр калориметра, м.
6. Из условия теплового баланса (равенства мощности нагревателя и количества теплоты, воспринимаемой в секунду обтекающим его воздухом) определяется теплоемкость воздуха:
, кДж/(кг °С) (13)
где t1 = tВ - температура воздуха на входе в калориметр, °С,
t2 = t1 +Dt - температура воздуха на выходе из калориметра, °С.
7. По определенным для трех режимов значениям средней теплоемкости построить график зависимости теплоемкости от средней температуры воздуха.
8. Вычислить по (7) среднюю изобарную теплоемкость воздуха сp для каждого режима по табличным данным (приложение 2).
9. Определить экспериментальную погрешность измерений для каждого режима:
, %, (14)
где сР - значение теплоемкости, полученное опытным путем (по(13)),
стаб - табличное значение теплоемкости, определенное по (1.7)
10. Рассчитать значение теплоемкостей с, используя выражение (3) и сравнить их с величиной, полученной по МКТ (Табл. 1).
Сделать вывод о величине расхождения изобарной теплоемкости, определенной в опыте, вычисленной по табличным данным и определенной по МКТ.
Отчет оформляется один на бригаду и должен содержать следующее: основные положения теории; краткое описание экспериментальной установки и схему; результаты замеров и расчетов в виде протокола, графическую зависимость теплоемкости ср от температуры. Расчеты прилагаются на отдельном листе.
Контрольные вопросы.
При допуске к лабораторной работе.
1. Что является целью работы?
2. Какой метод используется для определения теплоемкости?
3. С помощью каких датчиков определяются значения разности температур Dt?
4. Каким образом изменяется мощность нагревательного элемента?
5. По показаниям каких приборов определяется величина мощности нагревателя?
6. С помощью какого устройства измеряется расход воздуха?
7. В какой последовательности включаются элементы установки?
8. Когда производится запись показаний универсального вольтметра после включения калориметра?
9. Когда режим считается установившимся?
10. По каким значениям устанавливается нагрузка нагревателя в каждом из четырех режимов?
11. Когда производится запись показаний амперметра, вольтметра и ТНЖ?
12. После каких действий можно отключить нагреватель?
13. Когда возможно отключение вентилятора?
При защите работы.
1. Дайте определение теплоемкости.
2. Что понимается под истинной и средней теплоемкостями?
3. Как различают теплоемкость по количеству вещества, к которому подводится теплота?
4. Как различают теплоемкость в зависимости от условий протекания процесса теплообмена?
5. Чему равна теплоемкость при адиабатном и изотермическом процессах?
6. Как зависит теплоемкость идеального и реального газов от температуры?
7. Какими зависимостями связаны между собой сp и cv?
8. Как связаны между собой теплоемкости с, соб, cm?
9. Как определить теплоемкость в диапазоне температур от t1 до t2 по известным значениям теплоемкостей в диапазонах от 0 до t1 и от 0 до t2?
Протокол к лабораторной работе “Определение средней массовой изобарной теплоемкости воздуха”.
| п/п | Параметры | Обозначение | Величина, N режима | ||
| Сила тока, А | I | ||||
| Напряжение, В | U | ||||
| Тепловая мощность, Вт | Q | ||||
| Барометрическое давление, кПа | Pбар | ||||
| Температура воздуха на входе в калориметр, 0С | t1 | ||||
| Показание тягонапоромера | Дел. | ||||
| Среднее значение разности температур, 0С | Dt | ||||
| Температура воздуха на выходе из калориметра, 0С | t2 | ||||
| Массовый расход воздуха, кг/с | G | ||||
| Теплоёмкость полученная экспериментально, кДж/(кг×0С) | Cp | ||||
| Теплоёмкость по табличным данным, кДж/(кг×0С) | Cp| =Cтаб | ||||
| Теплоёмкость по МКТ, кДж/(кг×0С) | Ср= | ||||
| Экспериментальная погрешность, % | s |
Rун
Rун
Rун
Rун
Rун
=Cтаб