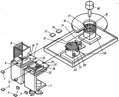
Установки ЭМ-6010, ЭМ-6010-1, ЭМ-6020 и ЭМ-6020-1 имеют одинаковую конструкцию и состоят из стола и следующих устройств: позиционирования, контактирующего и визуального наблюдения, а также шкафа электрооборудования.
Устройство позиционирования предназначено для автоматической транспортировки, ориентации и совмещения контактных площадок структур полупроводниковых пластин с зондами контактирующего устройства и состоит из механизмов загрузки и ориентации, координатного стола, блоков пневмооборудования и управления, а также пульта оператора. Механизм загрузки служит рррдля перемещения полупроводниковых пластин из подающей кассеты на диск предметного столика и далее в приемную кассету. Подлежащая контролю полупроводниковая пластина подается струей воздуха из подающей кассеты на пневмодорожку и перемещается по ней на предметный столик, плоскость которого должна быть расположена на одной высоте с рабочей плоскостью пневмодорожки или на 0,1 - 0,3 мм ниже ее. Датчик, установленный на пневмодорожке, следит за наличием на ней пластины, а фотодатчик, расположенный на предметном столике, обеспечивает его исходное положение по двум координатам и углу. После выполнения контактирования пластина перемещается с предметного столика воздухом по пневмодорожке в приемную кассету. Рабочие плоскости предметного столика и пневмодорожки в этом случае должны быть расположены так же, как при загрузке. Пневмодорожка представляет собой плиту с расположенными под углом 45° отверстиями, через которые подается воздух. Полупроводниковая пластина, попав на пневмодорожку, как бы всплывает на воздушной подушке и перемещается вдоль нее воздушным потоком. При работе установки подающая и приемная кассеты перемещаются на шаг по вертикали после поступления очередной пластины. Перемещение осуществляется винтовой парой, шестеренчатым редуктором и шаговым электродвигателем, т.е. приводом, аналогичным приводу подачи кассет в автоматах нанесения и проявления фоторезиста. Ключи управления механизма загрузки служат для согласования сигналов датчиков с логическими устройствами. Механизм ориентации служит для установки полупроводниковой пластины в определенное положение относительно ее базового среза и имеет два ролика: ведущий, получающий привод от электродвигателя, и ведомый, не имеющий привода, но вращаемый при ориентировании полупроводниковой пластины трением о нее. Когда полупроводниковая пластина струями воздуха прижимается к обоим роликам, она начинает вращаться против часовой стрелки до тех пор, пока ее базовый срез не установится на опорную поверхность планки механизма ориентации. Ведущий ролик при этом не касается поверхности пластины, поэтому она больше не поворачивается, а считается предварительно сориентированной, и датчик подает сигнал в систему управления о наличии пластины на предметном столике.
|
|
|
|
|
|
Координатный стол предназначен для точных перемещений полупроводниковых пластин по трем координатам и углу и состоит из привода, предметного столика и нагревателя. Привод представляет собой линейный шаговый электродвигатель (ЛШД), статором которого является чугунная плита с обрамлением. В плиту вклеена ферромагнитная пластина с нарезанными по координатам X и Y канавками, заполненными компаундом. Индуктором (ротором) шагового электродвигателя является система постоянных магнитов и электромагнитов, соединенных общим корпусом, на котором крепятся предметный стол, электрические коммутационные устройства и элементы пневмосистемы. Для ориентирования индуктора относительно канавок статора служат специальные регулировочные винты. Взаимодействие индуктора со статором осуществляется магнитным потоком, создаваемым при возбуждении катушки электромагнита. В результате индуктор перемещается по плите статора. В рабочем положении между плитой статора и индуктором пневмосистемой создается воздушная подушка, снижающая силы трения. Управляют ЛШД, не имеющим никаких передаточных звеньев, специальные датчики линейных перемещений, состоящие из периодической миры и фотоэлектрической анализирующей головки. Линейный шаговый электродвигатель перемещает координатный стол только по координатам Х и У. Предметный столик служит для фиксирования полупроводниковой пластины вакуумом и перемещения ее по вертикали и горизонтали на определенный угол. Для окончательной ориентации, выполняемой визуально под микроскопом, полупроводниковая пластина взвешивается над поверхностью предметного столика воздушным потоком, подаваемым из пневмосистемы. Нижнее положение предметного столика контролируется датчиком исходного положения, состоящим из фотодатчика и заслонки. Предварительная (грубая) регулировка нижнего положения предметного столика выполняется изменением высоты фотодатчика, а окончательная (точная) - поворотом эксцентрика, расположенного в заслонке. При правильной регулировке в момент срабатывания зазор между упорами, ограничивающими ход предметного столика по вертикали, должен быть 0,3-0,5 мм. На предметном столике крепится нагреватель, верхняя плоскость которого относительно корпуса установок ЭМ-6020 и ЭМ-6020-1 должна иметь электрическую емкость не более 50 пФ, а в установках ЭМ-6010 и ЭМ-6010-1 – не более 1000 пФ. Сопротивление изоляции при одном отключенном выводе нагревателя должно быть не менее 5*1010 Ом.
Блок пневмооборудования служит для управления подачей сжатого воздуха и создания вакуума, необходимых для работы механизмов загрузки и ориентации, привода и предметного столика установки. Этот блок смонтирован на раме, на которой установлены реле, регуляторы давления, манометры, электропневматические клапаны, дроссели и другие элементы пневмовакуумной системы. Установка имеет автономный блок подготовки воздуха. Проходя через фильтры грубой и тонкой очистки, воздух приобретает необходимую чистоту. Оба блока соединены между собой пневморазъемами. Блок управления представляет собой устройство, предназначенное для выполнения логических функций по формированию цифровых сигналов, поступающих на исполнительные механизмы установки. Пулы оператора служит для размещения органов управления, звуковой сигнализации и световой индикации и выполнен в виде панели, на которой находятся кнопки, счетчики, индикаторы, динамик, переключатели координат и платы-ключи управления.
|
|
|

Контактирующее устройство зондовых установок ЭМ-6010:
1 - вилка, 2 - кабель, 3 - осветитель, 4, 15 - маркирующий и зондовый наконечники, 5, 16 - коммутирующее и контактирующее устройства, 6, 7 - эксцентрики, 8 - винт, 9 - кольцо, 10 - стойка, 11 - манипулятор, 12 - экран, 13 - зонд-датчик, 14 - баллон
Контактирующее устройство служит для электрической связи контактных площадок структур полупроводниковой пластины с измерителем и состоит из кольца 9 с пазами для установки манипуляторов 11 с зондовыми 15 и маркирующими 4 наконечниками, зондов-датчиков 13, осветителя 3 и устройств коммутации.
В установках ЭМ-6020 и ЭМ-6020-1 для защиты элементов контактирующего устройства от повышенной температуры служит экран, укрепленный к кольцу 9 через стойки 10, в котором имеется трубка {отверстиями для их обдува (охлаждения) сжатым газом. Все манипуляторы с зондовыми наконечниками являются унифицированными элементами контактирующего устройства и служат для создания электрического контакта с контактными площадками структур при усилии 0,07—0,01 Н. Электрическая емкость зондов относительно корпуса должна быть не более 3 пФ, а сопротивление изоляции - не менее 1011 Ом.
В контактирующем устройстве предусмотрена индивидуальная настройка каждого зонда на контактные площадки структур, выполняемая по трем координатам: вдоль оси элемента контактирующего устройства — вращением эксцентрика 7; перпендикулярно оси в горизонтальной плоскости — вращением эксцентрика 6; по высоте — винтом 8.
Зонды-датчики служат для определения краев (формы) полупроводниковой пластины и предотвращают контактирование за ее пределами, а также обеспечивают одинаковые усилия контактирования на всех структурах полупроводниковых пластин. Установка рассчитана на работу не менее чем с двумя зондами-датчиками. Исполнение четырех зондов-датчиков расширяет возможности зондовых установок и позволяет контролировать полупроводниковые пластины любой формы. Наличие зондов-датчиков 13 предупреждает повреждение зондов 15, снижает их износ и исключает попадание маркировочной краски на поверхность предметного столика.
|
|
|
Зондовый маркирующий наконечник 4 служит для нанесения краски на бракованные структуры, устанавливается с помощью кронштейна на манипулятор и состоит из баллона для краски, корпуса, катушки и якоря со стержнем. При подаче импульса напряжения на катушку якорь втягивается в нее, выталкивает стержнем определенный объем краски на бракованную структуру и отходит в исходное положение.
Устройство визуального наблюдения (стереомикроскоп) предназначен для контроля точности совмещения контактных площадок структур микросхем с зондами установки. Механизмом подъема стереомикроскоп может перемещаться для получения необходимой резкости изображения контактируемой микросхемы и смещаться в сторону, когда необходимость в визуальном наблюдении не требуется. Установка ЭМ-6010-1 оснащена оптической головкой ОГ-1, которая выполняет те же функции, что и стереомикроскоп, и, кроме того, с ее помощью проецируют оптическую (тестовую) миру на плоскость контролируемой микросхемы.
Шкаф электрооборудования размещен на тележке, снабжен поворотным устройством и служит для электропитания установки и управления координатным столом по сигналам, подаваемым из блока логики. Рассмотрим, как работает зондовая установка, пользуясь рисунком, на котором ее отдельные элементы для наглядности разнесены.







