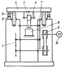
1,8 - механизмы загрузки и выгрузки, 2,3 и 23, 26 - датчики готовности механизмов загрузки и выгрузки и наличия в них пластин, 4,6 и 5,7 - датчики конечного и исходного положений механизмов загрузки и выгрузки, 9, 27 - подающая и приемная кассеты, 10, 24 - датчики положения ЛШД на позициях загрузки и выгрузки, 11, 25 - пневмодорожки, 12 - хромель-копелевая термопара для установок ЭМ-6020 и ЭМ-6020-1, 13, 15 - датчики вакуума предметного столика и наличия на нем пластины, 14, 16 - датчики давления и края, 17, 18 - устройства контактирующее и визуального наблюдения, 19 - привод, 20 - ролики механизма ориентации, 21 - предметный столик, 22 - датчик исходного положения ЛШД по высоте.
В исходном положении на механизме выгрузки 8 находится подающая кассета 27 с контролируемыми полупроводниковыми пластинами, а на механизме загрузки — пустая приемная кассета 9. С помощью датчика 10 осуществляется поворот диска предметного столика 21 и его перемещения в положение загрузки. Кроме того, диск предметного столика поднимается по вертикали под ролики механизма предварительной ориентации.
|
|
|
Работа установки начинается по сигналу датчика 24 положения ЛШД (в позиции загрузки), датчика готовности 2 и датчика 26 наличия полупроводниковой пластины на пневмодорожке 25. Пластина из подающей кассеты 27 по пневмодорожке подается на предметный столик 21. Находясь во взвешенном состоянии, пластина предварительно ориентируется по базовому срезу и фиксируется на диске предметного столика вакуумом, что контролируется датчиком 13. Затем закрепленная пластина опускается в исходное для измерения положение и перемещается вместе с координатным столом в рабочую зону контактирования. В рабочей зоне пластина поднимается вместе с предметным столиком до соприкосновения с датчиками края 16 и опускается на некоторое расстояние вниз.
В этот момент координатный стол начинает перемещаться по координате X. Оператор ориентирует пластину по углу, останавливает перемещение, совмещает контактные площадки структуры с зондами и нажатием соответствующей кнопки на пульте включает установку на автоматический режим контактирования по одному из следующих маршрутов: с места влево или вправо; обход с автоматическим поиском первой структуры; обход по заданным точкам с возможностью по сигналу измерителя перехода к выбранному заранее основному циклу.
Конструкцией установки ЭМ-6020-1 предусмотрена выдача на термопечатающее устройство в процессе автоматического обхода информации о расположении годных кристаллов на пластине, а также на термо- или цифропечатающее устройство — результатов контроля по 16 группам параметров.
|
|
|
При работе установки после нахождения датчиками края пластины происходит ее небольшой подъем с предметным столиком на расстояние, необходимое для натяга зондов до упора в контактную площадку, служащую для измерения электрических параметров контролируемой структуры. Алгоритм подъема полупроводниковой пластины с предметным столиком составлен так, что для любой контрольной структуры создается постоянный натяг зондов, необходимый для обеспечения надежного контактирования.
По окончании обхода пластины предметный столик опускается в нижнее положение (контролирует датчик 22) и привод при получении сигнала датчика 16 края перемещает координатный стол в положение выгрузки (контролирует датчик 10). По сигналам датчика 3 готовности проконтролированная пластина подается с предметного столика сжатым воздухом по пневмодорожке в приемную кассету 9, что контролируется датчиком 23. Затем предметный столик поворачивается и перемещается в положение загрузки.
При наладке механизма ориентации первоначально регулируют подачу воздуха так, чтобы полупроводниковая пластина находилась во взвешенном состоянии над предметным столиком. Затем, вращая ручку переменного резистора, устанавливают такую частоту вращения вала электродвигателя, при которой полупроводниковая пластина имеет частоту вращения 0,5-1 об/с. Одновременно датчик, сигнализирующий о наличии полупроводниковой пластины на предметном столике, выставляют, так, чтобы пластина устанавливалась своим базовым срезом по специальной планке, т.е. параллельно направлению X.
Далее регулируют, вращая винты, по верхнему и нижнему зеркалам диска предметного стола положения датчиков, обслуживающих механизмы загрузки и выгрузки. Выполнив эти регулировки, проводят комплексную проверку правильности настройки механизма ориентации при выполнении полного цикла работы установки в автоматическом режиме.
Установку зондов в одной плоскости начинают с выполнения подготовительных работ, состоящих в протирке предметного столика салфеткой и обработке зондов кисточкой. Предварительно салфетку и кисточку смачивают спиртом. Затем перемещают на (1 ±0,5) мм диск предметного столика до соприкосновения с датчиками края. После этого устанавливают зонды до соприкосновения с диском предметного столика и с помощью регулировочных винтов добиваются такого положения зондов, при котором, когда диск предметного столика перемещается по вертикали (координате Z) на 0,005 мм, на табло высвечиваются порядковые номера зондов.
Ежедневно перед началом работы следует контролировать размеры отпечатков зондов на контактных площадках структур микросхем. При натяге зондов 0,06 мм эти отпечатки должны быть не более 0,04 мм (без прокола контактной площадки). Проверку обычно выполняют на серийно выпускаемых микросхемах с размерами контактных площадок не менее 0,08X0,08 мм и толщиной напыленного алюминия не менее 0,0008 мм.
Размеры отпечатков контролируют, устанавливая на диск предметного столика три рабочих зонда или два зонда-датчика, закрепляемых на манипуляторах винтами, и одновременно включают нагреватель, установив его задатчик на температуру 150 °С (на установках ЭМ-6020 и ЭМ-6020-1), а также два осветителя. Запускают установку на работу в автоматическом режиме с одной пластиной по полному циклу: от выгрузки из кассеты и контактирования до загрузки в другую кассету. Извлекают пластину из приемной кассеты, рассматривают под микроскопом и при отсутствии проколов измеряют с помощью микроскопа УИМ-200 отпечатки зондов на поверхностях контактных площадок, сравнивая результаты с заданными.
УСТАНОВКИ ДЛЯ ИСПЫТАНИЯ ИС
Испытания ИС проводятся для выявления дефектных и потенциально ненадежных приборов, а также для подтверждения способности годных приборов функционировать в условиях воздействия окружающей среды, механических нагрузок.
|
|
|
Оборудование для механических испытаний. Стандартом установлены следующие виды механических испытаний ИС:
на отсутствие внутри корпуса частиц, способных вызвать нарушение работы прибора, например короткое замыкание выводов ИС;
на отсутствие кратковременных коротких замыканий и обрывов в цепях электродов приборов;
на устойчивость к воздействию ударных и вибрационных нагрузок;
на устойчивость к воздействию линейного ускорения.
Оборудование для механических испытаний включает устройство для создания различного вида нагрузок (вибрационных, ударных, линейных), узел закрепления приборов, а также устройство для подключения приборов и создания требуемого электрического режима. При выявлении коротких замыканий и обрывов используется соответствующая регистрирующая аппаратура.
Для создания ударных нагрузок на испытуемые приборы применяется стенд СУ-1.

Кинематическая схема ударного стенда СУ-1
Привод стенда включает электродвигатель 10, который через ременную передачу 9 и зубчатые передачи 1 и 7 вращает кулачок 6. Кулачок через ролик 5 поднимает стол 4 в крайнее верхнее положение, после чего стол падает вниз на упоры 2, перемещаясь на штоках 3. Зубчатые шестерни 1 и 7 получают смазку за счет разбрызгивания масла из ванны 8 при вращении кулачка 6. Приборы закрепляются на столе 4 в кассетах, при необходимости они могут подключаться к системе электропитания. Число ударов в единицу времени регулируется в диапазоне 10... 100 мин-1 изменением числа оборотов электродвигателя постоянного тока 10. Ударная нагрузка изменяется подбором сменных прокладок на упорах 2.

Кинематическая схема вибрационного стенда ВС-68
Вибрационный стенд ВС-68 позволяет создавать вибрационные нагрузки с частотой 10... 80 Гц и амплитудой колебаний 0,1... 0,5 мм. Имея грузоподъемность до 15 кг, стенд обеспечивает линейные вибрационные ускорения в пределах 0,49... 246 м/с2 (0,05...25 g). Кассеты с приборами закрепляются на рабочем столе 1, связанном через шток 2, шайбу 3, амортизационную пружину 4 и сферическую шайбу 5 с вибратором 6. Для создания вибраций электродвигатель 11 через ременную передачу 10 и пару зубчатых колес 9 вращает валы 7 и 8. Закрепленные на валах подвижные 13 и неподвижные 12 секторы вращаются с одинаковой угловой скоростью в противоположных направлениях. Подвижные секторы размещаются ассимметрично относительно неподвижных, поэтому при их вращении вертикальные составляющие неуравновешенных инерционных сил суммируются, приводя к вертикальным перемещением вибратора 6 и стола 1. Амплитуду колебаний регулируют перемещением подвижных секторов относительно неподвижных, частота колебаний регулируется изменением частоты вращения электродвигателя.
|
|
|
При необходимости испытаний ИС при повышенных частотах вибрации (500... 1000 Гц) используют электродинамические вибрационные стенды. В таких стендах стол с приборами получает вибрации от сердечника, помещенного в переменное электромагнитное поле.
Испытания на отсутствие кратковременных обрывов и коротких замыканий проводятся соответственно на ударных и вибрационных стендах. Приборы подключаются к индикаторным устройствам, регистрирующим импульсные сигналы в случае кратковременных коротких замыканий или обрывов.
При испытаниях ИС на устойчивость к воздействию линейных ускорений, проводимых на центрифугах, проверяется способность приборов выполнять свои функции при инерционных нагрузках. Контролируются также прочность присоединения кристалла прибора к корпусу и выводов к контактным площадкам, качество герметизации прибора.
Приборы считаются выдержавшими механические испытания, если у них не было обнаружено нарушений контактов, коротких замыканий и обрывов в цепях электродов, а также их электрические параметры не вышли за пределы, установленные техническими условиями.
Оборудование для климатических испытаний. Климатическое испытательное оборудование предназначено для проведения испытаний ИС на тепло-, холодо- и влагоустойчивость, на устойчивость к циклическому воздействию температур, пониженного и повышенного давления, морского тумана, на грибоустойчивость.
Для испытаний на устойчивость к воздействию климатических факторов применяется специализированное и универсальное оборудование различной степени автоматизации.
Рассмотрим на примере установок для испытаний на влагоустойчивость и на циклическое воздействие температур особенности оборудования для климатических испытаний ИС.
Камера тепла и влаги КТВ-0,16-155, предназначенная для испытаний на влагоустойчивость, показана на рисунке ниже.

Схема камеры тепла и влаги КТВ-0,16-155
Автоматические системы регулируют влажность в пределах (50...... 100) ±3 % и температуру в диапазоне 298... 428 К (25...155°С) с погрешностью ±(2... 5)К. Нагрев воздуха и его циркуляция внутри камеры осуществляются нагревателем 3 и вентилятором 9. Для контроля и поддержания температуры используются датчик4 и регулятор температуры 5, оснащенный самопишущим прибором. В случае превышения заданной температуры через заслонку 10из камеры выпускается горячий воздух, а через заслонку 2 подается холодный воздух. Аварийный термометр 8 отключает нагреватель и включает систему сигнализации при резком повышении температуры в случае неисправностей нагревателя или системы регулирования температуры.
Система создания влажности включает увлажнитель 13 с нагревателем 14, контрольным термометром 12 и бачком 11 для поддержания уровня воды в увлажнителе. Центробежный вентилятор 1 обеспечивает циркуляцию увлажненного воздуха в замкнутой системе камера — вентилятор-испаритель — камера. Для контроля и поддержания требуемой влажности используется психрометр 6, датчик 7 которого устанавливается в камере.
Установка термоциклирования ТО-5081 содержит одну рабочую камеру проточного типа, в которой испытываемые приборы находятся в течении всего периода испытаний. При этом приборы попеременно подвергаются воздействию газа высокой до 398 К (+125С) и низкой до 213 К (-60C) температур.
Рабочая камера 10(рисунок ниже) выполнена, в видетонкостенной оболочки толщиной 0,8 мм из нержавеющей стали, усиленной швеллерообразным профилем из той же стали. Камера связана с верхним 1 и нижним 11 переключателями потока газов, представляющими собой тонкостенные стаканы, вращающиеся в текстолитовом корпусе на насыпных шарикоподшипниках большого диаметра.

Схема полуавтомата термоциклирования ТО-5081
Контур тепла установки содержит основной канал 7 и вспомогательный 5, контур холода — основной канал 12 и вспомогательный 13. Во вспомогательных каналах размещены поворотные устройства 2 и 14.
После загрузки испытуемых изделий в рабочую камеру переключатели потока газов устанавливаются в такое положение, при котором камера сообщается с контуром тепла. При этом поворотные запирающие устройства 2 и 14 закрывают вход во вспомогательный канал 5. Создаваемый центробежным вентилятором 9 поток газа, нагретый до заданной температуры электрическим нагревателем, циркулирует через камеру в основной канал, образуя рабочий замкнутый контур. В это время испытуемые изделия будут нагреваться до заданной температуры. Одновременно создаваемый вторым центробежным вентилятором поток газа, охлажденный испаряющимся жидким азотом, циркулирует по основному каналу 12 и вспомогательному каналу 13, образуя холостой замкнутый контур. Таким образом, в установке одновременно циркулируют два потока газа: рабочий — через камеру с изделиями и один из основных каналов (тепла или холода) и холостой в контуре с противоположной температурой для поддержания ее на заданном уровне. В канале тепла установлен нагреватель 8 модульной конструкции, состоящий из шести одинаковых нагревательных элементов. Каждый из элементов выполнен из двух отдельных открытых спиралей, закрепленных на керамических трубках, расположенных в шахматном порядке в каркасе из нержавеющей стали.
В центре камеры 10 расположен блок термоэлементов 6, служащий датчиком в системе регулирования температуры. В патрубке 3 дополнительно установлено термореле 4 для аварийного отключения полуавтомата в случае превышения нормы температуры в рабочем канале. Температура в рабочем и холостом контурах поддерживается системой терморегулирования. По истечении времени выдержки изделий при повышенной температуре переключатели каналов автоматически подключают канал холодного воздуха к рабочей камере, а канал теплого— в режим холостого хода.
В полуавтомате ТО-5081 количество циклов задается заранее специальным устройством на пульте управления, и по истечении времени всех циклов полуавтомат отключается и сигнализирует об окончании испытаний.
Основные технические данные полуавтомата термоциклирования ТО-5081:
Полезный объем камеры....... 80 дм3
Удельный расход жидкого азота на 1кг испытуемых изделий в 1 ч........ 4 кг
Расход сжатого воздуха....... 5 м3/ч
Максимальная масса испытуемых изделий, одновременно загружаемых в камеру..... 43 кг
Диапазон рабочих температур......208... 473 К(—65...+200°С)
Колебания температуры в точке.....±2 К
р






