Корпусные детали механизмов (у нас это корпус и крышка редуктора) весьма сложны для моделирования из-за наличия различных конструктивных элементов: опорных лап, фланцев, бобышек, отверстий под крепежные болты и т. п. Более того, любая такая деталь (неважно, это корпус редуктора или самолета) кроме технологических должна отвечать определенным эстетическим требованиям, что еще более усложняет проектирование и моделирование изделия.
Известно, что чем сложнее деталь, тем больше способов для ее создания можно придумать. Очевидно, что способ для построения корпуса редуктора, предложенный в этой книге, далеко не единственный и, возможно, не самый лучший. Однако я считаю его самым простым и наиболее подходящим для обучения разработке действительно сложных моделей. Можете быть уверены: если вы самостоятельно и, главное, досконально разберетесь в приведенном примере, вы сможете создать любые другие детали.
Начнем, как обычно, с создания документа КОМПАС-Деталь, установки ориентации Изометрия XYZ и сохранения пока еще пустого документа в файл под именем Корпус.m3d.
|
|
|
Очень важно для столь больших и сложных моделей правильно выбрать часть детали, которая будет служить основанием в модели. Предлагаю в качестве основания принять фланец корпуса, потому что именно его длина и ширина определяют габариты корпуса, что позволит нам при дальнейшей разработке модели так или иначе от него отталкиваться.
1. Выделите плоскость ZX и запустите процесс создания эскиза на ней. Размеры фланцев корпуса мы проработали при выполнении чертежа редуктора. Можете построить их снова в эскизе (в гл. 2 это было детально описано), а можете скопировать изображение из чертежа (вида сверху). Если вы решили копировать изображение, привязываться нужно к точке начала координат вида (пересечение осей), поскольку мы будем строить корпус, как и другие детали, таким образом, чтобы сразу вставить его в сборку и не спрягать.
2. Перед продолжением работы эскиз нужно немного подправить. Во-первых, следует убрать изображение опорных поверхностей бобышек и мест крепления крышек подшипников – они будут формироваться позже. Во-вторых, следует оставить на фланце все изображения отверстий (отверстий именно во фланцах, а не в бобышках). В-третьих, весь эскиз необходимо повернуть на 90° против часовой стрелки. Полученный эскиз должен выглядеть как на рис. 3.71.

Рис. 3.71. Эскиз для формирования фланца корпуса
3. После завершения редактирования эскиза создайте фланец, выдавив эскиз с помощью команды Операция выдавливания в сторону, противоположную нормали, на расстояние 13 мм (толщина фланца корпуса). Лучше в поле Расстояние 2 на панели свойств ввести значение 13, 01, а не ровно 13. Это связано с тем, что в дальнейшем мы будем «приклеивать» к фланцу стенки и другие элементы корпуса, и будет лучше, если они будут немного пересекаться (при «приклеивании» встык позже могут возникнуть ошибки расчета геометрии модели, не зависящие от пользователя).
|
|
|
4. Перейдем к созданию стенок корпуса. Начнем с передней стенки. Выделите нижнюю плоскую грань фланцев и вызовите команду Эскиз. Привязываясь к уже существующей геометрии 3D-модели, постройте эскиз, показанный на рис. 3.72. Расстояние между параллельными линиями контура равно толщине стенки корпуса, то есть 8 мм. Закончите построение эскиза, отжав кнопку Эскиз на панели Текущее состояние.

Рис. 3.72. Эскиз профиля передней стенки редуктора
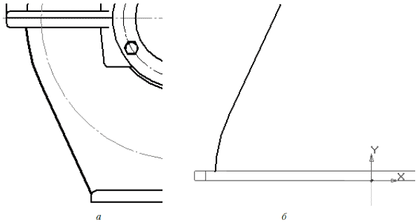
5. Теперь начните создание эскиза в плоскости ZY. Нарисуйте в нем кривую, очерчивающую изгиб передней стенки редуктора (рис. 3.73). Ее также можно скопировать с главного вида чертежа редуктора (так будет даже точнее). При создании этого эскиза необходимо учесть, что система, устанавливая ориентацию по нормали к плоскости эскиза, разворачивает модель вверх дном. Это значит, что изображения всех эскизов, размещенных в плоскости ZY или параллельных ей плоскостях (которые отвечают изображениям главного вида), придется рисовать симметрично относительно горизонтальной оси. Проще говоря, «вверх ногами».

Рис. 3.73. Изгиб передней стенки редуктора: кривая на чертеже (а) и ее размещение в эскизе (б)
Внимание!
Начало траектории должно лежать точно в плоскости эскиза кинематической операции. Из этого следует, что если вы выдавили фланец на 13, 01 мм, то и ордината начала траектории во втором эскизе должна равняться 13, 01 мм. Не больше и не меньше (потому что эскиз лежит в нижней горизонтальной грани фланца). Иначе вы просто не сможете выполнить кинематическую операцию.
6. Создав эти два эскиза, нажмите кнопку Кинематическая операция панели Редактирование детали и постройте переднюю стенку редуктора. В качестве базового эскиза укажите профиль стенки, а в качестве траектории – только что созданную кривую-контур корпуса. В группе кнопок Движение сечения нажмите кнопку Параллельно самому себе. Создайте кинематическую операцию. В результате к фланцу редуктора будет «приклеена» его передняя стенка (рис. 3.74).

Рис. 3.74. Добавление передней стенки корпуса редуктора
7. Аналогично создайте и заднюю стенку корпуса редуктора. Эскиз кинематической операции будет иметь ту же форму, что и на рис. 3.72, только разместится на левой стороне фланца (в режиме редактирования эскиза – в нижней части эскиза). Направляющую можно скопировать с главного вида чертежа. Полученная стенка показана на рис. 3.75. Направляющие обеих операций кинематического «приклеивания» больше не будут использоваться, поэтому их можно спрятать.

Рис. 3.75. Добавление задней стенки корпуса редуктора
8. Теперь можно перейти к построению боковой стенки. Ее можно выполнить обычным выдавливанием на величину толщины стенок, просто заполнив материалом детали промежуток между задней и передней стенками корпуса. Эскиз операции выдавливания должен повторять контуры краев уже построенных стенок и фланца корпуса (рис. 3.76). Опорная плоскость эскиза – внутренняя торцевая грань фланца (вдоль его длинной стороны). Полагаю, вам будет несложно его построить.

Рис. 3.76. Эскиз для выдавливания боковой стенки корпуса редуктора
9. Завершив построение эскиза, выполните операцию выдавливания, установив обратное направление действия операции, а величину выдавливания равной 8 мм (рис. 3.77).

Рис. 3.77. Добавление боковой стенки корпуса редуктора
Вторую боковую стенку пока не создавайте, мы к ней приступим чуть позже.
|
|
|
10. Следующим шагом в построении модели корпуса будет создание мест крепления крышек подшипников. Вернитесь к чертежу редуктора и определите расстояние от внешней поверхности боковой стенки редуктора до опорной поверхности, на которую ложится торец крышки подшипника. Это расстояние составляет 40 мм. Создайте плоскость, смещенную наружу из корпуса редуктора, удаленную на указанное расстояние от внешней поверхности корпуса (напомню, для этого следует воспользоваться командой Смещенная плоскость).
Эту плоскость желательно сразу сделать невидимой. Создайте на этой плоскости эскиз, состоящий из полуокружности радиусом 100 мм (радиус крышки подшипника ведомого вала) с центром в точке начала координат и отрезка, соединяющего концы построенной дуги (рис. 3.78). Завершите создание эскиза.

Рис. 3.78. Эскиз для формирования мест крепления крышек подшипника
11. Теперь создайте точно такой же эскиз на внешней грани боковой стенки корпуса (на той грани, относительно которой и была смещена на 40 мм вспомогательная плоскость). Только радиус полуокружности сделайте немного больше, например 106 мм, чтобы место крепления крышки было сформировано с небольшим уклоном. Обязательно соедините концы построенной дуги отрезком.
12. Нажмите кнопку Операция по сечениям на панели Редактирование детали. В качестве исходных объектов для данной команды укажите два только что созданных эскиза. В модели сформируется место под крышку подшипника ведомого вала (рис. 3.79) с небольшим уклоном, поскольку радиус полуокружности второго эскиза мы принимали немного большим.

Рис. 3.79. Место крепления крышки подшипника
13. Аналогично постройте место крепления крышки подшипника ведущего вала. При этом используйте уже созданную смещенную плоскость и внешнюю грань стенки корпуса. Радиусы полуокружностей составляют 88 и 94 мм соответственно (размеры под крышку подшипника быстроходного вала). Кроме того, центры окружностей смещены в эскизах влево на величину межосевого расстояния передачи (259 мм). Материал, как и для тихоходного вала, добавьте с помощью операции по сечениям.
|
|
|
14. Как видите, на корпусе вокруг мест крепления крышек не хватает бобышек под болты, стягивающих корпус и крышку редуктора. Создадим их. Выделите плоскость ZX и постройте в ней эскиз первого сечения бобышки (рис. 3.80). Координаты центра полуокружности посмотрите на чертеже. Они должны совпадать с координатами центра отверстия под болт в бобышке, а радиус полуокружности задайте равным 25, 5 мм.

Рис. 3.80. Эскиз первого сечения бобышки
15. Наверное, вы уже поняли, что бобышки мы также будем создавать с помощью операции по сечениям. Из этого следует, что нам необходимо выполнить хотя бы еще одно сечение. Постройте вспомогательную плоскость, параллельную плоскости ZX и смещенную вниз от нее на величину 70 мм (высота бобышек, определенная с чертежа). Создайте на этой плоскости эскиз, в котором разместите окружность радиусом 16 мм. Центр окружности должен иметь те же координаты, что и центр дуги в эскизе первого сечения.
16. По двум построенным эскизам создайте операцию по сечениям, в результате получится первая бобышка со стороны ведомого вала. Чтобы создать вторую такую же бобышку (рис. 3.81), зеркально отобразите ее относительно плоскости XY. Для этого используйте команду Зеркальный массив панели Редактирование детали, после вызова которой сначала выделите в дереве построения плоскость симметрии, а затем объект для копирования – операцию по сечениям, сформировавшую первую бобышку. Для создания зеркальной копии нажмите кнопку Создать объект.

Рис. 3.81. Бобышки
17. По такому же принципу строятся бобышки на местах крепления крышек ведущего вала. Однако перед тем, как выполнить зеркальное отображение, необходимо будет создать вспомогательную плоскость, параллельную плоскости XY и смещенную от нее в обратном направлении на величину межосевого расстояния. Именно эту плоскость следует указать при следующем выполнении команды Зеркальный массив для создания копии бобышки справа от тихоходного вала.