BV2; A|VBVBV|2; - твердые растворы: GeSi, GaAs1-xPx и др. Собственные и примесные полупроводники. Как и в металлах, электрический ток в полупроводниках связан с дрейфом носителей заряда. Но если в металлах наличие свободных электронов обусловлено природой металлической связи, то появление носителей заряда в полупроводниках определяется рядом факторов, важнейшими из которых являются чистота материала и температура. В зависимости от степени чистоты полупроводники подразделяют на собственные и примесные. Полупроводник, в котором в результате разрыва связей образуется равное количество свободных электронов и дырок, называется собственным. Каждый атом на своей внешней оболочке содержит четыре электрона. Каждый из этих электронов создает пару с электроном соседнего атома, образуя ковалентную связь. С повышением температуры некоторые электроны разрывают ковалентную связь и переходят в зону проводимости (рис.27, а). Рис.27 В кристалле собственного полупроводника каждому электрону в зоне проводимости соответствует одна дырка, оставленная им в валентной зоне. В этом случае свободный электрон обладает большей энергией, на значение энергии ширины запрещенной зоны. Так как при каждом акте возбуждения в собственном полупроводнике одновременно создаются два носителя заряда противоположных знаков, то общее количество носителей заряда в 2 раза больше числа электронов в зоне проводимости. При приложении к кристаллу внешнего электрического поля свободные электроны перемещаются против поля (из-за отрицательного заряда), а дырки - в направлении поля. Но электроны, хотя и движутся в противоположном направлении, создают обычный ток, совпадающий с внешним приложенным полем. Следовательно, электронный и дырочный токи текут в одном и том же направлении и поэтому складываются. Для большинства полупроводниковых приборов используются примесные полупроводники. Полупроводник, имеющий примеси, называется примесным, а проводимость, созданная введенной примесью, называется примесной проводимостью. Если в полупроводник IV группы таблицы Менделеева ввести в качестве примеси мышьяк, то атому примеси для завершения ковалентных связей с атомами основного вещества необходимо четыре валентных электрона. Пятый электрон атома примеси в ковалентной связи не участвует. Со своим атомом он связан силой ку-лоновского взаимодействия. Энергия этой связи невелика (сотые доли электрон-вольта). Так как при комнатной температуре тепловая энергия kT= 0,026 эВ, то очевидно, что при этой температуре происходит ионизация примесных атомов мышьяка вследствие отрыва пятого валентного электрона, который становится свободным. Наряду с ионизацией примеси может происходить и ионизация атомов основного вещества. Но в области температур ниже той, при которой имеет место значительная собственная проводимость, число электронов, оторванных от примеси, значительно больше числа электронов и дырок, образовавшихся в результате разрыва ковалентных связей. Следовательно, преобладающее значение в проводимости кристалла имеют электроны, и поэтому они называются основными носителями заряда, а дырки - неосновными. Такой полупроводник называется электронным, или п-типа, а примесь, отдающая электроны, носит название донорной. На энергетической диаграмме наличие примеси в решетке полупроводника характеризуется появлением локального энергетического уровня, лежащего в запрещенной зоне. Так как при ионизации атома мышьяка образуется свободный электрон и для его отрыва требуется значительно меньшая энергия, чем для разрыва ковалентных связей кремния, то энергетический уровень донорной примеси должен располагаться в запрещенной зоне на небольшой глубине под «дном» зоны проводимости (рис. 27, б). Если в полупроводник IV группы таблицы Менделеева ввести элемент III группы, например алюминий, то все три валентных электрона примесного атома будут участвовать в образовании ковалентных связей, одна из четырех связей с ближайшими атомами основного вещества окажется незавершенной. В незаполненную связь около атома алюминия благодаря тепловой энергии может перейти электрон от соседнего атома основного вещества. При этом образуются отрицательный ион алюминия и свободная дырка, перемещающаяся по связям основного вещества и, следовательно; принимающая участие в проводимости кристалла. Примесь, захватывающая электроны, называется акцепторной. Для образования свободной дырки за счет перехода электрона от атома основного вещества к атому примеси требуется значительно меньше энергии, чем для разрыва ковалентных связей кремния. Поэтому количество дырок может быть значительно больше количества свободных электронов и проводимость кристалла будет дырочной. В таком полупроводнике основными носителями заряда являются дырки, а неосновными - электроны. Полупроводник с акцепторными примесями называется дырочным полупроводником или р-типа. На энергетической диаграмме, представленной на рис.27,в, акцепторная примесь имеет энергетический уровень Wa, расположенный на небольшом расстоянии над потолком валентной зоны. При ионизации акцепторной примеси происходит переход электрона из валентной зоны на уровень Wa, а в валентной зоне появляется дырка, которая и является свободным носителем заряда. В полупроводниках могут одновременно содержаться донорная и акцепторная примеси. Такие полупроводники называются компенсированными. Электропроводность полупроводников. В собственном полупроводнике носителями заряда являются свободные электроны и дырки, концентрации которых одинаковы. При наличии внешнего электрического поля плотность электронной составляющей тока, который протекает через собственный полупроводник, т. е. число электрических зарядов переносимых за единицу времени через единицу площади, перпендикулярной направлению электрического поля, Jn = q·n·vn где q = 1,6-10-19 - заряд электрона, Кл; п - концентрация электронов зоны проводимости, м-3; vn - средняя скорость упорядоченного движения электронов, возникшая под действием электрического поля (дрейфовая скорость), м/с. Обычно скорость vn пропорциональна напряженности поля: Vn = μn·E где μn - коэффициент пропорциональности, называемый подвижностью, м2/(В·с). Закон Ома в дифференциальной форме: Jn = E·σn = E/ρn, где σn = q·n·μn - удельная электрическая проводимость полупроводника, обусловленная электронами, См/м; ρ = 1/σ - удельное электрическое сопротивление, Ом·м. Аналогично, дырочная составляющая плотности тока для собственного полупроводника: Jp = E· q·p·μp, где р - концентрация дырок валентной зоны, м-3; μp - подвижность дырок, м2/(В·с). Удельная электрическая проводимость полупроводника, обусловленная дырками, σp= q·p·μp. Суммарная плотность тока через собственный полупроводник j = jn + jp = (q·n·μn + q·p·μp)E. Удельная электрическая проводимость собственного полупроводника σi = σn + σp = q·n·μn + q·p·μp = q·ni(μn + μp). В примесном полупроводнике при комнатной температуре примесь полностью ионизирована и, следовательно, проводимость определяется свободными подвижными носителями заряда, электронами и дырками в n- и p-полупроводниках соответственно: σn = q·nn·μn, σp = q·pp·μp, где пn и рp - концентрация основных носителей заряда электронов и дырок соответственно. Так как концентрация и подвижность свободных носителей заряда зависят от температуры, то и удельная проводимость также зависит от температуры. При этом для концентрации свободных носителей заряда характерна экспоненциальная зависимость, а для подвижности - степенная. Для собственного полупроводника, у которого ΔW» kT, и с учетом того, что степенная зависимость слабее экспоненциальной, можно записать где ΔW - ширина запрещенной зоны; k - постоянная Больцмана; Т- абсолютная температура; σ0 - множитель, не зависящий от температуры; он должен выражать σ при Т =, т.е. когда все валентные электроны перешли в зону проводимости. График зависимости σ(T) удобно построить, прологарифмировав это выражение: ln σ = ln σ0 – ΔW / kT. Для примесного полупроводника электропроводность: , где ΔWa - энергия ионизации примесей. На рис.28 представлена температурная зависимость полупроводника с различной концентрацией примеси. Рис. 28 Повышение удельной проводимости полупроводника с увеличением Т в области низких температур обусловлено увеличением концентрации свободных носителей заряда за счет ионизации примеси (рис. 28, участки ab, de,kl). Наклон примесного участка кривой зависит от концентрации примесей. С ростом концентрации атомов примеси в полупроводнике уменьшается наклон кривой к оси абсцисс, и она располагается выше. Это объясняется тем, что наклон прямой в области примесной проводимости определяется энергией ионизации примеси. С увеличением концентрации примеси энергия ионизации уменьшается и соответственно уменьшается наклон прямых. При дальнейшем повышении температуры наступает истощение примеси - полная ее ионизация. Собственная же электропроводность заметно еще не проявляется. В этих условиях концентрация свободных носителей от температуры не зависит, и температурная зависимость удельной проводимости полупроводника определяется зависимостью подвижности носителей заряда от температуры. Резкое увеличение удельной проводимости при дальнейшем росте температуры соответствует области собственной электропроводности. В сильных электрических полях нарушается линейность закона Ома j = σ·Е. Минимальную напряженность электрического поля, начиная с которой не выполняется линейная зависимость тока от напряжения, называют критической. Эта граница не является резкой и определенной и зависит от природы полупроводника, концентрации примесей, температуры окружающей среды. Так как удельная проводимость определяется концентрацией свободных носителей заряда и их подвижностью, то линейность закона Ома нарушается в том случае, когда по крайней мере одно из этих значений зависит от напряженности электрического поля. Если изменение абсолютного значения скорости свободного носителя заряда под действием внешнего поля на среднем пути между соударениями сравнимо с тепловой скоростью, то подвижность носителей заряда зависит от электрического поля, причем она может увеличиваться или уменьшаться в зависимости от температуры окружающей среды. Воздействие сильного электрического поля приводит к значительному росту концентрации свободных носителей заряда. Под воздействием внешнего электрического поля напряженностью Е на полупроводник его энергетические зоны становятся наклонными. На рис.29 представлены электрические зоны полупроводника в сильном электрическом поле. Рис.29 В сильном электрическом поле при наклоне зон возможен переход электрона из валентной зоны и примесных уровней в зону проводимости без изменения энергии в процессе туннельного «просачивания» электронов через запрещенную зону. Этот механизм увеличения концентрации свободных носителей под действием сильного электрического поля называют электростатической ионизацией, которая возможна в электрических полях с напряженностью примерно 108 В/м. На рис.30 представлена зависимость проводимости полупроводника от напряженности внешнего электрического поля. Рис.30 На рис.30 участок 1 соответствует выполнению линейности закона Ома, 2 - термоэлектронной ионизации, 3 -электростатической и ударной ионизации, 4 - пробою. Проводимость твердого кристаллического тела изменяется от деформации из-за увеличения или уменьшения (растяжение, сжатие) междуатомных расстояний приводит к изменению концентрации и подвижности носителей заряда. Концентрация меняется вследствие изменения ширины энергетических зон полупроводника и смещения примесных уровней, что приводит к изменению энергии активации носителей заряда и, следовательно, к уменьшению или увеличению концентрации. Подвижность меняется из-за увеличения или уменьшения амплитуды колебания атомов при их сближении или удалении. Изменение удельной проводимости полупроводников при определенном виде деформации характеризует тензочувствителъность:, которая представляет собой отношение относительного изменения удельного сопротивления к относительной деформации в данном направлении. Фотопроводимость полупроводников. Перевод электрона в свободное состояние или образование дырки может осуществляться также под воздействием света. Энергия падающего на полупроводник света передается электронам. При этом энергия, передаваемая каждому электрону, зависит от частоты световых колебаний и не зависит от яркости света (силы света). С увеличением яркости света возрастает число поглощающих свет электронов, но не энергия, получаемая каждым из них. Для определенного полупроводника существует пороговая длина волны, определяемая энергией кванта, достаточной для возбуждения и перехода электрона с самого верхнего уровня валентной зоны на самый нижний уровень зоны проводимости, т.е. равная ширине запрещенной зоны. Фотопроводимость полупроводника определяется: σф = q·Δn·μn где Δn - дополнительное число электронов, образовавшихся в полупроводнике вследствие облучения его светом. Освобожденные светом электроны находятся в зоне проводимости очень короткое время (10-3 – 10-7 с). При отсутствии внешнего электрического поля они хаотически перемещаются в междуатомных промежутках. Когда к кристаллу приложена разность потенциалов, они участвуют в электропроводности. После окончания освещения образца электроны переходят на более низкие энергетические уровни - примесные или в валентную зону. При непрерывном освещении полупроводника устанавливается динамическое равновесие между образующимися дополнительными (неравновесными) носителями и уходящими на нижние уровни, т.е. устанавливается динамическое равновесие между процессами генерации носителей заряда и их рекомбинацией.
Сущность явления Зеебека состоит в том, что в электрической цепи, состоящей из последовательно соединенных разнородных полупроводников или полупроводника и металла, возникает ЭДС, если между концами этих материалов существует разность температур. Свободные носители заряда у горячего конца имеют более высокие энергии и количество их больше, чем у холодного. Поэтому больше поток носителей от горячего конца к холодному. В результате на концах полупроводника накапливается заряд. По знаку термоЭДС можно судить о типе электропроводности полупроводника.
Эффект, обратный явлению Зеебека, называется эффектом Пельтье. Он состоит в том, что при прохождении тока через контакт двух разнородных полупроводников или полупроводника и металла происходит поглощение или выделение теплоты в зависимости от направления тока.
Эффект томпсона заключается в выделении или поглощении теплоты при прохождении тока в однородном материале, в котором существует градиент температур. Наличие градиента температур в полупроводнике приводит к образованию термоЭДС.
Гальваномагнитные эффекты в полупроводниках возникают при воздействии электрического и магнитного полей. Один из них эффект Холла заключается в следующем. Если полупроводник, вдоль которого течет электрический ток, поместить в магнитное поле, перпендикулярное направлению тока, то в полупроводнике возникнет поперечное электрическое поле, перпендикулярное току и магнитному полю.
На рис.31 изображена пластинка полупроводника п-типа. Электрическое поле Е направлено параллельно оси Z, а магнитное поле Н – вдоль оси Y. На движущийся ав магнитном поле электрон действует сила Лоренца, которая отклоняет его в направлении, перпендикулярном направлению магнитного поля. В результате электроны накапливаются у одного из торцов образца. На противоположной грани создается положительный нескомпенсированный заряд, обусловленный ионами донорной примеси. Такое накопление зарядов происходит до тех пор, пока действие возникшего электрического поля не уравновесит действующую на электрон силу Лоренца.

Рис.31
Электронно-дырочный переход является основным элементом структуры большинства типов полупроводниковых приборов. Он представляет собой переходной слой в полупроводниковом материале между двумя областями с различнымти типами проводимости или разными значениями удельной электропроводности, причем одна из областей может быть металлом.
Германий - один из наиболее тщательно изученных полупроводников, и многие явления, характерные для полупроводников, впервые экспериментально были обнаружены на этом материале.
Слитки предварительно очищенного германия используют в качестве исходного материала для получения особо чистого германия методом зонной плавки или же непосредственного получения монокристаллов методом вытягивания из расплава.
Сущность метода зонной плавки заключается в том, что узкая расплавленная зона перемещается вдоль горизонтально расположенного образца, находящегося в графитовой или кварцевой «лодочке». Примеси, имеющиеся в образце, оттесняются к концу слитка. Для высококачественной очистки весь процесс повторяют много раз или используют установки более совершенной конструкции, позволяющие создавать вдоль слитка одновременно четыре или пять расплавленных зон.
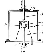
Для получения монокристалла по методу вытягивания из расплава тщательно очищенный от примесей германий расплавляют в установке. Схема установки для выращивания монокристаллов методом Чохральского представлена на рис.32

Рис. 32
Рабочим объемом служит герметическая водоохлаждаемая камера, внутри которой создается вакуум давлением 10-4Па или защитная газовая среда (водоро или аргон). Материал 2 помещается в тигель 3, насаженный на конец водоохлаждаемого штока 4. Шток 4 при помощи электропривода приводится во вращение с постоянной скоростью. Его можно опускать или поднимать для подбора оптимального положения тигля с расплавом по отношению к нагревательному элементу 5. На нижнем конце штока 1 крепится монокристаллическая затравка. Затравка вводится в расплав и выдерживается в нем, пока не произойдет оплавление поверхности. После этого затравку, вращая, начинают медленно поднимать. За затравкой тянется жидкий столбик расплава, удерживаемый поверхностным натяжением. Попадая в область низких температур над поверхностью тигля, расплав затвердевает, образуя одно целое с затравкой. Этим способом получают монокристаллы германия диаметром до 100 мм.
На электрические свойства германия оказывает сильное влияние термообработка. Если образец п- типа нагреть до температуры выше 550 °С, а затем резко охладить (закалить), то изменяется тип электропроводности. Аналогичная термообработка германия р-типа приводит к снижению удельного сопротивления, без изменения типа электропроводности. Отжиг закаленных образцов при температуре 500...550°С восстанавливает не только тип электропроводности, но и первоначальное удельное сопротивление.
Германий применяется для изготовления диодов различных типов, транзисторов, датчиков ЭДС Холла, тензодатчиков. Оптические свойства германия позволяют его использовать для изготовления фотодиодов и фототранзисторов, модуляторов света, оптических фильтров, а также счетчиков ядерных частиц. Рабочий диапазон температур германиевых приборов от -60 до +70 ° С.
Кремний является одним из самых распространенных элементов в земной коре; его содержание в ней примерно 29%. Однако в свободном состоянии в природе он не встречается, а имеется только в соединениях в виде оксида и в солях кремниевых кислот. Чистота природного оксида кремния в виде монокристаллов кварца иногда достигает 99,9%.
Технический кремний содержит примерно 1% примесей, и как полупроводник использован быть не может. Он является исходным сырьем для производства кремния полупроводниковой чистоты, содержание примесей в котором должно быть менее 10-6%.
Технология получения кремния полупроводниковой чистоты включает в себя следующие операции: превращение технического кремния в легколетучее соединение, которое после очистки может быть легко восстановлено; очистка соединения физическими и химическими методами; восстановление соединения с выделением чистого кремния; конечная очистка кремния методом бестигельной зонной плавки; выращивание монокристаллов.
Объемные кристаллы кремния получают методами выращивания из расплава и бестигельной вертикальной зонной плавки, схема которой представлена на рис.33.
В этом методе узкая расплавленная зона 2 удерживается между твердыми частями слитка (1 - монокристаллическая, 4 – поликристаллическая часть) благодаря силам поверхностного натяжения. Расплавление слитка осуществляется с помощью высокочастотного индуктора 3; процесс происходит в вакууме или в атмосфере защитной среды.

Рис.33
Кристаллы кремния п - и р-типов получают введением при выращивании соответствующих примесей, среди которых наиболее часто используются фосфор и бор.
Проводимость кремния, как и германия, очень сильно изменяется из-за присутствия примесей. На рис.34 приведены зависимости удельного сопротивления кремния и германия от концентрации примесей.

Рис.34
Кремний является базовым материалом полупроводниковой электроники. Он используется как для создания интегральных микросхем, так и для изготовления дискретных полупроводниковых приборов. Полупроводниковые интегральные микросхемы, отличающиеся малыми размерами и сложной конфигурацией активных областей, особенно широко применяются в вычислительной технике и радиоэлектронике. Из кремния изготовляются различные типы полупроводниковых диодов: низкочастотные (высокочастотные), маломощные (мощные), полевые транзисторы; стабилитроны; тиристоры. Широкое применение в технике нашли кремниевые фотопреобразовательные приборы: фотодиоды, фототранзисторы, фотоэлементы солнечных батарей. Подобно германию, кремний используется для изготовления датчиков Холла, тензодатчиков, детекторов ядерных излучений.
Благодаря тому, что ширина запрещенной зоны кремния больше, чем ширина запрещенной зоны германия, кремниевые приборы могут работать при более высоких температурах, чем германиевые. Верхний температурный предел работы кремниевых приборов достигает 180... 200 °С.
Селен. Этот элемент VI группы таблицы Менделеева обладает рядом полезных электрических свойств. Он существует в нескольких аллотропных модификациях - стеклообразной, аморфной, моноклинной, г»ксагональной. Для очистки селена используют методы вакуумной ректификации и очистку с помощью ионнообменных смол. В результате содержание примесей уменьшается до 10-4%.
Для изготовления полупроводниковых приборов (выпрямителей переменного тока и фотоэлементов) используется серый кристаллический гексагональный селен. Ширина его запрещенной зоны 1,79 эВ. Такой, селен обладает дырочным типом электропроводности. Его удельное сопротивление примерно 103 Ом·м (при комнатной температуре). Селен в отличие от других полупроводников обладает аномальной температурной зависимостью концентрации свободных носителей заряда: она уменьшается с ростом температуры, подвижность носителей заряда при этом возрастает. Электрические свойства селена измерялись многими исследователями, однако данные весьма противоречивы.
Карбид кремния. Он является единственным бинарным соединением, образованным полупроводниковыми элементами IV группы таблицы Менделеева. Это полупроводниковый материал с большой шириной запрещенной зоны (2,8...3,1 эВ) (в зависимости от модификаций). Карбид кремния применяют для изготовления полупроводниковых приборов, работающих при высоких температурах (до 700 °С).
Кристаллы карбида кремния полупроводниковой чистоты получают методом возгонки в печах с графитовыми нагревателями и экранами. Процесс кристаллизации проводят в атмосфере аргона при температуре 2400... 2600 °С. Получаемые кристаллы обычно имеют пластинчатую форму с размером в поперечнике примерно 1 см. Карбид кремния является одним из наиболее твердых веществ, он устойчив к окислению до температур свыше 1400 °С.
Электропроводность кристаллов SiC при нормальной температуре примесная. Тип электропроводности и окраска кристаллов карбида кремния зависят от инородных примесей или определяются избытком атомов Si или С по сравнению со стехиометрическим составом. Избыток Si приводит к электронной электропроводности SiC, а избыток С - к дырочной.
Карбид кремния применяется для серийного выпуска варисторов (нелинейных резисторов), светодиодов, а также высокотемпературных диодов, транзисторов, тензорезисторов, счетчиков частиц высокой энергии, способных работать в химически агрессивных средах.
Полупроводниковые соединения А/// ВV/ являются ближайшими аналогами кремния и германия. Практическое значение имеют нитриды, фосфиды, арсениды и антимониды. Получают эти соединения или из расплава, который содержит элементы в равных атомных концентрациях, или из раствора соединения, имеющего в избытке элементы III группы, а также из газовой фазы. Кристаллы антимонидов, арсенидов галлия и индия обычно выращивают из расплава вытягиванием на затравку из-под инертного флюса. Монокристаллы, полученные из расплава, обладают недостаточно высокой химической чистотой. Для очистки используются те же методы, что и для очистки германия и кремния.
Арсенид галлия среди соединений занимает особое положение. Большая ширина запрещенной зоны (1,4 эВ), высокая подвижность электронов (0,85 м2/В·с) позволяют создавать на его основе приборы, работающие при высоких температурах и высоких частотах.
Первым полупроводником являлся GaAs, на котором в 1962 г. был создан инжекционный лазер. Он используется для изготовления светодиодов, туннельных диодов, диодов Ганна, транзисторов, солнечных батарей и других приборов. Для изготовления детекторов в инфракрасной области спектра, датчиков Холла, термоэлектрических генераторов, тензометров применяется антимонид индия InSb, имеющий очень малую ширину запрещенной зоны (0,17 эВ) и очень высокую подвижность электронов (7,7 м2/В·с).
Широкое применение в серийном производстве светодиодов нашел фосфид галлия GaP, имеющий большую ширину запрещенной зоны (2,25 эВ). В отличие от других соединений группы чрезвычайно высокой чувствительностью к механическим напряжениям обладает антимонид галлия GaSb. Удельное сопротивление GaSb увеличивается в 2 раза при воздействии давления 4·108 Па. При таком же давлении, приложенном к кристаллам GaAs и IпР, их удельное сопротивление меняется лишь на 3 %. Благодаря высокой чувствительности к деформациям антимонид галлия используют при изготовлении тензометров.
К полупроводниковым соединениям A//BV/ относят халькогениды цинка, кадмия и ртути. Среди них можно выделить сульфиды, селениды и теллуриды.
Технология выращивания монокристаллов соединений A//BV/ разработана гораздо менее полно, чем технология полупроводников типа A///BV. Широкозонные полупроводники A//BV/ представляют собой в технологическом отношении трудные объекты, так как обладают высокими температурами плавления и высокими давлениями диссоциации в точке плавления. Выращивание таких материалов в большинстве случаев осуществляется перекристаллизацией предварительно синтезированного соединения через паровую фазу в запаянных кварцевых ампулах.
Применяют соединения A//BV/ в большинстве случаев для создания промышленных люминофоров, фоторезисторов, высокочувствительных датчиков Холла и приемников далекого инфракрасного излучения.
Среди полупроводниковых соединений типа A//BV/ наиболее изученными являются халькогениды свинца: PbS, PbSe, PbTe, сульфид, селенид и теллурид свинца. Эти соединения являются узкозонными полупроводниками. Халькогениды свинца используют для изготовления фоторезисторов в инфракрасной технике, инфракрасных лазеров, тензометров и термогенераторов, работающих в интервале температур от комнатной до 600 °С.
5.4. Диэлектрики
Диэлектриками называют вещества, основным электрическим свойством которых является способность поляризоваться в электрическом поле. В газообразных, жидких и твердых диэлектриках электрические заряды прочно связаны с атомами, иолекулами или ионами и в электрическом поле могут лишь смещаться, при этом происходит разделение центров роложительного и отрицательного зарядов, т.е. поляризация. Диэлектрики содержат и свободные заряды, которые перемещаясь в электрическом поле, обусловливают электропроводность. Однако количество таких свободных зарядов в диэлектрике невелико, поэтому ток мал.
Используемые в качестве изоляционных материелов диэлектрики называют пассивными. Существуют активные диэлектрики, параметры которых можно регулировать, изменяя напряженность электрического поля, температуру, механические напряжения.
По химическому составу их разделяют на органические, представляющие собой соединения углерода с водородом, азотом, кислородом и другими элементами; элементоорганические, в молекулы которых входят атомы кремния, магния, алюминия, титана и других элементов; неорганические, не содержащие в своем составе углерода.
Из многообразия свойств диэлектриков, определяющих их техническое применение, основными являются: электропроводность, поляризация и диэлектрические потери, электрическая прочность и электрическое старение.
Электропроводность диэлектриков. Используемые диэлектрики содержат в своем объеме небольшое количество свободных зарядов, которые перемещаются в электрическом поле. Этот ток называется сквозным током утечки. В диэлектриках свободными зарядами, которые перемещаются в электрическом поле, могут быть ионы (положительные и отрицательные), электроны и электронные вакансии (дырки), поляроны. Ширина запрещенной зоны в диэлектриках 3…7 эВ, энергию, достаточную для перехода в зону проводимости электроны могут приобрести в результате нагревания диэлектрика или при ионизирующем облучении. В сильных полях возможна инжекция зарядов (электронов, дырок) в диэлектрик из металлических электродов; возможно образование свободных зарядов (ионов и электронов) в результате ударной ионизации, когда энергия свободных зарядов достаточна для ионизации атомов при соударении.
Для твердых диэлектриков характерной является ионная электропроводность. При нагревании или освещении, действии радиации, сильного электрического поля сначала ионизируются содержащиеся в таких диэлектриках дефекты и примеси. Образовавшиеся таким образом ионы определяют низкотемпературную примесную область электропроводности диэлектрика.
При более интенсивном воздействии на диэлектрик ионизируются основные частицы материала. Удельная проводимость в этом случае изменяется с ростом температуры с большей скоростью, так как число ионов, образовавшихся при ионизации основных частиц, больше, чем при ионизации дефектов и примесей. Энергия активации основных частиц больше, эта область электропроводности называется высокотемпературной собственной.
Поверхностная электропроводность диэлектриков определяется способностью поверхности материала адсорбировать загрязняющие компоненты, в частности, влагу, содержащуюся в окружающей атмосфере.. Хорошо увлажняются полярные диэлектрики, их называют гидрофильными, в отличие от гидрофобных, которые не смачиваются водой. Гидрофобными являются неполярные диэлектрики. Тонкий слой влаги на поверхности снижает поверхностное сопротивление.
Диэлектрическая проницаемость и поляризованность. На рис.18 изображены два плоских конденсатора, площадь электродов которых S, а расстояние между ними h. В конденсаторе (рис.35,а) между электродами вакуум, в конденсаторе (рис.35,б) – диэлектрик. Если электрическое напряжение на электродах U, то напряженность электрического поля E = U / h. Электрический заряд, накопленный в конденсаторе с вакуумом, называется свободным зарядом Q0 (на рис.35,а – квадраты).
В электрическом поле в частицах, из которых построен диэлектрик, связанные положительные и отрицательные заряды смещаются. В результате образуются электрические диполи с электрическим моментом: m = ql, где q – суммарный положительны (и численно равный ему отрицательный) заряд частицы, Кл; l – рсстояние между центрами зарядов, плечо диполя, м.

Рис.35
Для компенсации поляризационных зарядов источником электрического напряжения создается дополнительный связанный заряд Qд. Суммарный полный заряд в конденсаторе с диэлектриком: Q = Q0 + Qд = εrQ0,
где εr – относительная диэлектрическая проницаемость.
Электрическая емкость конденсатора с вакуумом между электродами:
С0 = Q0/U.
Емкость этого конденсатора с диэлектриком между электродами:
C = Q/U.
Из этих формул следует, что εr = С/С0 – отношению емкости конденсатора с диэлектриком к емкости того же конденсатора, где между электродами вакуум.
Емкость плосконо конденсатора: С = ε0 εr S/h, где ε0 = 8,85·10-12 Ф/м – электрическая постоянная. Произведение ε0 εr = ε, называется абсолютной диэлектрической проницаемостью.
Поляризованное состояние диэлектрика характеризуется также электрическим моментом единицы объема, поляризованностью Р (Кл/м2), которая связана с диэлектрической пронициемостью Р = ε0(εr –1)Е. Поляризованность является векторной величиной.
Принято различать упругую (быструю, нерелаксационную) и неупругую (медленную, релаксационную) поляризации. Упругая поляризация завершается мгновенно за время t, намного меньшее полупериода приложенного напряжения. Поэтому процесс быстрой поляризации создает в диэлектрике только реактивный ток. К таким быстрым поляризациям относятся электронная (завершающаяся за время 10-16…10-13с) и ионная упругая (завершающаяся за время 10-14…10-13с).
Электронная поляризация. В электрическом поле в атомах, ионах или молекулах деформируются электронные оболочки. Смещение электронов происходит на малые расстояния (10-13 м) в пределах своих атомов и молекул. Такая поляризация происходит у всех атомов и молекул независимо от их агрегатного состояния и существования в них других видов поляризации.
Нв рис.36,а схематически изображены деформация в электрическом поле электронной оболочки атома водорода.

Рис.36
Диэлектрики, у которых имеет место только электронная поляризация, называются неполярными диэлектриками. В молекулах неполярных диэлектриков центры положительного и отрицательного зарядов совпадают, поэтому такие молекулы неполярны. Неполярными диэлектриками являются: газы – гелий, водород, азот, метан; жидкости – бензол, четыреххлористый углерод; твердые – алмаз, полиэтилен, фторопласт-4, парафин.
Значение диэлектрической проницаемости газообразных диэлектриков мало отдичается от 1, а для неполярных жидких и твердых диэлектриков не превышает 2,5. Диэлектрическая проницаемость неполярных диэлектриков с ростом температуры уменьшается незначительно и не изменяется с ростом частоты приложенного напряжения до 1012... 1013 Гц. На рис.37 представлена зависимость диэлектрической проницаемости от температуры для неполярных диэлектриков.

Рис.37
Ионная упругая поляризация происходит в кристаллических диэлектриках, построенных их положительных и отрицательных ионов: в галоидо-щелочных кристаллах, слюде, керамике. В электрическом поле в таких диэлектриках происходит смещение электронных оболочек в каждом ионе – электронная поляризация. Смещаются друг относительно друга подрешетки из положительных и отрицательных ионов, т.е. происходит упругая ионная поляризация (рис.36,б). Это смещение приводит к появлению дополнительного электрического момента, увеличивающего поляризованность, а, следовательно, и диэлектрическую проницаемость. Ионная поляризация не зависит от частоты приложенного напряжения до 1012 – 1013 Гц. Диэлектрическая проницаемость ионных кристаллов с ростом температуры увеличивается, так как тепловое расширение приводит к ослаблению сил связи между ионами и поэтому к увеличению их смещения в электрическом поле.
Неупругие поляризации.
К неупругим относится дипольная поляризация, которая наблюдается в полярных газообразных и жидких диэлектриках. Полярные диэлектрики построены из из полярных молекул, в которых центры положительного и отрицательных зарядов не совпадают. Полярная молекула имеет собственный электрический момент (дипольный момент). Из полярных молекул состоят газообразные аммиак NH3, пары воды и спиртов. Полярными жидкостями являются вода, хлорбензол C6H5Cl, нитробензол C6H5NO2. В электрическом поле в таких молекулах смещаются электронные оболочки атомов – происходит электронная поляризация, также происходит и дипольная поляризация (дипольные моменты молекул ориентируются по полю). В твердых полярных диэлектриках процесс дипольной поляризации состоит в деформации участков – звеньев, сегментов молекул или ориентация отдельных полярных групп молекул.
Для ориентации диполя требуется время, называемое временем релаксации τ, которое прямо пропорционально вязкости диэлектрика и обратно пропорционально температуре. При увеличении температуры вязкость диэлектрика экспоненциально уменьшается, поэтому уменьшается и τ. В этой области температур εr с ростом температуры увеличивается (рис. 38,а, участок б-в). Уменьшение εr на участке в-г вызывается разориентацией полярных молекул в результате теплового движения; на участке а-б - уменьшением плотности.

Рис.38
Если Т/2 <τ, то электрические моменты полярных молекул не успевают ориентироваться в электрическом поле и дипольная поляризация уменьшается. Поэтому εr полярного диэлектрика уменьшается (рис.38,б). В зависимости от строения диэлектрика и внешних условий время релаксации τ дипольной поляризации изменяется в широких пределах (от 10-8 до 10-1 с). При ориентации в электрическом поле диполи преодолевают межмолекулярные силы взаимодействия, поворачиваются с “трением”; в этой области температур дипольная поляризация происходит с потерями.
Ионно-релаксационная поляризация. Используемые в технике твердые диэлектрики могут иметь неплотную упаковку объема частицами, дефекты кристаллической решетки – вакансии. Перемещение ионов в электрическом поле становится направленным. В результате возникает различие в расположении центров положительного и отрицательного зарядов, т.е. появляется электрический момент. Такой процесс называется ионно-релаксационной поляризацией. С ростом температуры увеличивается поляризованность и диэлектрическая проницаемость.
Миграционная поляризация. Электроизоляционные материалы могут быть неоднородными с отличающимися значениями удельной электрической проводимости и диэлектрической проницаемости. Образуются дополнительные заряды на границах блоков, зерен. Могут иметь место такие слабо связанные ионы, которые напрвляются к электродам и там локализуются, в результате около электродов образуется объемный заряд, обусловливающий электрический момент. Такую поляризацию называют объемно-зарядовой или высоковольтной поляризацией. Процессы миграционной поляризации завершаются за 10-3…1 с.
Спонтанная (самопроизвольная) поляризация. Доменная поляризация. Сегнетоэлектрики. Характерные для сегнетоэлектриков свойства впервые были обнаружены у сегнетовой соли, поэтому сегнетоэлектриками стали называть вещества, свойства которых подобны свойствам сегнетовой соли.
В сегнетоэлектриках даже в отсутствии электрического поля наблюдается самопроизвольное смещение частиц – ионов в ионных кристаллах или полярных радикалов молекул, которое приводит к несовпадению положительного и отрицательного зарядов в объеме диэлектрика, то есть поляризации. Такая поляризация называется спонтанной (самопроизвольной). В диэлектрике образуются области - домены. В каждом домене частицы, обусловливающие самопроизвольную поляризацию, смещены в одном направлении. В этом направлении ориентирован и вектор спонтанной поляризованности Ps домена. В соседних доменах направление Ps может быть противоположным или перпендикулярным (рис.39,а).

Рис.39
В электрическом поле в сегнетоэлектриках происходят упругие электронная и ионная поляризации, а также неупругая доменная. В процессе доменной поляризации векторы Рs доменов ориентируются по направлению электрического поля (рис.39,б). Переориентацией направлений Рs доменов объясняются характерные для сегнетоэлектриков нелинейные свойства: диэлектрический гистерезис и зависимость их диэлектрической проницаемости от напряженности электрического поля (рис.39,в,г). Поляризованность кристалла с ростом напряженности электрического поля увеличивается благодаря ориентации Рs доменов и достигает поляризованности насыщения. С уменьшением напряженности при Е = 0 наблюдается остаточная поляризованность, так как сохраняется ориентация доменов. Уменьшить поляризованность до нуля можно приложив к образцу электрическое поле напряженностью Ес, которое называется коэрцитивной силой.
Для сегнетоэлектриков характерны большая (до нескольких тысяч) диэлектрическая проницаемость и ее резкая зависимость от температуры (рис.39,д). Увеличение температуры приводит к ослаблению сил, препятствующих ориентации доменов. Поляризованность диэлектрика, вызванная доменной поляризацией, увеличивается, а диэлектрическая проницаемость достигает максимального значения при температуре точки Кюри. Спонтанная поляризованность при температуре Кюри исчезает, сегнетоэлектрик теряет свои сегнетоэлектрические свойства и переходит в параэлектрическое состояние, при котором сохраняется нелинейная зависимость диэлектрической проницаемости от напряженности электрического поля.
Удельные диэлектрические потери и угол диэлектрических потерь.
Диэлектрическими потерями называют мощность, поглощаемую диэлектриком под действием приложенного напряжения. Потери мощности вызываются электропроводностью и медленными поляризациями. Если в диэлектрике имеют место газовые включения (поры), то в процессе работы его при высоких напряжениях и высоких частотах происходит ионизация газа в порах, что вызывает потери на ионизацию.
При включении на постоянное напряжение конденсатора, между электродами которого находится диэлектрик, через него протекает уменьшающийся со временем ток I = Iабс + Ιск (рис. 40, а).

Рис.40
Ток смещения (емкостной ток) Ic вызван смещением электронных оболочек в атомах, ионах и молекулах, т.е. процессом установления быстрых, упругих поляризаций; он спадает в течение 10-16... 10-15 с, поэтому не вызывает рассеяния энергии в диэлектрике.
Спадающий со временем ток абсорбции Iабс обусловлен смещением связанных зарядов в ходе медленных поляризаций и вызывает рассеяние энергии в диэлектрике, диэлектрические потери.
Сквозной ток утечки Iск вызван перемещением свободных зарядов в диэлектрике в процессе электропроводности, не изменяется со временем (если не происходит электроочистка диэлектрика или его старение, деградация) и вызывает потери, аналогичные джоулевым потерям в проводниках. Следовательно, при постоянном напряжении потери, вызванные током абсорбции, имеют место только в период, когда происходит процесс медленных поляризаций, т.е. при включении конденсатора.
При переменном напряжении Iабс имеет место, если время релаксации процесса медленных поляризаций меньше или соизмеримо с полупериодом приложенного напряжения (τ = Т/2). В этом случае мощность, рассеиваемая в диэлектрике под воздействием на него электрического поля, т.е. диэлектрические потери, обусловливаемые токами Iск и Iабс, наблюдаются в течение всего времени воздействия приложенного напряжения.
На векторной диаграмме токов, протекающих через конденсатор с диэлектриком при переменном напряжении (рис. 23, б), емкостной ток Ic опережает напряжение U по фазе на угол 90° и поэтому не создает потерь мощности в диэлектрике. Ток абсорбции Iабс определяется поляризациями, процесс установления которых связан с потерями энергии. Поэтому он имеет реактивную Iра и активную Iаа составляющие. Сквозной ток Iск совпадает по фазе с приложенным напряжением. Суммарный ток I имеет реактивную Ip = Ic + Ipa и активную Ia = Iаа + Iск составляющие и опережает напряжение на угол φ < 90°. Угол δ дополняющий до 90° угол фазового сдвига между током и напряжением в емкостной цепи, называют углом диэлектрических потерь. В соответствии с векторной диаграммой токов:
tgδ = Ia/Ip,
где tgδ - тангенс угла диэлектрических потерь, который является важным параметром, характеризующим качество диэлектрика при работе на переменном напряжении.
Для диэлектриков, применяемых в технике высоких частот и высоких напряжений, значение tgδ не должно превышать 10-4…10-3. Мощность диэлектрических потерь: Ра = UIa = ωU2C tgδ. Подставив выражение для емкости плоского конденсатора, и приняв S = 1 м2, h = 1 м, получим формулу для расчета удельных диэлектрических потерь (Вт/м2): Ра уд = 5,567 ·1011 Е2 εr f tgδ, где Е – напряженность электрического поля, В/м; εr tgδ = ε˝ - коэффициент диэлектрических потерь; 5,567·10-11 εr f tgδ = σа – проводимость диэлектрика при переменном токе частотой f, См/м.
Диэлектрические потери в твердых диэлектриках. В неполярных твердых диэлектриках диэлектрические потери вызваны электропроводностью, а в полярных - электропроводностью и дипольной поляризацией. Изменение tgδ от температуры и частоты для твердых неполярных и полярных диэлектриков представлены на рис.41.

Рис.41
В процессе тепловой ионной поляризации твердых диэлектриков перемещение слабосвязанных ионов в электрическом поле происходит с потерями энергии. В некоторых диэлектриках с неплотной упаковкой объема частицами, например стеклах, где имеет место ионно-релаксационная поляризация, также наблюдаются закономерности изменения tgδ от температуры и частоты, характерные для дипольной поляризации.
Диэлектрические потери в сегнетоэлектриках определяются электропроводностью и доменной поляризацией. Изменения tgδ от температуры и частоты в этом случае такие же, как и у твердых полярных диэлектриков.
Пробой диэлектриков и электрическая прочность.
Если в ходе повышения приложенного к изоляции напряжения напряженность электрического поля в диэлектрике превышает некоторое критическое значение, то диэлектрик теряет свои электроизолирующие свойства.
Сквозной ток, протекающий через диэлектрик, резко возрастает до 108 А/м2, а сопротивление диэлектрика уменьшается до такого значения, что происходит короткое замыкание электродов. Это явление называют пробоем диэлектрика. Значение напряжения в момент пробоя Uпр называют пробивным напряжением, напряженность электрического поля Епр - электрической прочностью.
Если напряжение U достигло значения Uпр, то сквозной ток резко увеличивается даже и тогда, когда напряжение на электродах уменьшается. Это обусловливается тем, что под действием приложенного напряжения в диэлектрике происходят необратимые изменения, резко уменьшающие его электрическое сопротивление. Различают следующие виды пробоя диэлектриков.
Электрический пробой - это процесс, в результате которого диэлектрик разрушается силами, действующими в электрическом поле на электрические заряды его атомов, ионов или молекул. Он вызывается ударной ионизацией электронами.
Электротепловой пробой обусловлен прогрессивно нарастающим выделением теплоты в диэлектрике под действием диэлектрических потерь или электропроводности; его часто называют тепловым пробоем.
Тепловой пробой возникает, когда нарушается равновесие между теплотой, выделяющейся в диэлектрике, и теплотой, которая отводится в окружающую среду. Если выделяющаяся теплота больше отводимой, то диэлектрик нагревается, и в местах наихудшего теплоотвода температура возрастает до такого значения, при котором происходит прожог, проплавление, т.е. пробой.
Электрохимический пробой (электрическое старение) обусловлен медленными изменениями химического состава и сруктуры диэлектрика, которые развиваются под действием электрического поля или частичных разрядов в диэлектрике или в окружающей диэлектрик среде. Процесс электрохимического пробоя развивается в электрических полях с напряженностью, значительно меньшей, чем электрическая прочность диэлектрика.