Для управления приводами кранов используют станции управления, размещенные в машинном отделении крана.
Схема трубопроводов станции управления, размещенных в машинном отделении крана, представлена на рис. 13.18.

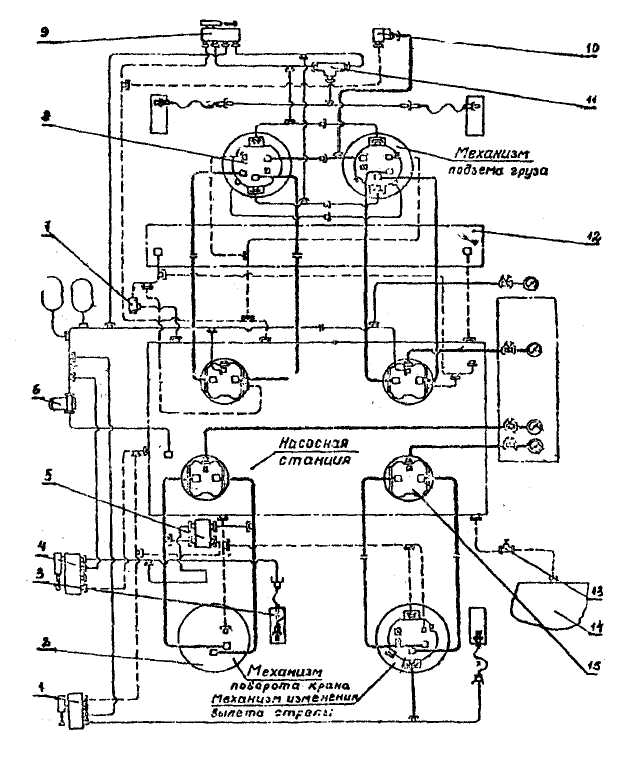
Рис. 13.18. Схема трубопроводов, размещенных в машинном отделении электролидравлического крана типа КЭГ 12018.
Схема трубопроводов, размещенных в машинном отделении крана:
1 – распределитель управления механизмом изменения вылета стрелы; 2 – гидромотор; 3 - гидроцилиндр тормоза; 4 –распределитель механизма поворота крана; 5 – распредели-
тель разобщения трубопроводов гидропривода механизма поворота крана; 6 - фильтр; 7 - клапан трубопровода соединения масляных баков; 8 - двухскоростной клапан; 9 – распре-
делитель управления механизмом подъема груза; 10 - реле давления; 11 –челночный кла-
пан; 12 - бак для запасного масла;13 – сливной клапан; 14 - сливной бак и 15 – специаль-
ный клапан.






