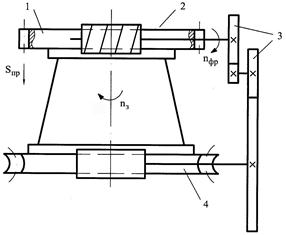
При зубофрезеровании червячными фрезами (рис.8.3) на станке воспроизводится зацепление зубчатого колеса 1 (нарезаемой заготовки) с червяком 2, который образуется прямолинейными режущими кромками червячной фрезы.
Инструмент и заготовка совершают кинематически связанные вращения при условии, что одному обороту фрезы соответствует k/z оборота заготовки, где k - число заходов червячной фрезы. Это согласование обеспечивается кинематической цепью станка, включающей гитару сменных колес 3 и червячную делительную пару 4.
Согласованные вращения обеспечивают непрерывные движения обкатки и деления колеса и инструмента, что является основой высокой производительности данного способа фрезерования. Продольная (вдоль оси колеса) подача фрезы Sпр позволяет обрабатывать зубья по всей длине. При нарезании косозубых зубчатых колес необходим дополнительный доворот колеса, согласованный с продольным перемещением фрезы. Он осуществляется в станке с помощью специального дифференциала.
|
|
|

Рис.8.3. Схема зубофрезерования червячной фрезой
Червячное зубофрезерование может осуществляться по нескольким схемам (рис.8.4). При фрезеровании с продольной подачей (рис.8.4,а) реализуется наиболее простая кинематика процесса, но больше затраты времени из-за значительной величины врезания (увр).
| | |
| а | б | в |
Рис.8.4 Схемы червячного зубофрезерования: а - с продольной подачей; б - с радиальным врезанием; в - с диагональной подачей
При радиальном врезании (рис.8.4,б) длина пути врезания (а следовательно, и время) значительно сокращаются. Диагональное зубофрезерование обеспечивает наилучшее качество обработки (рис.8.4,в) благодаря непрерывному введению в работу новых режущих кромок и их равномерной загрузки. Однако кинематика процесса значительно усложняется, так как необходим доворот колеса nдиаг, что требует специальных устройств в станке. Это зубофрезерование называют также методом двух подач.
Червячное зубофрезерование - весьма универсальный, точный и производительный процесс. Наиболее широко его применяют для обработки открытых зубчатых колес, твердость которых НВ ≤ 320.
Производительность червячного зубофрезерования возрастает с увеличением числа заходов фрез. Однако ухудшается качество поверхности (появляется волнистость, называемая огранкой) и уменьшается точность из-за уменьшения количества резцов.






