Кручением называется такой вид деформации, при котором в поперечных сечениях бруса возникает только внутренний силовой фактор – крутящий момент
(вдоль оси бруса будем всегда располагать ось
). Кручение часто встречается на практике в различных элементах машин и сооружений. Кручение прямого бруса происходит при загружении его внешними скручивающими моментами (парами сил), плоскости действия которых перпендикулярны к его продольной оси. Наряду с кручением, элементы машин и сооружений иногда испытывают также изгиб и растяжение (сжатие). Такие сложные случаи нагружения будут рассмотрены позднее, а здесь ограничимся рассмотрением только одного кручения. Стержни (брусья), работающие на кручение, часто называют валами.
Если прямой брус находится в состоянии покоя или равномерного вращения, то алгебраическая сумма всех внешних скручивающих моментов, приложенных к брусу, равна нулю.
При расчете валов, в ряде случаев, величины внешних скручивающих моментов определяются по величине потребляемой (передаваемой) мощности и по скорости вращения вала.
|
|
|
Мощность определяется в «лошадиных силах» (л.с.) или в киловаттах (КВт), а скорость вращения об/мин. В этих случаях крутящий момент
определяется в кгм так:
(6.1)
Здесь учтено, что 1л.с.= 75 кгм/сек, 1 Квт= 102 кгм/сек
Построение эпюр Мz
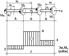
К валу в разных сечениях может быть приложено несколько внешних моментов и поперечные размеры его могут изменяться. Рассмотрим пример, показанный на рис. 6.1.
Рис.6.1 | Дано: 10кНм; 5кНм; 3кНм; 10см; 20см; 6см; 1м неизвестный опорный момент. Его можно найти из условия равновесия вала: Отсюда 2кНм. Внутренние крутящие моменты , возникающие в поперечных |
сечениях вала, определяются известным методом сечений по формуле (1.5).
(6.2)
Здесь
внешние моменты относительно оси
для правой или левой отсеченных частей, они положительны, если с конца оси
видны против хода часовой стрелки. По (6.2) можно определить
на каждом участке вала и построить эпюру
. Построим эпюру
для вала, показанного на рис. 6.1.
I участок
левая часть
2кНм
II участок
левая часть
– 8кНм
III участок
правая часть
– 3кНм
По этим данным строим эпюру
на рис. 6.1. Следует учитывать, что max внутренний
часто не равен max внешнему моменту. Все расчеты вала на прочность ведутся на внутренние
.
Напряжения и деформации при кручении круглых валов
Исследования показали, что характер деформаций в вале зависит от формы его поперечного сечения. Здесь рассмотрим кручение валов с круглым или кольцевыми сечениями. Сначала рассмотрим результаты эксперимента: на боковую поверхность круглого вала нанесем сетку из продольных и окружных линий. После закручивания вала обнаружим:
|
|
|
- Продольные линии поворачиваются на угол
, а прямоугольники, образованные сеткой, превращаются в ромбы, т.е. подвергаются сдвигу
.
- Ось вала останется прямой, контуры поперечных сечений не меняются, остаются плоскими, но поворачиваются друг относительно друга на некоторый угол, называемый углом скручивания
.
- Расстояния между сечениями не меняются, т.е. волокна в продольном направлении не деформируются
Перечисленные наблюдения дают основания для принятия следующих гипотез (допущений) при кручении круглых валов:
1. Поперечные сечения не меняют форму и размеры, остаются плоскими (гипотеза Бернулли)
2. Продольные волокна не деформируются:
.
Согласно гипотезе 2
и в поперечном сечении возникают только
– касательные напряжения, перпендикулярные к радиусам сечения. Для определения этих напряжений получена формула
| (6.3) (6.4) |
Формула (6.4) определяет относительный угол закручивания вала.
Из (6.3) видно, что
линейно меняется в сечении:
при
(в центре) и
будет при
, т.е. в точках сечения у поверхности вала.
(6.5)
Здесь:
полярный момент инерции сечения;
полярный момент сопротивления сечения
Для сплошного круглого сечения радиуса 

Для кольцевого сечения (труба) с
и 

Интегрируя (6.4) получим угол поворота одного сечения вала относительно другого сечения, расположенных на расстоянии
друг от друга.
(6.6)
Здесь
модуль сдвига материала вала,
называют жесткостью вала при кручении.
Если на участке вала длиной
и диаметр вала не меняются, то
(6.6а)
Если
и диаметр меняются на длине
(см. рис. 6.1), то
определяется как алгебраическая сумма углов закручивания по участкам с постоянными
и 
(6.6в)
Расчеты на прочность. Подбор сечений вала
Условие прочности вала с учетом (6.5) имеет вид
(6.7)
Это условие должно выполняться для каждого участка вала (при переменных
). Если диаметр вала постоянный, то в (6.7) берут
из эпюры
. Допускаемые напряжения
для различных материалов приводятся в справочниках.
Из (6.7) находят необходимый
, а по нему определяют размеры сечения вала:
1. Для сплошного круглого сечения радиуса
отсюда 
2. Для кольцевого сечения (трубы) надо задать отношение
, т.к.
подставим
,
, отсюда
.
Следует иметь ввиду, что кольцевое сечение более экономично по весу.
В необходимых случаях валы рассчитываются не только на прочность, но и на жесткость.
Условие жесткости вала на кручение с учетом (6.6а) и (6.6в) имеет вид

Здесь
допускаемый угол закручивания вала, для различных случаев приводятся в справочниках и нормативной литературе. Например, при обычном кручении
на один метр длины вала. Если условие жесткости не выполняется, увеличивают размеры сечения вала, т.е.
и снова проверяют условие жесткости с учетом (6.6а) и (6.6в).
Примечание: по (6.6)¸(6.6в)
определяется в радианах.
- Статически неопределимые задачи кручения.
Рис.6.1
10кНм;
5кНм;
3кНм;
10см;
20см;
6см;
1м
неизвестный опорный момент. Его можно найти из условия равновесия вала:
Отсюда
2кНм. Внутренние крутящие моменты
(6.3)
(6.4)