а – общий вид, б – принципиальная схема
Загрузка и выгрузка шихты и подложек происходит в обеспыленных боксах 1 с помощью автоматизированных устройств 3,7. Газовые завесы 4 предотвращают попадание атмосферного воздуха в реактор 5. В корпусе установки размещены блоки управления газовой системой 2 и регулирования температуры 6.
Реактор установки выполнен в виде трубы 3 (рисунок б), в которой закреплены кварцевые направляющие рейки 4 для перемещения контейнеров пенального типа. Контейнеры включают графитовые кассеты 10 для подложек 9 и графитовые ванны 11 с раствором-расплавом 8. В каждой кассете выполнена щель 2, через которую может проходить луч от источника 1 на светодиод 7. Сигнал от фотодиода через систему управления передается механизму 6, который перемещает ванну 11 до совмещения раствора-расплава с подложками 9. По истечении времени, необходимого для наращивания эпитаксиального слоя, механизм возврата 5 перемещает ванну 11 в исходное положение на кассете, удаляя остатки непрореагировавшего раствора-расплава. После прохождения зоны охлаждения контейнеры следуют в зону разгрузки пластин. Процесс эпитаксии проводится в смеси газов азота и водорода.
|
|
|
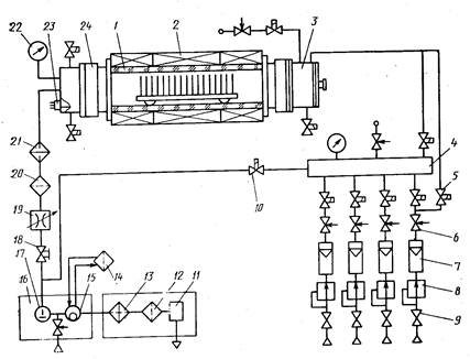
Универсальная установка для осаждения слоев при пониженном давлении, схема которой показана на рисунке ниже, изготовлена на базе однотрубного агрегата термической обработки подложек с трехзонным резистивным нагревателем. Установка включает следующие основные узлы: нагреватель, реактор, вакуумную и газовую системы, систему очистки выбросов.







