КОНСТРУКТИВНЫЕ ЭЛЕМЕНТЫ ЦИЛИНДРИЧЕСКИХ РАЗВЕРТОК
ТИПЫ РАЗВЕРТОК
Развертки, как правило, исправляют форму отверстия, но не исправляют положение оси отверстия, из-за маленького припуска под обработку. Число зубьев у развертки больше, чему зенкера. Развертки разделяют: а) по способу применения на ручные и машинные; б) по конструкции крепления на хвостовые и насадные; в) по конструкции развертки на цельные и сборные; г) по принципу регулирования размера – на нерегулируемые и регулируемые; д) по типу обработки отверстия – на конические и цилиндрические.
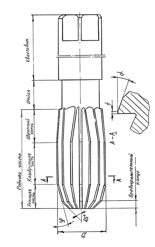
На переднем конце развертки имеется предохранительный конус.
Режущие кромки разверток расположены под небольшим углом φ. Комбинирующая часть развертки состоит из цилиндрической части и обратного конца для уменьшения трения (Рис. 64).
При развертывании сквозных отверстий машинными развертками φ = 3 – 5° для чугуна и 12 – 15° для стали. Для глухих отверстий в упор φ = 45 – 60° для получения короткой режущей части. У ручных разверток φ = 1 – 2° для уменьшения перекоса развертки. Обратная конусность на калибрующей части развертки равна 0,01 – 0,07 мм на 100 мм длины.







