Рис. 11.3 Схема компаратора на ОУ
Пусть R1 = R2. Если Uвх - Uоп > 0, то диод VD2 открыт и выходное напряжение схемы небольшое отрицательное, равное падению напряжения на открытом диоде. При Uвх - Uоп < 0 на стабилитроне установится напряжение, равное его напряжению стабилизации Uст. Это напряжение должно соответствовать единичному логическому уровню цифровых интегральных микросхем (ИМС), входы которых подключены к выходу компаратора. Таким образом, выход ОУ принимает два состояния, причем в обоих усилитель работает в линейном режиме. Недостатком данной схемы является относительно низкое быстродействие. Используя для построения компаратора обычные ОУ, трудно получить время переключения менее 1 мкс.
Пересчетное устройство (ПУ). Применяется для деления импульсов и для преобразования единичного кода в двоичный, двоично-десятичный и т.д. Деление частоты в два раза осуществляется с помощью компаратора со счетным входом. Если соединить последовательно n компараторов, то получим ПУ с коэффициентом деления 2n. Вводя дополнительные связи, можно уменьшить число компараторов, например, с четырьмя получить коэффициент деления 10 (рис. 11.4). В ЦИП применяют ПУ, которые могут использоваться в качестве счетчиков импульсов, могут вычитать импульсы в различных кодах.

Рис.11.4
Логические элементы. В ЦИП широко применяют логические элементы, реализующие логические функции. Входными и выходными сигналами этих элементов являются переменные, принимающие только два значения: 1 (высокий потенциал) и 0 (низкий потенциал). Всего возможно
логических функций и соответствующих им логических элементов, где
- основание системы счисления,
- число входов (аргументов),
- число выходов, т.е. бесконечное число логических элементов. Всего возможны
двоичных двухвходовых логических элементов и
двоичных трёхвходовых логических элементов.
Основными логическими элементами ЦИП являются:
1. Логический элемент ИЛИ, реализующий функцию логического сложения. Он имеет несколько входов и один выход. Выходная переменная принимает значение 1, если хота бы одна входная переменная принимает значение 1. Выходная переменная принимает значение 0, если все входные переменные равны 0.
2. Логический элемент И, реализующий функцию логического умножения. Он имеет несколько входов н один выход. Выходная переменная принимает значение 1, если все входные переменные принимают значение 1. Выходная переменная принимает значение 0, если хотя бы одна входная переменная равна 0. Элемент И называется схемой савпадения и может применяться как логический ключ, один из входных сигналов которого является управляющим.
З. Логический элемент НЕ, реализующий функцию логического отрицания. Если входная переменная имеет значение 1, то переменная на выходе прнимает значение 0, и наоборот, если переменная на входе равна 0, то на выходе будем иметь 1. Таким образом, этот логический элемент инвертирует значение переменной.
Логические элементы подразделяются и по типу использованных в них электронных элементов. Наибольшее применение в настоящее время находят следующие логические элементы:
· РТЛ (резисторно-транзисторная логика)
· ДТЛ (диодно-транзисторная логика)
· ТТЛ (транзисторно-транзисторная логика) (рис.11.5)

Рис.11.5 Упрощённая схема двухвходового элемента И-НЕ ТТЛ
При подаче на оба входа сигнала высокого уровня (1,1) первый транзистор оказывается включенным в инверсном режиме по схеме эмиттерного повторителя с высоким уровнем на базе, транзистор открывается и подключает базу второго транзистора к высокому уровню, ток идёт через первый транзистор в базу второго транзистора и открывает его. Второй транзистор «открыт», его сопротивление мало и на его коллекторе напряжение соответствует низкому уровню (0). Если хотя бы на одном из входов подан сигнал низкого уровня (0), то транзистор оказывается включенным по схеме с общим эмиттером. Через базу первого транзистора на этот вход идёт ток, что открывает его и он закорачивает базу второго транзистора на землю, напряжение на базе второго транзистора мало и он «закрыт», выходное напряжение соответствует высокому уровню. Таким образом, таблица истинности соответствует функции 2И-НЕ.
Ключи. Ключами называются устройства, выполняющие функции выключателей и переключателей. Различают логические (цифровые) и измерительные (аналоговые) ключи. Логические ключи предназначены для коммутации цепей прохождения сигналов с двумя различимыми уровнями. Измерительные ключи коммутируют цепи прохождения сигналов, уровень которых меняется непрерывно. Среди ключей, управляемых электрическими сигналами, различают механические (электрические реле) и электронные (диоды, транзисторы и др.).
Электромеханические ключи обладают лучшими коммутационными характеристиками, но они инерционны и менее надежны, чем электронные.
Электронные ключи: влияют на режим коммутируемой цепи и вносят погрешность, ограничивающую повышение точности ЦИП. Чтобы эта погрешностъ находилась в допустимых пределах, остаточные параметры (сопротивления ключа в открытом и закрытом состояниях и т. п.) измерительных ключей не должны превышать допустимых значений.
Цифроаналоговые преобразователи. Эти устройства предназначены для преобразования кода в квантованную величину (напряжение, сопротивление и т. п.). Для преобразования кода в напряжение используют дискретные делители напряжения. Для преобразования кода в сопротивление используют дискретные регулируемые резисторы.
Стабильный источник тока или напряжения периодически включается на время, пропорциональное преобразуемому цифровому коду. Каждому биту преобразуемого двоичного кода соответствует резистор или источник тока, подключенный на общую точку суммирования. Сила тока источника (проводимость резистора) пропорциональна весу бита, которому он соответствует. Таким образом, все ненулевые биты кода суммируются с весом. В таких ЦАП необходимо наличие набора множества различных прецизионных источников или резисторов.
Аналого-цифровые преобразователи. Предназначены для преобразования аналогового сигнала в цифровые коды. Это преобразование осуществляется на основе операции сравнения двух однородных сигналов, выполняемой компаратором.
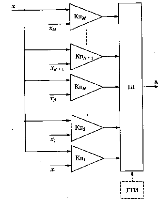
Параллельный АЦП построен на основе набора компараторов со смещенными друг относительно друга уровнями срабатывания (х1< х2 <…<хМ), подключенными параллельно к источнику входного сигнала (рис.11.6).

Рис.11.6
Ш – шифратор, ГТИ – генератор тактовых импульсов.
При появлении на входе АЦП сигнала х, удовлетворяющего условию
хN ≤ х <хМ (где 1≤ N ≤ М), на выходах компараторов с уровнями срабатывания х1, х2,…хN появится сигнал, соответствующий 1, а на выходах остальных компараторов – сигнал, соответствующий 0. Устройство примет одно из возможных состояний, соответствующее N сработавших компараторов. С выходов компараторов сигналы поступают на шифратор Ш, который формирует соответствующий двоичный или двоично-десятичный код.
Шифратор предназначен для преобразования десятичных чисел от 0 до 9 в двоичный код. Реализация шифратора на логических элементах показана на рис.11.7. Код формируется только при появлении одного входного сигнала.
| Позиционный код | Двоичный код | |||||||||
| 22 | 21 | 20 | ||||||||

Рис.11.7
АЦП параллельного типа обладают высоким быстродействием и простой структурой, но требуют много компараторов, потребляющих большую мощность. Но технология интегральных микросхем позволила преодолеть этот недостаток.
Последовательные АЦП используются в методе уравновешивания измеряемой величины (рис.11.7). Входной сигнал сравнивается с управляемой многозначной мерой с помощью одного компаратора. Состояние многозначной меры (ЦАП) в конце уравновешивания определяет выходной код АЦП. Алгоритм уравновешивания отображает временная диаграмма.

Рис.11.7
Регистр — последовательное логическое устройство, используемое для хранения n-разрядных двоичных слов (чисел) и выполнения преобразований над ними. Регистр, например, преобразует последовательный код в параллельный и обратно
Дешифраторы (ДШ). Устройства для преобразования параллельных кодов одного вида в параллельные коды другого вида. В ЦИП дешифраторы преобразуют двоично-десятичные коды в код для управления знаковыми индикаторами.
Знаковые индикаторы. Применяются для получения показаний в цифровой форме.
Для построения цифр от 0 до 9 используются сегментные знаковые индикаторы, состоящие из 7,8 и большего числа элементов (сегментов), светящихся при подаче управляющего напряжения. Комбинация светящихся сегментов образует цифру. Светящиеся полоски – это жидкокристаллические элементы, светодиоды и т.п.
В качестве знаковых индикаторов используют также газоразрядные лампы, у которых анод сделан в виде сетки, а система катодов – из тонкой проволоки в форме цифр или знаков, букв. Баллон лампы заполнен неоном. Приложенное к определенному катоду напряжение вызывает яркое оранжевое свечение вокруг катода (коронный разряд).
Структурная схема ЦИП в обобщенном виде показана на рис.11.8. Обозначения: ВУ – входное устройство; ОУ – отсчетное устройство; ГТИ – генератор тактовых импульсов; ИОН – источник опорного напряжения.

Рис.11.8
Лекция 12
Тема: Цифровые измерительные приборы
Вопросы: 1) Время-импульсный вольтметр
2) Интегрирующий (частотный) вольтметр
3) Визуальное отображение величин, быстро изменяющихся во времени
1. Цифровые измерительные приборы построены на одном из принципов:
- преобразование измеряемой величины в код временных интервалов;
- преобразование измеряемой величины в код частоты;
- преобразование измеряемой величины в код напряжения постоянного тока.
На рис.12.1 показана блок-схема время-импульсного вольтметра.

Рис.12.1: а – блок-схема; б – временные диаграммы напряжений
В таких вольтметрах измеряемое напряжение Uх преобразуется во временной интервал tх путем сравнения Uх с линейно нарастающим напряжением Uк.
Измеряемое напряжение Uх через входное устройство ВУ подается на один из входов сравнивающего устройства СУ. Прибор запускается старт-импульсом в момент времени t1. При этом генератор линейно нарастающего напряжения ГЛН открывает ключ К и одновременно подает на второй вход СУ напряжение Uк, которое изменяется по линейному закону. Одновременно с этим с генератора опорных импульсов на вход пересчетного устройства ПУ начинает поступать последовательность импульсов с известной частотой f0. В момент t2 при Uк = Uх сравнивающее устройство СУ стоп-импульсом через ключ К прекращает подачу импульсов в ПУ. Таким образом, за время t1 - t2 = Uк/к = Uх/к на вход ПУ пройдет число импульсов N = tх/ T0 = Uх f0/к. Здесь к – коэффициент, характеризующий скорость нарастания напряжения Uк.
Погрешность таких приборов снижена до ±0,05%. Однако, такие ЦИП чувствительны к помехам, т.к. показания их определяются мгновенным значением входного сигнала.
2. Блок-схема интегрирующего частотного вольтметра приведена на рис.12.2.

Рис.12.2
С помощью преобразователя напряжения в частоту ПНЧ измеряемое напряжение сначала преобразуется в последовательность импульсов с частотой следования fх =к Uх, где к – коэффициент преобразования, а затем частота измеряется согласно схеме. Генератор импульсов ГИ открывает ключ К на интервал времени tин известной длительности, и в течение этого интервала на вход пересчетного устройства поступают импульсы с частотой fх. Число импульсов пропорционально измеряемому напряжению.
Погрешность измерения частотными вольтметрами снижена до ±0,01%.
В приборах с непосредственным преобразованием измеряемой величины в код напряжения постоянного тока измеряемое напряжение преобразуется в единичный код путем сравнения с известным напряжением, скачкообразно возрастающим во времени с шагом квантования. Единичный код равен числу ступеней, при котором наступает равенство напряжений, и переводится затем в число импульсов.
3. Одним из основных средств визуального отображения переменных величин служит универсальный электронно-лучевой осциллограф. Его основу составляет электронно-лучевая трубка (ЭЛТ), схематично изображенная на рис.12.3. Она представляет собой стеклянный баллон, из которого откачан воздух и в котором расположен ряд электродов: подогреваемый током катод К, управляющий электрод-модулятор М, регулирующий яркость (в виде сетки0; фокусирующий А1 и ускоряющий А2 аноды (все это электронная пушка); взаимно перпендикулярные горизонтальные ОПх и вертикальные ОПу отклоняющие пластины. Внутренняя поверхность экрана покрыта люминофором, который светится при ударах о него электронов.

Рис.12.3
Аноды собирают электроны в узкий пучок, позволяющий получить на экране пятно малого размера, и ускоряют электроны. Дополнительно для ускорения электронов служит анод А3 (для одиночных или редких импульсов).
Основными характеристиками ЭЛТ являются чувствительность, полоса пропускания, длительность послесвечения, рабочая площадь экрана и цвет свечения люминофора.
Чувствительность трубки
, где lТ - отклонение луча на экране ЭЛТ, вызванное напряжением UТ, приложенным к отклоняющим пластинам. Обычно SТ = 0,5…5 мм/В. С увеличением частоты измеряемого напряжения чувствительность трубки уменьшается. За верхнюю частоту полосы пропускания ЭЛТ принимается частота, при которой чувствительность уменьшается до значения 0,707 чувствительности на малых частотах. Чаще всего верхняя частота составляет 350-500 МГц.
Длительность послесвечения экрана определяется интервалом времени от момента прекращения действия электронного луча до момента, когда яркость изображения составит 1% от первоначальной. Обычно длительность послесвечения составляет порядка 0,1 с. Специальные запоминающие трубки позволяют сохранить изображение сигнала до нескольких суток.
Рабочая площадь экрана определяется диаметром трубки, если экран круглый, или длиной диагонали, если экран прямоугольный.
Цвет свечения определяется типом люминофора – может быть зеленым или голубым.
Функциональная схема электронно-лучевого осциллографа показана на рис. 12.4. ВД – входной делитель напряжения, УВО – усилитель вертикального отклонения (состоит из предварительного усилителя ПУ, линии задержки ЛЗ и выходного усилителя), КА и КД – калибраторы амплитуды и длительности соответственно, БС – блок синхронизации, ГР – генератор развертки, УГО – усилитель горизонтального отклонения, ЭЛТ – электронно-лучевая трубка, М – модулятор ЭЛТ, ОПх и ОПу – горизонтальные и вертикальные отклоняющие пластины соответственно, В1 – переключатель, подключающий к входу ВД либо вход У, либо выход калибраторов КА и КД, В2 – переключатель, подключающий ко входу БС либо внешнюю, либо внутреннюю синхронизацию.

Рис.12.4
Исследуемый сигнал подается на вход Н канала вертикального отклонения.
Последовательное включение делителя напряжения и усилителя вертикального отклонения обеспечивает значительный диапазон исследуемых напряжений. Линия задержки осуществляет временную задержку исследуемого сигнала, необходимую для исследования без искажений импульсных сигналов малой длительности.
Генератор линейной развертки обеспечивает смещение электронного луча по Х с равномерной скоростью. Он подает на горизонтальные отклоняющие пластины ОПх линейно нарастающего пилообразного напряжения. Принцип развертки показан на рис.12.5.

Рис.12.5
Показаны напряжения, подаваемые на пластины ОПх и ОПу и получаемое при этом на экране изображение. Цифрами показаны соответствующие моменты времени.
Для получения устойчивого изображения на экране частота линейно нарастающего пилообразного напряжения развертки должна быть кратной частоте исследуемого сигнала. Настройка осуществляется двумя ступенями – грубой и точной. Точно выдержать кратность частот на практике не удается, т.к. частота генератора немного плавает. Для получения устойчивого изображения служит блок синхронизации БС, который изменяет частоту генератора ГР в соответствии с частотой исследуемого сигнала. Это непрерывный режим работы.
В ждущем режиме ГР вырабатывает пилообразный импульс только с приходом исследуемого импульса (одиночного или с большим периодом следования).
Для проверки и установки правильных масштабов по осям Х и У служат калибраторы амплитуды и длительности. Это генераторы прямоугольных импульсов с известной амплитудой и частотой. Меняя усиления, получают нормированные отклонения луча на экране. Коэффициент отклонения – это отношение напряжения входного сигнала к отклонению луча по вертикали в делениях шкалы (обычно от 50 мкВ/дел до 20 В/дел). Величина, обратная коэффициенту отклонения – это чувствительность осциллографа по напряжению. Коэффициент развертки – это отношение времени к отклонению луча по горизонтали в делениях шкалы (0,01 мкс/дел – 0,05 с/дел), вызванному напряжением развертки за это время.
Точность измерения напряжений и токов с помощью осциллографа невелика, погрешность может быть 5-10%. Однако только осциллограф позволяет оценить форму импульса, определить мгновенные значения напряжения и тока и т.д.
В цифровых осциллографах входные аналоговые сигналы преобразуются в коды с помощью АЦП, записываются и хранятся в цифровом запоминающем устройстве. Исследуемый сигнал может отображаться на экране ЭЛТ или на матричном экране. Структурная схема цифрового осциллографа показана на рис.12.6.

Рис.12.6
Формирователем нарастающего кода ФНК вырабатывается код, равномерно нарастающий во времени, который поступает в отображающее устройство одновременно с кодами входного сигнала и управляет горизонтальным перемещением световой точки на экране.
Источник опорного напряжения вырабатывает определенные значения напряжений, которые поступают на входы компараторов, задавая их уровни срабатывания, соответствующие уровням квантования. Коды преобразуются в напряжения отклоняющих пластин или в позиционные коды матричных дисплеев (выбирают одну из строк и один из столбцов, на пересечении которых возникает светящаяся точка).
Функциональные возможности цифровых осциллографов намного шире, чем у аналоговых. Они позволяют получить многие параметры сигнала сразу в цифровой форме, проводить измерения дистанционно и автоматизировать процесс измерения. В них отсутствует высокое напряжение.
Лекция 13
Вопросы: 1. Контроль на этапе разработки.
2. Контроль продукции на этапе производства
3. Виды контроля качества продукции.






