Для проведения разделения нефти на ряд компонентов требуется выполнить несколько основных условий: необходимо нефть нагреть до температуры, обеспечивающей не только нагрев, но и испарение части нефти, т.е. произвести ее однократное испарение в печи, утилизировать тепло выработанных продуктов, нагревая ими сырую нефть. С этой целью используются: трубчатые нагревательные печи, теплообменные аппараты и ректификационные колонны. Рассмотрим устройство и принципы работы каждого аппарата.
Ректификационные колонны. При проведении процесса однократного испарения получают пар, обогащенный низкокипящим компонентом, и жидкость, обогащенную высококипящим компонентом по сравнению с исходным сырьём. Однако четкое разделение в однократных процессах не достигается. Для получения продуктов с любой желаемой концентрацией компонентов и высокими выходами служит процесс ректификации (см. раздел I). При многократном контактировании неравновесных паровой и жидкой фаз и их массо- и теплообмене паровая фаза обогащается низкокипящим компонентом (НКК), а жидкость — высококипящим компонентом (ВКК).
В конечном итоге четкость разделения НКК и ВКК (четкость ректификации) зависит от числа ступеней контакта паровой и жидкой фаз и количества флегмы (орошения), стекающей навстречу парам.
Принципиальная схема работы ректификационной колонны. Схема работы ректификационной колонны приведена на рис. 4.5. Как видно из рисунка, всреднюю часть колонны поступает подлежащее ректификации сырье F с температурой tF и составом хр. При входе в колонну происходит процесс однократного испарения, в результате которого образуются пары Gf, состава yF и жидкость gF, состава xF, находящиеся в равновесии, то есть имеющие одинаковую температуру и давление. На каждой n-й тарелке обеспечивается контакт между парами поступающими наданную тарелку, и жидкостью (флегмой), стекающей на эту тарелку.

В результате контакта этих встречных потоков изменяются составы паровой и жидкой фаз. При этом пары обогащаются НКК, а жидкость — ВКК. Пары Gn, уходящие с n-й тарелки, будут богаче НКК, чем пары Gn а жидкость qn будет богаче ВКК по сравнению с жидкостью qn+l. Уходящие с тарелки п потоки паров Gn и жидкости qn будут находиться в равновесии. При этом пары Gn, поступающие на вышележащую тарелку n+1, вновь вступают в контакт с соответствующим потоком жидкости, поступающим с тарелки пк, а жидкость qa уходит на тарелку n-1, где вновь происходит контакт фаз. Подобное контактирование будет происходить до тех пор, пока пар наверху колонны не приобретет заданный состав по содержанию НКК У0, а жидкость W внизу колонны не достигнет состава Xw.
Отбираемый с верха колонны продукт D, обогащенный НКК, называется ректификатом или дистиллятом, а с низу колонны продукт W — остатком или нижним кубовым продуктом.
Подобный процесс происходит в том случае, если жидкость, находящаяся на одном горизонтальном уровне с паром, например дп+1 и Gn, содержит больше НКК, чем жидкость qn, равновесная с этим паром Gn. При постоянном давлении в колонне этот уровень будет обеспечиваться, если температура жидкости qn+t будет ниже, чем температура паров Gn, то есть если температура в колонне будет уменьшаться в направлении движения потока паров (вверх) и возрастать в направлении потока жидкости (флегмы) вниз. Самая низкая температура tD будет в верху колонны, а самая высокая tw — внизу колонны. Часть колонны, куда вводится сырье, называется секцией питания или эвапорационным пространством.
Часть колонны, находящаяся выше ввода сырья, называется концентрационной или укрепляющей, а ниже ввода — отпарной или отгонной. В обеих частях колонны протекает один и тот же процесс ректификации. Поскольку для ректификации необходимо два потока, состоящих из одних и тех же компонентов, но разного состава, из верхней части отводят тепло Qd, а в нижней части подводят тепло Qw. В результате при конденсации паров наверху колонны образуется поток жидкости (флегмы, орошения), а в отгонной части колонны образуется восходящий поток паров.
Различают колонны простые, для разделения сырья на два компонента (дистиллят и остаток), и сложные, для получения из того же сырья трех и более компонентов. В этом случае продукты выводятся в виде боковых погонов через отпарные секции.
К группе ректификационных колонн относятся следующие аппараты современных установок AT и АВТ: предварительный испаритель или отбензинивающаяся колонна, основная ректификационная колонна, отпарные колонны, стабилизаторы, колонны вторичной перегонки, абсорберы, десорберы, вакуумные колонны и т.д.
Колонна представляет собой вертикальный стальной цилиндрический аппарат с внутренними устройствами для осуществления процесса ректификации — тарелками. Количество тарелок в каждой колонне рассчитывается в зависимости от ряда факторов: необходимого количества продуктов разделения, четкости разделения их (четкости ректификации), кратности орошения, допустимой скорости паров в колонне.
Размеры колонны зависят от заданной производительности, фракционного состава нефти, количества тарелок, давления, температуры, системы и количества орошения и других факторов.
Одним из основным размеров колонны является ее поперечное сечение S, определяемое по формуле:

где V — максимальный объем паров, поднимающихся по колонне, м3/с;
W — допустимая линейная скорость паров в свободном сечении колонны, м/с.
Объем паров определяется по формуле:

где t — температура паров, °С;
G — расход нефтяных паров, кг/с;
Z — расход водяных паров, кг/с;
М — молекулярная масса нефтяных паров;
П — абсолютное давление в колонне, кПа.
Р — атмосферное давление, кПа.
Основными элементами ректификационных колонн являются тарелки. Применяют тарелки разных конструкций: колпачковые тарелки, желобчатого типа, тарелки с S-образными элементами, клапанные, струйные, провального типа и др.
В последнее время получают все большее распространение ректификационные колонны с насадкой вместо тарелок.
Колпачковые тарелки и желобчатого типа обладают рядом недостатков:
а) большой удельный расход металла на один квадратный метр сечения колонны;
б) малое живое сечение (полезное сечение в м2 для прохода паров и жидкости), которое составляет не более 13% обшего сечения колонны;
в) повышенное сопротивление (потеря напора на одну тарелку составляет 120-150 мм вод.ст.);
г) недостаточно равномерное распределение потока паров;
д) частое загрязнение тарелок и сливных карманов при переработке сернистого и смолистого сырья, склонного к отложению продуктов коррозии и смолистых осадков.
Тарелки с S-образными элементами имеют значительно лучшие показатели. Расход металла на один кв. м сечения колонны в 3-4 раза меньше, потеря напора на одну тарелку в 5-10 раз меньше, живое сечение составляет 25%, по сравнению с желобчатыми тарелками четкость разделения у них выше. Поэтому S-образные тарелки получили большее распространение.
Основой такой тарелки является штампованный из листовой стали S-образный элемент с прорезями на одной из продольных кромок.
При сборке тарелки образуется ряд продольно расположенных и чередующихся желобов и колпачков. На тарелке поддерживается определенный уровень флегмы, регулируемый переливной перегородкой, избыток флегмы перетекает в сливной карман, а далее на нижележащую тарелку. Прорези колпачков погружены в слой жидкости на тарелках, образуя гидравлический затвор. Пары нефтепродуктов, двигаясь вверх по колонне, попадают в пространство колпачков, барботируют через прорези колпачков в гидрозатвор, образованный жидкостью на желобе, преодолевают его, отдавая при этом свое тепло флегме, в результате чего происходит тепло- и массообмен, и уходят, обогащенные НКК, на верхнюю тарелку. Конструкция таких тарелок позволяет демонтировать любую часть ее, не разбирая остальные. Стоимость этих тарелок на 30% ниже, чем с круглыми колпачками.
Дальнейшее развитие конструкции тарелок шло в направлении сокращения их металлоемкости, простоты монтажа и демонтажа, повышения производительности и четкости погоно разделения. Этими качествами обладают клапанные тарелки. Основными элементами тарелки являются клапаны, расположенные по плошали тарелки. Клапан имеет устройство, ограничивающее его подъем. При прохождении паров клапан приподнимается, пары проходят через слой флегмы, уровень которой регулируется специальными перегородками. Избыток флегмы перетекает через сливные перегородки на нижележащую тарелку. В последнее время такие тарелки получили широкое распространение в нефтепереработке. Элементы тарелок изготавливают из пластин, размеры которых позволяют монтировать их через люки колонны.
Клапанные тарелки обеспечивают более гибкую работу колонн на разной производительности. Устойчивая работа ректификационных колонн с этими тарелками возможна с перегрузками по парам до 60%. Устройство тарелок такого типа приведено на рис. 4.7.
Основные факторы, влияющие на работу ректификационных колонн, и качество получаемой продукции. Для строгого соблюдения режима и условий, обеспечивающих нормальный процесс ректификации, необходимо правильно эксплуатировать колонны. Важнейшими факторами режима являются температура, давление, количество орошения и расход водяного пара в отгонной и в отпарных секциях.
Температуру в колонне контролируют в нескольких точках: в зоне ввода нефти, в нижней части на выходе мазута или гудрона, в верхней части на выходе паров и в линиях отбора боковых фракций.
Схема клапанной тарелки

Рис. 4.7
Постоянство температуры в зоне ввода сырья обеспечивается регулированием его нагрева в трубчатой печи. Наряду с другими точками контроля, это один из важнейших факторов, влияющих на полноту испарения и обеспечение необходимого теплового баланса всей колонны для отбора требуемых целевых продуктов.
Температура в нижней части колонны влияет на полноту отбора целевых фракций из мазута или гудрона. Ее поддерживают за счет дополнительного подвода тепла либо через термосифонные теплообменники (на газофракционируюших установках), рибойлеры (на установках вторичной ректификации бензина), либо за счет тепла «горячей струи» (в колонне атмосферной перегонки). Для снижения температуры низа колонн и одновременного обеспечения необходимой отпарки светлых или масляных компонентов из остаточного продукта в низ атмосферных и вакуумных колонн вводят перегретый водяной пар.
Заданная температура в верхней части колонн обеспечивает получение дистиллята, например, бензина определенного фракционного состава по температуре его конца кипения. Постоянство ее соблюдается за счет подачи острого орошения. Изменяя его расход или температуру, можно регулировать и температуру верхней части колонны, а следовательно, и качество дистиллята. Температуры на тарелках отбора боковых продуктов обеспечивают заданное качество боковых продуктов: авиакеросина и дизельных фракций в атмосферных или масляных фракций в вакуумных колоннах. Поддержание необходимых температур на тарелках отбора боковых продуктов достигают за счет организации циркуляционных орошений. Изменяя их расход или температуру, можно регулировать температуры отбора боковых фракций в заданных пределах. Качество боковых погонов регулируют также использованием стриппингов.
Повышенное давление в ректификационных колоннах используют для ректификации газообразных углеводородов (пропан, бутан) при температуре верха колонн 45-55°С, чтобы конденсацию этих продуктов можно было осуществлять водой, а не специальными хладоагентами, что потребовалось бы при атмосферном давлении.
При этом в колоннах для ректификации газообразных углеводородов поддерживается давление от 0,3-0,4 до 2,45 МПа. Давление в колоннах позволяет повысить их удельную производительность по парам, а следовательно, уменьшить их диаметры. Таким образом, выбор давления в колоннах для проведения процесса ректификации требует обоснованного расчета. Давление в различных сечениях колонны зависит от гидравлического сопротивления, возникающего при прохождении паров через тарелки, то есть от конструкции тарелок. В атмосферных колоннах, оборудованных тарелками колпачкового типа или с S-образными элементами, перепад давления составляет 2-5 мм рт. ст. на каждую тарелку. Клапанные тарелки дают меньшее сопротивление. Значительное уменьшение (в 5-7 раз) сопротивления в колонне обеспечивается применением насадок. Для наблюдения за температурой, давлением, расходами орошения, отбираемых продуктов и водяного пара служат контрольно-измерительные приборы, автоматические анализаторы качества. Показания этих приборов позволяют следить за ходом процесса ректификации, качеством продуктов и своевременно устранять возможные отклонения от заданного режима.
В последнее время на отечественных заводах для этих целей стали более широко применять электронно-вычислительные машины — микропроцессоры.
Теплообменники, конденсаторы, холодильники. Теплообменные аппараты — это устройства, широко используемые в нефтепереработке для эффективного использования тепла горячих продуктов для нагрева сырья, либо для конденсации паров и охлаждения нефтепродуктов до требуемых температур.
К таким аппаратам относятся: теплообменники для нагрева сырья; испарители или рибойлеры, термосифонные кипятильники, служащие для внесения тепла в низ ректификационных колонн; конденсаторы смешения или кожухотрубчатые водяные конденсаторы-холодильники для конденсации паров и охлаждения легких фракций; конденсаторы для глубокого охлаждения углеводородных газов; водяные холодильники, конденсаторы-холодильники воздушного охлаждения. Наиболее распространенными теплообменными аппаратами в нефтеперерабатывающей промышленности являются: кожухотрубчатые теплообменные аппараты, теплообменники «труба в трубе», рибойлеры, конденсаторы- холодильники воздушного охлаждения.
На долю теплообменных аппаратов приходится до 40% металла от всего оборудования технологических установок. Поэтому правильный выбор применения того или иного теплообменного аппарата имеет большое значение при строительстве или реконструкции установок в общей сводке затрат и оказывает большое влияние на технико-экономические показатели работы установки.
Основной характеристикой теплообменного аппарата является его поверхность теплообмена; чем она больше при одном и том же расходе металла, тем эффективнее теплообменный аппарат. В промышленной практике применяют теплообменники с разной поверхностью: от 10 до 1012 м2 при длине от 3 до 9 м и диаметре от 30 до 1400 мм. Эффективность работы аппарата зависит от разности температур горячей и холодной среды (теплоносителей), скорости потоков, чистоты поверхности теплообмена, коэффициента теплопередачи.
Среды, используемые в процессе теплообмена, для подвода или отвода тепла называются соответственно теплоносителями и хладоагентами. В качестве теплоносителей используют нагретые жидкие и газообразные вещества, а также в некоторых случаях расплавы твердых веществ (солей, металлических сплавов и др.). Горячие дымовые газы, образующиеся при сжигании топлива, используют для нагрева воздуха, идущего в трубчатые печи. Нагрев воздуха дымовыми газами производится в специальных теп- лообменных аппаратах — воздухонагревателях или рекуператорах. Существенным недостатком таких аппаратов является их большая громоздкость вследствие низкого коэффициента теплопередачи, большая металлоемкость, частый выход их из строя в связи с коррозионным воздействием сернистых соединений дымового газа в условиях близких к «точке росы». Водяной насыщенный пар чаще всего применяют для внесения тепла в нижнюю часть ректификационных колонн тех технологических установок, где не требуется подогрев до высоких температур.
В широком масштабе это — установки газофракционирования (ГФУ), экстракции, отдельно стоящие установки ЭЛОУ и др. Передача тепла от насыщенного водяного пара происходит в специальных аппаратах — испарителях-рибойлерах или термосифонных кипятильниках. Принципиальное устройство такого аппарата приведено на рис. 4.10.
Как видно из рисунка, испаритель состоит из корпуса 4, в котором находится трубный пучок 7 с «плавающей головкой» 6. Внутри корпуса установлена сливная пластина 5. Трубный пучок одной стороной соединен с распределительной камерой 8, имеющей внутри сплошную горизонтальную перегородку. Камера имеет два штуцера для входа и выхода теплоносителя (пар или горячий нефтепродукт). Корпус имеет три штуцера: один —для входа нагреваемого углеводородного продукта, второй — для выхода отпаренного нефтепродукта после сливной перегородки и третий — для выхода паров и направления их в ректификационную колонну. Уровень продукта в испарителе поддерживается за счет сливной перегородки 5, так что при нормальной работе пучок 7 полностью покрыт отпариваемым нефтепродуктом. По трубному пучку направляют теплоноситель (насыщенный пар или горячий нефтепродукт). Отдав свое тепло нагреваемой среде, теплоноситель выходит из пучка через другой штуцер.

Рис. 4.10. Теплообменник с паровым пространством (испаритель):
1 — штуцер для вытаскивания трубного пучка: 2 — днище; 3 — люк-лаз; 4 — корпус; 5 — сливная пластина; 6 — «плавающая головка»; 7 — трубный пучок; 8 — распределительная камера
Кожухотрубчатые теплообменники. Наибольшее распространение для теплообмена получили кожухотрубчатые аппараты с «плавающей головкой», принципиальное устройство которых приведено на рис. 4.11 и 4.12.
Теплообменник, представленный на рис. 4.11, двухходовой. Число ходов устанавливается числом перегородок в распределительной камере 1. Особенностью данной конструкции является возможность свободного осевого перемещения трубного пучка или «плавания» одной изтруб- ных решеток в корпусе аппарата. Этим обеспечивается компенсация температурных изменений длины трубного пучка и корпуса. Разъемная конструкция аппарата позволяет вынимать трубный пучок из корпуса и чистить трубное и межтрубное пространства от отложений и грязи. Установленные в распределительной камере перегородки (а их может быть две, три и больше) позволяют многократно изменять направление потока теплоносителя, который в этом случае более эффективно отдает тепло. Поперечные перегородки, установленные на пучке, с вырезами и поворотами их по спирали по всей длине пучка, повышают скорость нагреваемого потока в межтрубном пространстве, увеличивая коэффициент теплопередачи, а следовательно, более эффективно получая тепло от теплоносителя.

Рис. 4.11. Двухходовой теплообменник с «плавающей головкой»:
1 — распределительная камера; 2 — трубная решетка; 3 — «плавающая головка»

Рис. 4.12. Кожухотрубчатый водяной конденсатор для конденсации бензиновых паров:
1 — патрубки для подачи и вывода продуктов; 2 — трубки; 3 — «плавающая головка»; 4-5 — лапы
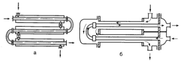
Теплообменники типа «труба в трубе». Такие теплообменники имеют меньшее распространение в нефтепереработке и применяются главным образом для передачи тепла от высоковязких гудронов и крекинг-остатков, т.е. продуктов с большой вязкостью и температурой застывания. Для их транспортировки требуются повышенные скорости, обеспечивающие как хорошую теплоотдачу нагреваемому продукту, так и сокращающие возможность образования отложений (кокса) и повышения вязкости. Принципиальное устройство такого теплообменника приводится на рис. 4. 14 а,б. Теплообменник представляет собой «змеевик», в котором одна труба коаксиально расположена в другой трубе. Горячий теплоноситель прокачивается по внутренней трубе, более доступной для очистки ее от отложений или пробок застывшего продукта. Приведенный на рис. 4.14 а теплообменник «труба в трубе» жесткого типа очень металлоемок, громоздок для создания большой поверхности нагрева и сравнительно дорог. Такие теплообменники были усовершенствованы: сохранено концентрическое расположение труб, но эти трубы собраны в пучок с камерами для перетока теплоносителя. Такие аппараты более компактны, их изготавливают отдельными секциями по 45 м2, которые монтируют далее друг наддругом. На рис. 4.14 б приведена секция модернизированного аппарата «труба в трубе» разборного типа.

Рис. 4.14. Схемы теплооблменных аппаратов:
а — теплообменный аппарат типа «труба в трубе» жесткого типа; б — разборный теплообменный аппарат типа«труба в трубе»
Конденсаторы-холодильники воздушного охлаждения. По конструкции водяные конденсаторы-холодильники кожухотрубчатого типа ничем не отличаются от теплообменников. Несмотря на свою эффективность, они, тем не менее, обладают серьезным недостатком: требуют значительного количества воды. С 70-х годов XX-го столетия началось массовое использование конденсаторов-холодильников воздушного охлаждения. Их применение позволило решить указанные проблемы, кроме того, резко снизить затраты, связанные с очисткой поверхностей трубок. Аппараты воздушного охлаждения (АВО) оборудованы плоскими трубными пучками, по которым проходит конденсируемый и охлаждаемый поток нефтепродукта. Через этот пучок перпендикулярно направляют поток воздуха, нагнетаемый вентилятором. Для компенсации низкого коэффициента теплопередачи со стороны воздуха применяют оребрение труб алюминиевыми (или из его сплавов) пластинами, трубки с которыми насаживают на стальную трубу методом горячей посадки. В результате увеличивается поверхность охлаждения и, несмотря на низкий коэффициент теплопередачи (42-210 кДж/м2 • ч • "С, в зависимости от скорости потока воздуха), за счет оребрения достигается хороший теплосъем и охлаждение продуктов. Иногда с этой целью применяютувлажнение подаваемого воздуха (в летний период) распылением воды в пространство диффузора через специальные распылители. В зимний период, во избежание сильного переохлаждения продукта, вентиляторы могут быть выключены из работы. В последнее время, в целях рационального расхода электроэнергии, процесс охлаждения производят с использованием вентиляторов с регулируемым числом оборотов двигателя, изменением угла наклона лопастей и регулированием распределения количества пропускаемого через секции воздуха автоматическим перекрытием или открытием жалюзей. Особое внимание следует обращать на то, чтобы в процессе монтажа секций они были бы плотно состыкованы друге другом, без каких-либо щелей и зазоров между ними и опорной рамой. В противном случае часть воздуха будет идти мимо, и эффективность применения АВО снизится. АВО изготавливают по стандартам, в которых предусмотрены большие диапазоны величины поверхности, степени оребрения и конструкционного материала, используемого для их изготовления (сталь различных марок, латунь, алюминиевые сплавы, биметаллы). АВО подразделяют на следующие типы:
горизонтальные — АВГ зигзагообразные — АВЗ для вязких продуктов — АВГ-В для высоковязких продуктов — АВГ-ВВ. АВО типов АВГ и АВЗ приведены на рис. 4.15 и 4.16. Размещение пучков оребренных труб зигзагообразно позволяет иметь большую поверхность теплообмена, чем при горизонтальном расположении секций трубного пучка на одной площади.

Рис. 4.15. Схема аппарата воздушного охлаждения с горизонтальным расположением секций (АВГ)

Рис. 4.16. Схема аппаратов воздушного охлаждения: шатрового (а) и зигзагообразного (б) типов
Трубчатые печи. Трубчатые печи являются огневыми аппаратами, предназначенными для передачи тепла, выделяющегося при сжигании топлива, нагреваемому продукту.
В начальный период развития нефтепереработки нагрев сырья производился в металлических кубах, обогреваемых теплом сжигаемого топлива в топке, расположенной под ними. При этом нагревали большие количества нефти, длительно находящей в зоне нагрева, что приводило к термическому ее разложению. Также имела место повышенная пожароопасность при прогаре стенки куба. Наконец, при большом расходе металла поверхность нагрева оставалась незначительной. В связи с этим в таких аппаратах тепло сжигаемого топлива неэффективно передавалось сырью, что требовало повышенных затрат на нагрев.
Поэтому трубчатые печи явились своего рода техническим новшеством, позволившим кардинальным образом решить вопросы теплопередачи во многих процессах, использующих тепло сжигаемого топлива для нагрева продукта. В настоящее время имеется большая разновидность трубчатых печей, используемых на установках первичной переработки, каталитического крекинга, каталитического риформинга, гидроочистки других процессов.
На рис. 4.17 и 4.18 приведены некоторые характерные типы печей, применяемые на установках нефтеперерабатывающих заводов.
Трубчатые печи получили широкое распространение благодаря следующим особенностям: их работа основывается на принципе однократного испарения, что обеспечивает либо глубокий отгон при данной конечной температуре нагрева сырья, либо заданный отгон при более низкой температуре нагрева.
Они обладают высокой тепловой эффективностью, достаточно компактны, у них высокий коэффициент полезного действия, они могут обеспечивать большую тепловую мощность.
Нагрев сырья или какого-либо продукта в трубчатых печах происходит практически без заметного термического разложения вследствие малого времени пребывания нагреваемого продукта в зоне повышенных температур.
Печи удобны в эксплуатации и позволяют применить автоматизацию для управления режимом горения топлива.
Теплообмен в трубчатой печи. На рис. 4.17 изображен поперечный разрез печи шатрового типа. Она имеет две топочные камеры (радиантные камеры, отделенные друг от друга перевальными стенками). В радиантных камерах сжигается топливо. По стенкам камер размещены трубы в виде потолочных (1) и подовых (10) экранов. Здесь тепло сжигаемого топлива передается трубам за счет радиации от факела, образующегося при сжигании топлива. Между перевальными стенками находится камера конвекции, в которой тепло передается продукту, находящемуся в трубах, непосредственным соприкосновением дымовых газов (конвекцией). Передача тепла в камере конвекции тем эффективней, чем выше скорость дымовых газов в ней и чем больше поверхность труб конвекционного пучка. Сырье в печи вначале направляется в конвекционную камеру, а затем — камеру радиации. Основная доля тепла нагреваемому сырью или продукту передается в камере радиации (70-80%), на долю конвекционной камеры приходится 20-25%.
В топочные камеры печи (см. рис. 4.17) с помощью форсунок подают распыленное топливо, а также необходимый для горения нагретый или холодный воздух. Топливо интенсивно перемешивается с воздухом, что обеспечивает его эффективное горение. Соприкосновение факела горения с поверхностью перевальных стен обусловливает повышение ее температуры, при этом излучение происходит не только от факела, но и от этих раскаленных стен. Тепло, выделенное при сгорании топлива, расходуется на повышенные температуры дымовых газов и частиц горящего топлива, последние раскаляются и образуют светящийся факел. Температура, размер и конфигурация факела зависят от многих факторов, в частности, от температуры и количества воздуха, подаваемого для горения топлива, способа подвода воздуха, расхода форсуночного пара, теплотворной способности топлива, размеров топочных камер и степени их экранирования. Чем более нагрет воздух, подаваемый для сжигания, тем выше температура факела, скорость горения и короче размеры факела.

Рис. 4.17. Типовая двухкамерная трубчатая печь (шатрового типа): I — потолочный экран; 2 — конвективный пучок труб; 3 — трубная решетка конвективного пучка; 4 — взрывное окно; 5 — трубная подвеска; 6 — каркас печи; 7 — смотровой лючок: 8 — подвесная кладка; 9 — туннель для форсунки; 10 — подовый экран

Размеры факела зависят и от расхода воздуха, подаваемого для сжигания топлива. Чем больше воздуха (до известного предела), тем короче факел. При недостаточном количестве воздуха факел становится растянутым, топливо полностью не сгорает, что приводит к потере тепла. При чрезмерной подаче воздуха увеличиваются потери тепла с дымовыми газами и усиливается окисление (окалинообразование) поверхности нагрева (труб).
Радиантные трубы воспринимают тепло не только излучением, но и от соприкосновения дымовых газов с поверхностью труб, имеющих более низкую температуру (теплопередача свободной конвекцией). Из всего количества тепла, воспринятого радиантными трубами, 85-90% передается излучением, остальное конвекцией.
Охлажденные в топочной камере дымовые газы поступают в камеру конвекции, где происходит их прямое соприкосновение с более холодной поверхностью конвекционных труб.
Основным фактором, влияющим на эффективность передачи тепла конвекцией, является скорость движения дымовых газов. Поэтому при проектировании печи стремятся обеспечить ее максимальное значение, однако, это увеличивает сопротивление потоку газов, что и ограничивает выбор величины скорости. На теплопередачу в конвекционной камере влияет также расположение труб. При расположении труб в шахматном порядке эффективность теплопередачи выше, чем при их коридорном расположении. На эффективность передачи тепла влияет и диаметр труб: чем он меньше, тем эффективнее теплопередача. Но при этом возникает дополнительное сопротивление при движении сырья по змеевику, а следовательно, повышенному давлению подвергается и вся аппаратура и трубопроводы до печи. С целью исключения повышения давления при выборе труб меньшего диаметра, движение сырья в печи осуществляют несколькими параллельными потоками. Для повышения эффективности теплопередачи применяют наружное оребрение труб, что увеличивает их поверхность. Передача тепла конвекцией зависит и от температурного напора, то есть от разности температур между дымовыми газами и нагреваемым сырьем, которая убывает в направлении движения дымовых газов, так как температура дымовых газов снижается на большую величину, чем при этом повышается температура сырья. При повышении температуры сырья на один градус дымовые газы охлаждаются на 5-7°С.
Конвекционные трубы, расположенные в первых рядах конвекционной камеры по ходу дымовых газов, получают больше тепла как за счет конвекции, так и излучения, поэтому их теплонапряженность иногда может быть выше теплонапряженности радиантных труб.
Основные показатели работы трубчатых печей. К этим показателям относятся:
1. Полезная тепловая нагрузка печи.
2. Теплонапряженность поверхности нагрева и топочного пространства.
3. Коэффициент полезного действия печи.
Полезная тепловая нагрузка печи используется на нагрев сырья и перегрев водяного пара. Измеряется она в кДж/ч или в кВт.
Наряде действующих Н ПЗ эксплуатируются печи с полезной тепловой нагрузкой от 10 до 50-80 МВт.
Теплонапряженность поверхности нагрева означает плотность теплового потока, т.е. количество тепла, переданного через 1 м2 поверхности нагрева в единицу времени (Вт/м2).
Величина тепловой напряженности поверхности нагрева характеризует эффективность передачи тепла через поверхность нагрева всей печи или отдельных ее частей. Чем выше средняя теплонапряженность поверхности нагрева всей печи, тем меньше размеры печи и, следовательно, меньше затраты на ее сооружение. Различают теплонапряженность поверхности нагрева радиантных и конвекционных труб. Из практических данных известно, что для атмосферных печей шатрового типа она составляет от 105 до 190тыс.кДж/(м2*ч), для вакуумных печей 85-125тыс.кДж/(м2'ч). В более современных печах с экранами двухстороннего облучения, с развитой поверхностью экранирования она может составлять до 210-250 тыс.кДж/(м2 -ч).
Теплонапряженность поверхности нагрева конвекционных труб зависит от характера труб (гладкие, оребренные или ошипованные) и скорости потока дымовых газов и составляет 43-63 тыс.кДж/(мг • ч). Работа печи с чрезмерно высокой теплонапряженностью может привести к нарушению нормальной работы печи и прогару труб.
Теплонапряженность топочного пространства характеризует количество тепла, выделяемого при сгорании топлива в единицу времени, в единице объема топки. Она характеризует эффективность использования объема топки и зависит преимущественно от допустимой величины теплонапряженности поверхности нагрева радиантных труб и от конструктивных особенностей печи.
В трубчатых печах теплонапряженность топочного пространства составляет 40-80 кВт/м2. Работа топки с чрезмерно повышенной тепло- напряженностью приводит к перегреву стен топки, оплавлению огнеупорной кладки и подвесок и несвоевременному выходу печи из эксплуатации, аварийному ремонту кладки и трубной поверхности.
Коэффициент полезного действия (КПД) печи — величина, характеризующая полезно используемую часть тепла, выделенного при сгорании топлива. При полном сгорании топлива эта величина зависит главным образом от коэффициента избытка воздуха и температуры дымовых газов, уходящих в дымовую трубу, а также от степени теплоизоляции трубчатой печи.
Потери тепла в атмосферу через кладку печи зависят от поверхности печи, толщины и материала кладки и составляют для старых печей 6-10%. В значительной степени КПД печи зависит от температуры уходящих дымовых газов. Поэтому для повышения КПД применяют использование тепла дымовых газов для подогрева воздуха или для выработки пара в котлах-утилизаторах. КПД печей устаревших конструкций составляет 65-80%. Современные трубчатые печи установок АТ-6 и АВТ-6 имеют КПД от 83 до 90%. Для нагрева воздуха дымовыми газами на установке ЭЛОУ-АТ-6 вместо обычного трубчатого воздухоподогревателя, который часто выходил из строя из-за коррозии дымовыми газами, применен метод передачи тепла от специального теплоносителя, нагреваемого дымовыми газами в трубах, расположенных в конвекционной камере. Это полностью исключает коррозию самого воздухоподогревателя, так как отсутствует его прямой контакте дымовыми газами.
Температурный контроль при работе трубчатых печей. Для полного сгорания топлива требуется подвести к нему определенное количество кислорода воздуха, называемое теоретическим. Обычно из расчетных данных это количество составляет 12 кг/кг сжигаемого топлива. Фактически, в связи с недостаточным перемешиванием воздуха с топливом, для его полного сгорания требуется насколько большее количество кислорода. Обычно коэффициент избытка воздуха составляет 1,2-1,3. При этом топливо сгорает практически полностью с образованием дымовых газов, содержащих в своем составе СО,, SO,, пары воды и минимальное количество окиси углерода.
Важнейшими точками контроля являются температуры: на входе и выходе сырья из змеевика печи, на входе и выходе водяного пара из пароперегревателя, на входе дымовых газов в боров печи, у радиантных труб, над перевальной стенкой.
Температура на входе сырья в печь зависит от степени использования тепла отходящих горячих продуктов из ректификационных колонн и составляет обычно 180-230°С. Чем выше температура нефти, поступающей в печь, тем выше будет температура отходящих дымовых газов, следовательно, больше будет теряться тепла в дымовую трубу, тем меньше будет КПД печи. Сказанное иллюстрируется следующими данными:
Температура отходящих дымовых газов, °С 205 215 245 270 300 330
Коэффициент полезного действия печи, % 80,0 79,3 77,7 76,0 74,4 72,8
Для повышения КПД печи в этом случае используют воздухоподогреватели.
Температура выхода сырья из печи зависит от фракционного состава сырья, давления на выходе из печи и доли отгона. Постоянство этой температуры обеспечивается терморегулятором, связанным с расходом топлива. При повышении этой температуры автоматически сокращается расход топлива и наоборот. Обычно при атмосферной перегонке нефти эта температура поддерживается на уровне 330-360°С, а при вакуумной — 410-450°С. При заданной доле отгона температура сырья на выходе из печи тем выше, чем меньше в нем содержится легких фракций и выше давление.
Температура дымовых газов, покидающих конвекционную камеру и уходящих в дымовую трубу, зависит от температуры поступающего в печь сырья и превышает ее на 100-150°С. Однако, когда температура сырья по технологическим причинам высока (печи для нагрева мазута, печи каталитического риформинга и др.), дымовые газы охлаждают, используя их тепло в пароперегревателе, воздухоподогревателе или для подогрева конденсатной воды и получения водяного пара.
Температура дымовых газов над перевальной стенкой является одним из важнейших показателей. Высокая температура дымовых газов над перевальной стенкой соответствует высокой теплонапряженности радиантных труб, высокой температуре их стенок и вероятности коксоотложения в трубах печи, а следовательно, возможности их прогара. Высокая скорость нагреваемого потока сырья позволяет осуществлять больший теплосъем, понижать температуру стенок труб и, таким образом, работать с более высокой температурой газов над перевалом и теплонапряженностью радиантных труб. Увеличение поверхности радиантных труб также способствует снижению их теплонапряженности и снижению температуры дымовых газов над перевалом. Чистота внутренней поверхности труб змеевика также является важнейшим фактором, влияющим на температуру газов над перевальной стенкой. Температура газов над перевалом тщательно контролируется и обычно не превышает 850-900°С.