ТЕМА 1
РАЗДЕЛ 2 АВТОМАТИЗАЦИЯ ТИПОВЫХ ТЕХНОЛОГИЧЕСКИХ ПРОЦЕССОВ
ТЕМА 1 АВТОМАТИЗАЦИЯ ТП В ПОЛЕВОДСТВЕ
ТЕМА 2 АВТОМАТИЗАЦИЯ ТЕХНОЛОГИЧЕСКИХ ПРОЦЕССОВ В СООРУЖЕНИЯХ ЗАЩИЩЕННОГО ГРУНТА
ТЕМА 3 АВТОМАТИЗАЦИЯ ПРОЦЕССОВ ПОСЛЕУБОРОЧНОЙ
ОБРАБОТКИ ЗЕРНА
ТЕМА 4 АВТОМАТИЗАЦИЯ ХРАНИЛИЩ СХ-ОЙ ПРОДУКЦИИ
ТЕМА 5 АВТОМАТИЗАЦИЯ ПРОЦЕССОВ ПРОИЗВОДСТВА
И ПЕРЕРАБОТКИ КОРМОВ
ТЕМА 6 АВТОМАТИЗАЦИЯ ТЕХНОЛОГИЧЕСКИХ ПРОЦЕССОВ
В ЖИВОТНОВОДСТВЕ
ТЕМА 7 АВТОМАТИЗАЦИЯ ТЕХНОЛОГИЧЕСКИХ ПРОЦЕССОВ
В ПТИЦЕВОДСТВЕ
ТЕМА 8 АВТОМАТИЗАЦИЯ УСТАНОВОК МИКРОКЛИМАТА В ЖИВОТНОВОДЧЕСКИХ И ПТИЦЕВОДЧЕСКИХ ПОМЕЩЕНИЯХ
ТЕМА 9 АВТОМАТИЗАЦИЯ ВОДОСНАБЖЕНИЯ И ГИДРОМЕЛИОРАЦИИ
ТЕМА 10 АВТОМАТИЗАЦИЯ СИСТЕМ ЭНЕРГООБЕСПЕЧЕНИЯ
СЕЛЬСКОГО ХОЗЯЙСТВА
ТЕМА 11 АВТОМАТИЗАЦИЯ СИСТЕМЫ ТЕХНИЧЕСКОГО СЕРВИСА В СЕЛЬСКОМ ХОЗЯЙСТВЕ
1. ОБЩИЕ СВЕДЕНИЯ
Основную долю ТП в полеводстве (предпосевная подготовка семян, клубней, обработка почвы, посев, уход за растениями, уборка урожая) выполняют мобильные сельскохозяйственные агрегаты (МСА). К ним относятся самоходные комбайны и совмещенные с трактором различные прицепные машины (орудия): почвообрабаты-вающие, посевные, для внесения удобрений, прореживания всходов СХ культур, дождевальные, уборочные и др.
Повышенные требования, предъявляемые к качеству и эффектив-ности ТП в полеводстве, а также высокая конкурентоспособность МСА диктуют необходимость решения проблемы повышения их технико-экономического и экологического уровней.
МСА работают в сложных и различных почвенно-климатических условиях при многообразии случайных возмущений, различных неопределенностей, которые приводят к нарушениям энергетического и технологического режимов работы машин. Так, перегрузки и недогрузки в работе дизельного двигателя МСА приводят к перерасходу топлива, снижениям ресурса двигателя, производительности и качества работы, а также к резкому увеличению отрицательного воздействия мобильных агрегатов на оператора (водителя), почву и растения, атмосферу. Колебания скорости движения МСА снижают качество выполнения ТП, увеличивают потери технологического продукта, а буксование колес отрицательно воздействует на структуру верхнего слоя почвы, снижает расход топлива и общий тяговый КПД мобильного агрегата.
Оператор одновременно с управлением МСА непрерывно контро-лирует ход ТП, техническое состояние агрегата, а также обеспечивает безопасность его движения. В реальных условиях работы водитель практически не в состоянии своевременно принять правильное решение (создать управляющие воздействия) при восприятии и обработке огромного потока взаимозависимой информации, превышающей его физиологические возможности. Особенно это сказывается при работе современных МСА на повышенных скоростях. Ручное управление такими агрегатами недостаточно эффективно, а потенциальные возможности их не используются в полном объеме в связи с ограничениями, вносимыми «человеческим фактором».
Неизбежным и кардинальным направлением повышения технико-экономического и экологического уровней мобильных агрегатов является автоматизация контроля и управления технологическими, энергетическими и эксплуатационными режимами их работы МСА при минимальном участии человека.
В то же время создание эффективных средств автоматизации, большого разнообразия МСА представляет собой непростую задачу, связанную и со специфическими особенностями их функционирования. Это работа их на открытом пространстве в условиях изменяющихся в широких пределах температуры и влажности, запыленности и загазованности, наличия значительных вибраций, шумов, а также отсутствие на МСА стабильного источника электрической энергии, низкая квалификация обслуживающего персонала. Перечисленные факторы предъявляют повышенные требования к надежности средств автоматизации мобильной техники, простоте их эксплуатации и обслуживания.
Рассмотрим известные и перспективные системы автоматического контроля и управления работой МСА.
2. СИСТЕМЫ АВТОМАТИЧЕСКОГО КОНТРОЛЯ (САК) РАБОТЫ МСА
2.1. САК работы посевных агрегатов обеспечивают контроль частоты высева семян и количества технологического материала (семян, удобрений) в бункерах машин.
Функциональная схема таких систем (рисунок 1) включает набор датчиков Д1...Дп контролируемых параметров установленных на посевном агрегате (объекте САК), блок усиления и преобразования сигналов датчиков (БУП) датчиков, монитор для оператора (установленный в кабине трактора или самоходного комбайна).

Рисунок 1 - Общая функциональная схема САК работы посевного агрегата
Датчики основных контролируемых параметров (уровней семян, удобрений в бункерах сеялки и частоты высева семян) имеют фотоэлектрический принцип действия и состоят из оптически связанных между собой фотоприемника (например, фоторезистора, фотодиода) и светового излучателя (например, светодиода или лампы накаливания). Системы АК имеют режим «Проверка», при котором генерируется импульсная последовательность, имитирующая сигналы датчиков при нормальном протекании технологического процесса высева семян.
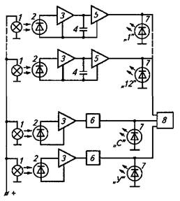
Электрическая схема устройства САК зерновой сеялки показана на рисунке 2.

Рисунок 2 - Электрическая схема устройства САК зерновой сеялки
Устройство имеет 12 идентичных каналов обработки сигналов датчиков частоты высева семян. Каждый из каналов преобразования сигналов датчиков (световых излучателей 1 и фотодиодов 2) содержит усилитель 3, емкость 4 с электронным ключом 5, световой индикатор (светодиод) 7. Электронное реле 6 и блок звуковой сигнализации 8.
При работе зерновой сеялки семена (поступающие из ее высевающих дисков) периодически прерывают световой поток между световым излучателем 1 и фотодиодом 2, на выходе которого вырабатываются электрические импульсы, поступающие на вход усилителя 3 соответствующего канала контроля (семяпровода) и далее на электронный ключ 5 с емкостью 4. Если период следования импульсов меньше времени заряда емкости (конденсатора), то электронный ключ 5 соответствующего канала закрыт и его световой индикатор 7 не будет светиться. Если же произойдет сбой или нарушение (технологии высева семян) работы высевающего аппарата, то подача импульсов с фотодиодов 2 прекращается или их частота резко снижается. При этом емкость 4 заряжается до необходимого уровня напряжения, электронный ключ 5 срабатывает и включает соответствующий конкретному семяпроводу световой индикатор 7. Оператору с блока звуковой сигнализации 8 подается при этом прерывистый сигнал.
Датчики уровня технологического материала в бункере сеялки устанавливают в его нижней части. Если, например, уровень заполнения бункера семенами (удобрением) превышает место (высоту) установки датчика, то световой поток его излучателя не попадает на соответствующий фотодиод 2 и выходной ток последнего будет минимален. Если же этот уровень ниже места установки датчика, то на фотодиод попадает световой поток, что вызывает существенное возрастание силы тока (в цепи фотодиода) и его увеличение усилителем 3 до порога включения электронного реле 6 и светового указателя 7 минимального уровня семян «С» (удобрений «У»).
Устройство (на рисунке 2) в виде электронного блока выполнено в герметичном корпусе, закрепленном на сеялке и имеющем электрические разъемы для подключения датчиков и источника электрической энергии (аккумулятора МСА).
Т.о., оператор, находясь в кабине трактора (комбайна), получает достоверную информацию о наличии семян или удобрений в бункерах, а также о нарушениях работы конкретных семяпроводов высевающих аппаратов.
Такие САК существенно сокращают сроки сева и повышают его качество.
2.2. САК положения рабочих органов (русел) кукурузоуборочных агрегатов (комбайнов) предназначены для обеспечения контроля положения русел (относительно рядков стеблей кукурузы) прицепных кукурузоуборочных комбайнов как в светлое, так и в темное время суток.
Функционально-технологическая схема САК приведена на рисунке 3 (а - б).
При движении кукурузоуборочного агрегата по рядкам кукурузы рамка копира 8 датчика, установленного на делителе среднего мыса жатки, находится в междурядье. Если приемные русла жатки комбайна отклоняются от рядков стеблей или же сами рядки имеют искривления, то копир датчика, касаясь стеблей кукурузы, отклоняется, что вызывает поворот связанного с ним посредством тросика и шкива якоря индуктивного преобразователя (выполненного по схеме дифференциального трансформатора). Якорь поворачивается на угол, пропорциональный отклонению копира. Возникающий при этом электрический сигнал поступает на усилительно-преобразующий блок (УПБ) через последовательно соединенные чувствительный элемент (ЧЭ), измерительные преобразователи (ИП) и далее на устройство отображения информации (УОИ), на лицевой панели которого расположены световые индикаторы. Число их включения пропорционально значению отклонения копира, а направление световой полосы (зеленого цвета) относительно постоянно светящейся полосы (красного цвета) соответствует значению и направлению отклонения русел комбайна от требуемой траектории движения, определяемой расположением рядков кукурузы.

Рисунок 3 - Функционально-технологическая схема САК положения русел кукурузоуборочного комбайна
1 – устройство отображения информации; 2 – усилительно-преобразующий блок;
3 – копир; 4 – демпфирующее устройство; 5 – шкив; 6 – ограничитель поворота;
7 – передающий преобразователь; 8 – рамка копира; 9 – контрольная метка;
10 – тросовый привод; 11 – ось поворота; 12 – натяжной винт; 13 – пластина;
14 – основание.
Используя такую информацию, оператор может оперативно устранять возникающие отклонения, воздействуя на рулевой механизм трактора и изменяя положение комбайна относительно рядков растений. Чувствительный элемент датчика положения русел комбайна относительно рядков растений представляет собой рамку копира (рисунок 3, в), которая может под воздействием растений кукурузы поворачиваться относительно основания 14. Рамка с ограничителем поворота 6 связана тросовым приводом 10 со шкивом 5 передающего преобразователя 7 датчика и посредством пластины 13 соединена с демпфирующим устройством 4. Ось поворота 11 рамки копира является базой ориентации машины. Изменение ее положения относительно центра междурядья приводит к повороту рамки.
Исходное (нейтральное) положение поворотной рамки копира и связанного с ней шкива передающего преобразователя устанавливается натяжными винтами 12 крепления тросика на пластине 13 рамки копира. Это положение определяется по совпадению контрольной метки 9 на корпусе с указателем, расположенным на его валу.
3. САУ МСА
3.1 САУ ПОЛОЖЕНИЕМ РАБОЧИХ ОРГАНОВ МСА
3.2 САУ РЕЖИМАМИ РАБОТЫ МСА
3.3 САУ НАПРАВЛЕНИЕМ ДВИЖЕНИЯ КОРМОУБОРОЧНОЙ МАШИНЫ
3.1 САУ ПОЛОЖЕНИЕМ РАБОЧИХ ОРГАНОВ МСА позволяют повысить качество и эффективность выполнения ТП, а также улучшить условия работы оператора. В частности:
1. Автоматическое управление глубиной вспашки предназначено для стабилизации глубины вспашки (хода плугов, лемехов и других рабочих органов). Практическое применение нашли силовой, высотный и комбинированный способы стабилизации глубины вспашки.
Силовой способ основан на том, что тяговое сопротивление плуга зависит от глубины вспашки. При увеличении (уменьшении) тягового сопротивления специальная пружина, установленная между трактором и плугом, сжимается (разжимается) и перемещает шток и поршень управляющего гидрозолотника. При этом последний перераспределяет (под давлением от насоса) поток масла (гидравлической жидкости) в соответствующие полости силового гидроцилиндра, который осуществляет выглубление (заглубление) лемехов плуга до заданного тягового усилия. Такой способ позволяет также стабилизировать нагрузку трактора и обеспечивать экономичную работу его двигателя. Силовой способ эффективен в работе преимущественно на однородных по составу почвах при постоянной скорости движения трактора, т.е. когда тяговое усилие трактора пропорционально глубине хода лемехов плуга.
Высотный способ применяют для неоднородных почв (рисунок 4).

Рисунок 4 – Схема устройства для управления глубиной вспашки
1 – плуг; 2 – опорное колесо; 3 – пружина; 4 – гидрозолотник
В устройстве перед плугом 1 устанавливают опорное колесо (датчик глубины) 2, механически соединенное со штоком гидрозолотника 4. При изменении глубины вспашки шток перемещается и окна а и б гидрозолотника открываются. Через них масло под давлением поступает в гидроцилиндр, который регулирует высоту плуга, восстанавливая необходимую глубину его хода.
Комбинированный способ объединяет принципы и устройства силового и высотного способов управления глубиной хода рабочих органов МСА.
2. Автоматическое управление высотой среза кормовых трав, кукурузы и другой зеленой массы применяют на сенокосилках и силосоуборочных комбайнах. Высоту среза растений устанавливают минимально допустимой, что повышает сбор зеленой массы. Для этого используют полозковый щуп 2, копирующий рельеф поля (рисунок 5).

Рисунок 5 - Схема устройства для управления высотой среза:
1 – режущий аппарат; 2 – полозковый шуп; 3 – пружина; 4 – предохранительное устройство; 5 – гидрозолотник; 6 – силовой гидроцилиндр
К поверхности поля щуп 2 прижимается пружиной 3. Если высота среза зеленой массы соответствует заданной, то окна а и б гидрозолотника 5 закрыты, а поршень силового гидроцилиндра 6 и режущий аппарат 1, жестко связанный с поршнем, находятся на постоянной высоте от поверхности поля. При изменении рельефа поля полозковый щуп 2 открывает окна а и б гидрозолотника 5 и при помощи силового гидроцилиндра 6 восстанавливается заданная высота режущего аппарата 1, после чего окна гидрозолотника закрываются, поскольку щуп возвращается в исходное положение. Предохранительное устройство 4 предотвращает поломки золотника при наезде полозкового щупа на препятствия.
3. САУ рабочими органами прореживателей сахарной свеклы предназначены для обработки (срезания) пропашных культур свеклоуборочными и другими комбайнами. Схема СУ секцией прореживателя типа ПСА на рисунке 6.

Рисунок 6 - Функционально-технологическая схема СУ секцией прореживателя типа ПСА: 1 – опорное колесо; 2 – поворотный гидродвигатель; 3 – прореживающий нож;
4 – листьеотгибатель; 5 – инукционная катушка; 6 – ферромагнитный шунт; 7 – электроконтактный датчик обнаружения растений; 8 – рама прореживающей секции; 9 – изолятор; 10 – золотниковый гидрораспределитель; 11 – электромагнитный привод золотника; 12 – датчик ориентации
Для обнаружения растений применяют электроконтактные и оптические (цветоконтрастные) датчики. При движении МСА вдоль рядков растений электроконтактный датчик 7, касаясь растения, замыкает через него электрическую цепь «источник питания — почва». Наличие силы тока определенного значения в цепи контактного электрода служит для электронных блоков системы ПСА сигналом обнаружения растения. Расстояние от датчика 7 обнаружения растения до поверхности почвы может варьировать от 20 до 90 мм. Оптический цветоконтрастный датчик формирует электрический сигнал при попадании растений свеклы в зону его обзора. Такой датчик обнаруживает растения свеклы как на фоне земли, так и на фоне распространенных сорняков.
Датчик положения ножа состоит из индукционной катушки, закрепленной на корпусе исполнительного механизма (ножа), и ферромагнитного шунта 6, установленного на держателе ножа 3, который может совершать маятниковые движения. При выходе ножа из одного крайнего положения шунт проскакивает мимо индукционной катушки, в цепи которой формируется импульсный сигнал, свидетельствующий об изменении положения прореживающего ножа. Команды на привод последнего формируются в блоке управления (БУ) на основании совместной обработки сигналов от датчиков обнаружения растений и положения ножа. При поступлении команды из БУ электромагнитный привод золотника перемещает шток золотникового гидрораспределителя 10, вследствие чего поворотный гидродвигатель 2 воздействует на прореживающий нож 3. При этом вырезаются растения в рядке по ширине захвата ножа, который, перемещаясь, пропалывает пространство за обнаруженным растением. При обнаружении следующего растения процесс повторяется. При смещении прореживающих секций от оси рядка датчик 12 ориентации секций формирует сигнал на монитор, при этом загорается соответствующий светодиод. Если оператор своевременно не откорректирует положение МСА относительно рядков, то включается звуковой сигнал.
Схема устройства САУ прореживателями сахарной свеклы – на рисунке 7.

Рисунок 7- Схема устройства САУ прореживателями сахарной свеклы
Электрические цепи датчиков обнаружения растений и положения ножей подключены к блоку входному (БВ) через электрические разъемы X6 и Х7, а электромагниты золотниковых гидрораспределителей (12 шт.) – к блоку управления исполнительными механизмами (БУ ИМ) через разъемы Х4 и Х5. Сигналы электроконтактных датчиков подаются в БВ на входы операционных усилителей, каждый из которых обеспечивает преобразование значения сопротивления электрической цели «щуп – земля» соответствующего датчика в напряжение. Оно сравнивается компараторами (элементами сравнения) с эталонными значениями напряжения, соответствующими верхнему и нижнему значениям сопротивления цепи «щуп – земля», при которых с высокой достоверностью идентифицируется касание щупом ростка свеклы. Микропроцессорный блок (МПБ) осуществляет обработку сигналов датчиков и выдачу результатов на монитор и БУ ИМ. Блок питания (БП) обеспечивает напряжениями соответствующих уровней все узлы устройства.
4. Автоматическое управление положением фрезы используют при обработке приствольных полос в садах, для отвода фрезы от стволов деревьев (кустов).

Рисунок 8 - Схема устройства для управления положением фрез:
1, 7 – фрезы; 2 – гидроцилиндр; 3 – гидрозолотник; 4 и 5 – контакты;
6 – пружина; 8 – шуп; 9, 10 – выключатели
Отвод фрезы 1 (рисунок 8) осуществляет гидроцилиндр 2 при соприкосновении щупа 8 с деревом или кустом. Щуп поворачивается по ходу часовой стрелки и замыкает контакты 5. В результате этого срабатывает электромагнит УА1, открывая окна а и б гидрозолотника, через которые масло под давлением поступает в верхнюю полость гидроцилиндра 2. Шток поршня поворачивает фрезу 7 до тех пор, пока не разомкнётся конечный выключатель 10 и замкнется выключатель 9. При этом электромагнит УА1 отключается, окна а и б гидрозолотника 3 закрываются поршнями под действием пружин, фиксируя фрезу в отведенном состоянии. После обхода фрезой препятствия щуп 8 под действием пружины 6 возвращается в исходное состояние и замыкает контакты 4, что приводит к срабатыванию электромагнита УА2 и открыванию окон а и б золотника. При этом масло поступает через окно б в нижнюю полость силового гидроцилиндра 2, а фреза занимает рабочее положение, при котором размыкается конечный выключатель 9 и окна гидрозолотника перекрываются его поршнями.
5. Автоматическое управление положением остова зерноуборочного комбайна при работе на склонах позволяет сохранять параллельность хедера комбайна относительно поверхности почвы, а также горизонтальность положения его молотильного барабана и очистительных устройств.
При работе комбайна без автоматики на поперечных склонах (с уклоном более 8°) технологическая масса скапливается на наклонной стороне комбайна, вследствие чего нарушается ТП обмолота зерна (увеличиваются до 30 % недомолот и повреждаемость зерна), а также нередки случаи забивания молотильных барабанов хлебной массой. Для выравнивания остова комбайна на склонах его корпус устанавливают на параллелограммной ходовой части 4 (рисунок 9), которую оборудуют гидросистемой управления.

Рисунок 9 - Схема устройства для выравнивания остова комбайна:
1 – корпус комбайна; 2 – демпфирующее устройство; 3 – маятник;
4 – ходовая часть; 5 – золотник
При наклоне корпуса 1 комбайна, например влево, его массивный маятник 3 также отклоняется влево и открывает окна а и б золотника 5. Масло от насоса под давлением поступает через окно а в верхнюю полость силового гидроцилиндра. При этом его поршень и шток, жестко связанный с параллелограммной ходовой частью 4 комбайна, поворачивает его остов до горизонтального положения, при котором поршни гидрозолотника под действием вертикального маятника перекрывают окна гидрозолотника и фиксируют положение силового гидроцилиндpa. Демпфирующие устройства 2 исключают ложные срабатывания САУ при кратковременных толчках и отклонениях остова комбайна от горизонтального положения.
3.2 САУ РЕЖИМАМИ РАБОТЫ МСА позволяют оптимизировать технологические, энергетические и эксплуатационные параметры функционирования МСА. В частности:
1. Автоматическое управление загрузкой рабочих органов уборочных комбайнов способствует повышению качества и эффективности ТП, уменьшению потерь технологического продукта и расхода топлива, а также улучшению условий труда операторов. Такое управление (рис. 10) осуществляют автоматическим регулированием скорости (в зависимости от загрузки рабочих органов машин) поступательного движения комбайнов (зерно-, свекло-, картофелеуборочных), посредством изменения передаточного отношения трансмиссии (гидрообъемной, вариаторной) 2, передающей вращающий момент от вала двигателя (гидравлического, дизельного) 1 комбайна на привод ведущих колес 3.

Рисунок 10 - Схема устройства для управления загрузкой комбайна:
1 – вал двигателя; 2 – трансмиссия; 3 – ведущие колеса; 4 – входной рабочий орган;
5 – контакты; 6 – гидрозолотник; 7 – силовой гидроцилиндр; УА1, УЛ2 – электромагниты
Например, при увеличении (относительно заданного) количества технологической массы (хлебной, корнеклубнеплодной), поступающей на входные рабочие органы 4 комбайна, полозковый датчик толщины слоя такой массы замыкает свои контакты 5 и включает электромагнит УА1, сердечник которого, перемещая вверх шток с поршнем гидрозолотника 6, открывает его окна для подачи в силовой гидроцилиндр и слива из него масла. При этом масло от насоса под давлением через верхнее окно поступает в верхнюю полость силового гидроцилиндра 7, поршень которого вместе со штоком передвигается вниз. В результате чего увеличивается передаточное отношение трансмиссии и комбайн снижает скорость движения, что вызывает уменьшение (до оптимальной) подачи технологической массы в уборочный комбайн. Соответствующее изменение положения щупа вызовет размыкание контактов 5 датчика толщины слоя, после чего поршни гидрозолотника 6 под действием пружин перекроют его окна. При уменьшении (относительно заданного) количества технологической массы, поступающей на входные рабочие органы комбайна, принцип работы СУ идентичен. При этом выключается электромагнит УА2, масло от насоса через нижнее окно гидрозолотника поступает в нижнюю полость гидроцилиндра 7, уменьшается передаточное отношение трансмиссии и комбайн увеличивает скорость движения, что вызывает увеличение (до оптимальной) подачи технологической массы в комбайн.
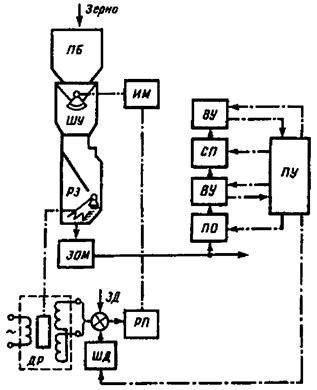
2. Автоматическое управление загрузкой и чистотой зерновой массы в потоке осуществляется путем предварительного и окончательного сепарирования на воздушно-решетной зерноочистительной машине (ЗОМ) (рисунок 11).

Рисунок 11 - Функциональная (а) и параметрическая (б) схемы ВР ЗОМ:
ПБ – приемный бункер; ШУ – шиберное устройство; GBX и GВЫХ – масса зерна на
входе и на выходе; ψвх и ψвых – чистота зерна на входе и на выходе; П – потери зерна
Зерновая масса из бункера с помощью питателя подается в воздушный канал первой аспирации (отсасывания воздуха), где легкие примеси воздушным потоком отделяются и выводятся из зоны машины. Затем зерновая масса поступает на решетный сепаратор, состоящий из четырех колеблющихся решет, которые расположены наклонно и попарно одно над другим. Верхние (сортировальные) решета просеивают зерна основной культуры, а крупные примеси скатываются и удаляются из ЗОМ. Нижние (подсевные) решета выделяют из потока мелкие примеси, также потом удаляемые из ЗОМ, а зерна основной культуры, скатываясь, проходят через воздушный канал второй аспирации, освобождаются от оставшихся мелких примесей и очищенные покидают машину.
Выходные параметры ЗОМ характеризуются производительностью GВЫХ, чистотой ψвых и содержанием потерь П полноценного зерна в отходах. При этом основными управляющими воздействиями, поступающими на ЗОМ как объект управления, будут изменение подачи GВХ зерна и скорости vВХ движения воздуха в аспирационных каналах. К числу возмущений, действующих на ЗОМ, следует отнести влажность w вх и чистоту входа ψвх поступающей зерновой массы.
Целевая функция системы оптимального управления воздушно-решетной ЗОМ соответствует максимуму GВЫХ (в зависимости от текущих значений GВЫХ, ψвых, ψвх, w вх, П и времени t при ограничении на допустимые уровни чистоты ψвх и потерь П зерна.
Контролировать потери зерна можно с помощью индикатора, выполненного в виде пьезоэлемента, наклеенного на изолированную специальную мембрану. При попадании зерен на мембрану пьезоэлемент вырабатывает электрические сигналы, амплитуда и длительность которых зависят от силы удара отдельных зерен. Индикатор имеет выходы на визуальный прибор, а также на световую и звуковую сигнализации.
Загрузка воздушно-решетной ЗОМ вторичной очистки может быть стабилизирована работой САУ, исполнительный механизм (ИМ) которой воздействует на шиберное устройство (ШУ) промежуточного бункера (ПБ) зерна. Загрузку ЗОМ измеряют расходомером РЗ зерновой массы (рисунок 12), лоток которого перемещает плунжер дифференциального трансформаторного датчика расхода (ДР).

Рисунок 12 - Функциональная схема регулирования загрузки и чистоты продукта
Принцип действия САУ чистотой зерновой массы следующий. Обрабатываемое зерно поступает в ЗОМ из ПБ через ШУ и РЗ. САУ стабилизирует загрузку машины зерновой массой на уровне, установленном задатчиком (ЗД). Периодически, через определенные промежутки времени, программное устройство (ПУ) включает анализатор чистоты зерна, содержащий пробоотборник (ПО), весоизмерительное устройство (ВУ) и сепаратор (СП). ПО отбирает из зернового потока (на выходе из машины) пробу, после чего она поступает на ВУ. При достижении фактической массы пробы, равной заданной, включается в работу СП. При этом чистое зерно взвешивается ВУ и результат сравнивается с заданным значением, соответствующим кондиционному зерну. Если масса пробы ниже (выше) заданной, то загрузка машины соответственно увеличивается (уменьшается) путем коррекции ЗД требуемого уровня задания САУ ЗОМ. Описанный алгоритм коррекции оптимальной загрузки периодически повторяется по командам ПУ.
3. Автоматическое управление направлением движения МСА позволяет повысить эффективность и качество выполнения ТП, улучшить условия работы оператора.
Устройства для автоматического направления движения (вождения) тракторов разрабатывают с момента их создания. В России в 1911 г. впервые О. Конджером и В. Корбеттой был предложен «автоматически действующий руль для пахотных тракторов».
Работа МСА включает три основных этапа: выезд в поле и возвращение в хозяйство, движение по рабочей длине гона (поля), повороты в конце гона. Наибольшие затраты времени и объем выполняемых работ определяются нахождением МСА на поле (гоне), поэтому рассмотрим основные методы управления направлением МСА по рабочей длине гона. К таким методам можно отнести: копирование, программное вождение, дистанционное управление, естественное и искусственное ориентирование.
Метод копирования может быть использован в большинстве видов полевых работ: вспашке, посеве, культивации, уборке. Действие системы автовождения по копиру показано на рисунке 13.

Рисунок 13 - Схема устройства для вождения МСА по копиру:
1 – гидрозолотник; 2 – поршень; 3 – контакты; 4 – копир; 5 – пружина; 6 – рычаг
Копир 4 при движении МСА скользит по дну борозды. Если копир отклоняется, например влево, то замыкается левый контакт 3 и срабатывает электромагнит УА1, питание на который подается от аккумуляторной батареи МСА. При этом рычаг 6 передвигает поршни 2 гидрозолотника 7 тоже влево и открываются его окна а и б. Масло под давлением, создаваемым гидравлическим насосом, поступает через окно а к левому силовому гидроцилиндру, шток которого воздействует на левую рулевую тягу. Вследствие этого трактор (комбайн) начинает поворачиваться влево до размыкания контактов 3, при этом электромагнит УА1 отключается и пружиной 5 поршни 2 гидрозолотника 1 возвращаются в исходное положение. При отклонении же копира вправо срабатывает электромагнит УА2, который открывает окна а и б гидрозолотника, и масло через окно б под давлением поступает на правый силовой гидроцилиндр, шток которого воздействует на правую рулевую тягу, и МСА поворачивается вправо до размыкания контактов 3, при этом электромагнит УА2 отключается и пружиной 5 поршни 2 гидрозолотника 1 возвращаются в исходное положение.
При программном автовождении траектория движения задается специальным программным устройством, при этом необходимо иметь высокую точность соблюдения траектории движения, что предопределяет сложность создания соответствующих технических средств. На практике целесообразно использование программного вождения совместно принципом копирования (по длине гона управляют от копирующего устройства, а на поворотах — от программного).
При дистанционном управлении оператор управляет одним или несколькими МСА по проводным или беспроводным (радиоканалу) линиям связи.
Методы, использующие естественные и искусственные ориентиры, наиболее эффективны при строго заданных маршрутах движения. В качестве естественных ориентиров используют рядки растений, края хлебостоя, валки скощенной массы, борозды картофеля, шпалерную проволоку на виноградниках, магнитное поле Земли. Для искусственных ориентиров специально на полях прокладывают электрические провода, кабели, организуют лазерные лучи, делают метки из удобрений и т. п. На практике нашел применение метод вождения по электромагнитному полю, создаваемому проводами (искусственно проложенными под верхним слоем почвы), по которым пропускают высокочастотные токи (рисунок 14). Последние вокруг провода создают электромагнитное поле, воспринимаемое специальными датчиками, установленными на МСА. Провода закладывают на глубину до 0,7 м вдоль гона, на концах которого прокладывают поперек отдельный провод, излучающий электромагнитное поле другой (относительно первой) частоты, который служит ориентиром для разворота МСА.

Рисунок 14 - Схема устройства для автоматического вождения трактора по проволоке:
1 – проволока; 2 – датчик; 3 – гидравлический золотник; 4 – пружины.
Устройство поддерживает определенное расстояние датчика 2 от проволоки 1. При изменении этого расстояния сигнал отдатчика в зависимости от знака отклонения поступает через усилитель У на электромагниты УЛ1 или УЛ2 гидравлического золотника 3. Золотник управляет силовыми гидроцилиндрами рулевых тяг (фиксаторов) трактора (комбайна).
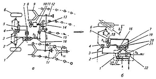
3.3 САУ НАПРАВЛЕНИЕМ ДВИЖЕНИЯ КОРМОУБОРОЧНОЙ МАШИНЫ обеспечивает ориентацию кормоуборочной машины в процессе ее движения на рабочем гоне таким образом, что выкапывающие рабочие органы располагаются вдоль рядков убираемых корней. Это является необходимым условием надежного извлечения корней из почвы. Без управления направлением движения машина будет по разным причинам отклоняться от линии рядков и нормальный уборочный процесс невозможен. Технологическая и конструктивная схемы СУ приведены на рисунке 15.

Рисунок 15 – Схемы СА вождения самоходной корнеуборочной машины:
а — принципиальная; б — исполнительною механизма
Органом управления направлением движения машины являются передние управляемые колеса 6, положение которых, соответствующее прямолинейному движению машины, считается средним. По отношению к этому положению определяется реальный угол поворота управляемых колес δ, изменение положения которых осуществляется с помощью гидравлического исполнительного механизма 5. Отклонение машины от линии рядков корней определяется датчиком системы управления.
Датчик системы автоматического вождения состоит из копирующего механизма, выполненного в виде двух (располагающихся в междурядьях) связанных между собой балансирной тягой 14 перьев-копиров 9. Размах каждого пера равен ширине междурядья. Шарниры 17 являются базой ориентации. Изменение их положения относительно центра междурядья приводит к повороту стрел-копиров 12 и соответствующему поперечному перемещению балансирной тяги 14, которое с помощью рычажного механизма 13, 15 преобразуется в пропорциональное смещение машины от линии рядков перемещением hд штанги 16.
При искривлении линии рядков, например вправо (по ходу движения), перья копирующего механизма поворачиваются относительно базы ориентации против часовой стрелки (на рисунке 15 показано штриховыми линиями). Это вызывает поворот рычага 15 по часовой стрелке. При отсутствии воздействия на рулевое колесо 8 с усилителем 10 со стороны оператора штанга 11 неподвижна. Поэтому поворот рычага 15 ведет к повороту дифференциального рычага 13 относительно шарнира 01 и перемещению влево штанги 16. Рычажные механизмы 15, 13 выполняют функции передающего преобразователя датчика.
Гидравлический исполнительный механизм системы управления состоит из золотникового гидрораспределителя 1 с блоком 7 гидрозамковых клапанов и гидроцилиндра 5 (рисунок 15, б). Выходным воздействием исполнительного механизма является перемещение гидроцилиндра hц или пропорциональный ему угол δ поворота управляемых колес. Гидрораспределитель 1 имеет подвижные относительно друг друга корпус 22 и золотник 21. Золотник соединен со штангой 16 датчика, и перемещение золотника вдоль корпуса распределителя при неподвижном гидроцилиндре равно перемещению штанги датчика.
При смещении золотника 21 относительно среднего положения рабочих окон (например, под воздействием датчика) влево рабочие окна открываются справа и происходит соединение левого выходного канала гидрораспределителя с напорной магистралью, а правого канала – со сливной. Плунжер 19 гидрозамков под односторонним действием давления слева перемещается вправо, открывая первый шариковый клапан 20 и подключая тем самым штоковую полость Б гидроцилиндра 5 к соединенному со сливом правому выходному каналу гидрораспределителя. Одновременно под действием напора открывается левый шариковый клапан гидрозамка, соединяя бесштоковую полость А гидроцилиндра с левым его выходным каналом. При этом масло поступает из напорной магистрали в бесштоковую полость а гидроцилиндра, а из штоковой полости Б – на слив (в бак гидросистемы). Под действием перепада давлений гидроцилиндр со штоком 18 перемещается в сторону полости А, поворачивая рычаг рулевых трапеций 4 и соответственно управляемые колеса 6 по часовой стрелке.
Рычажные механизмы 2, 3, связывающие гидроцилиндр и его корпус, выполняют функцию обратной связи. Перемещение корпуса гидроцилиндра под действием обратной связи происходит пропорционально перемещению гидроцилиндра. Текущее открытие рабочих окон гидрораспределителя в результате действия обратной связи равно разности ∆h перемещений золотника и корпуса. Таким образом, при смещении базы ориентации машины от линии рядков растений система автоматического вождения поворачивает управляемые колеса на угол, пропорциональный этому смещению.
ЛЕКЦИЯ 8-2 4. МИКРОПРОЦЕССОРНЫЕ СУ РАБОТОЙ МСА
4.1 САР нормы внесения жидких компонентов. Полевые прицепные и самоходные опрыскиватели (подкормщики) оснащают устройствами автоматики, которые обеспечивают регулирование количества жидких компонентов (удобрений, химических препаратов), вносимых на единицу обрабатываемой площади (рисунок 1)

Рисунок 1 - Функционально-технологическая схема САУ расходом жидкости:
1 - распыливающая штанга; 2- дросселирующее устройство; 3 – измерительный преобразователь; 4 – контроллер; 5 – исполнительный механизм; 6 – электродвигатель; 7 – дроссель; 8 – распределитель; 9 – бак; 10 – обрезиненный ролик; 11 – флажковый модулятор; 12 – постоянный магнит; 13 – индукционная катушка; 14 – датчик; 15 – ходовое колесо
На основании сигналов измерительного преобразователя 3 расхода жидкости, поступающей к распыливающей штанге, и сигналов от датчика (измерительного преобразователя пройденного агрегатом пути) 14 контроллер 4 вычисляет удельный расход жидкости на единицу обработанной площади (л/м2). Если этот расход отличается от заданного, то контроллер формирует импульсный командный сигнал на приводимый электродвигателем 6 исполнительный механизм (ИМ) 5, который за счет изменения проходного сечения дросселя 7 увеличивает или уменьшает расход жидкости, возвращаемой в бак 9, а следовательно, уменьшает или увеличивает расход жидкости, направляемой к сопловым аппаратам распыливающей штанги 1. Длительность командного импульса пропорциональна величине отклонения текущего значения удельного расхода от его заданного значения.
Измерительный преобразователь (датчик) расхода жидкости 3 – манометрический с частотным электрическим выходным сигналом. Принцип измерения основан на известной зависимости перепада давления на калиброванном дросселирующем устройстве 2 от расхода через него жидкости.
Датчик расхода выполнен на базе манометра, мембранный чувствительный элемент которого механически связан с одной из пластин конденсатора переменной емкости, включенного в задающую цепь генератора электрических сигналов. При изменении расхода меняется положение мембраны и, следовательно, емкость переменного конденсатора, что ведет к изменению частоты сигнала, генерируемого датчиком. С целью уменьшения влияния пульсаций давления на работу датчика и исключения контакта с агрессивной рабочей жидкостью измерительная камера датчика соединена с рабочей гидравлической магистралью через масляный демпфер.
Датчик 14 пути перемещения МСА формирует сигнал в виде единичного электрического импульса после прохождения агрегатом заданного отрезка пути. Поэтому число импульсов, поступивших с датчика за заданный промежуток времени, равно числу этих отрезков пути, на которые переместился МСА. Временной интервал t между импульсами пропорционален скорости движения. Такой датчик состоит из индукционного преобразователя, выполненного в виде постоянного магнита 12 с намотанной на него индукционной катушкой 13, и флажкового модулятора 11 поля постоянного магнита. Модулятор закреплен на валу, который приводится во вращение от обрезиненного ролика 10, находящегося во фрикционном сцеплении с ходовым колесом 15 агрегата. При каждом обороте ролика, что соответствует прохождению агрегатом пути l 0 или обработанной площади F0 = l 0B (В – ширина захвата агрегата, м), флажок один раз пересекает активную зону индукционного преобразователя и на выходе датчика появляется один импульс. Конструкция индукционного преобразователя датчика пути перемещения МСА аналогична конструкции датчика частоты вращения вала.
Вычисление удельного расхода жидкости основано на подсчете числа его импульсов за время обработки участка поля площадью F0. При рабочем диапазоне изменения давлений (0,02...0,06 MПa) жидкости на входе в распыливающую штангу и скорости движения агрегата 5...12 км/ч САУ РЖ обеспечивают точность поддержания заданной нормы внесения жидкости с погрешностью ±5 %. Диапазон регулирования дозы внесения жидких компонентов для различных систем САУ РЖ составляет 20...2000 л/га, а шаг изменения настройки – 1 л/га.
Система САУ РЖ включает перепрограммируемый микропроцессорный контроллер, функциональная схема которого показана на рисунке 2.

Рисунок 2 - Функциональная схема микропроцессорного контроллера САУ РЖ:
Т – программируемый таймер; ПЗУ – постоянное запоминающее устройство;
МП – микропроцессор; БП – блок питания
В его состав входят таймер программируемый Т, микропроцессор (МП), постоянное запоминающее устройство (ПЗУ), панель индикации, контроллер и поле клавиатуры, блок питания (БП). Последний обеспечивает формирование необходимых для работы датчиков и всех электронных компонентов системы значений стабилизированных напряжений. Энергопитание БП осуществляется от бортовой сети МСА, в которой допускаются колебания напряжения –30...+100% номинального (12 В). Микропроцессорный контроллер обеспечивает работу САУ РЖ-2 в трех режимах: программирование, работа и диагностика.
В режиме программирования оператор с помощью клавиатуры может вводить технологические параметры агрегата (тип и число распылителей и др.) и задавать требуемую норму внесения. Вводимые данные и задание визуализируются на панели цифровой индикации, при этом автоматически проверяется выполнение стабилизации заданной нормы внесения. Если в пределах допустимых изменений скоростей перемещения агрегата норму обеспечить нельзя, то на индикаторе высвечивается сообщение об ошибке.
В режиме работы контроллер в процессе работы агрегата поддерживает заданную норму внесения за счет изменения расхода жидкости через сопловые аппараты пропорционально скорости движения. Кроме того, вычисляется ряд параметров, характеризующих фактическое протекание технологического процесса (текущее значение нормы внесения, рабочее давление распыла, скорость движения агрегата, размер обработанной площади). О диагностике сл.пункт (2).
4.2 Микропроцессорная CАК и автоматического регулирования (САКАР) предназначена в основном для корнеуборочных и кукурузоуборочных самоходных машин с гидростатической трансмиссией, а также и для других сложных уборочных МСА. САКАР обеспечивает выполнение функций систем автоматического контроля вождения, а также автоматического управления загрузкой рабочих органов самоходных МСА путем соответствующих изменений их поступательной скорости. САКАР позволяет выполнять и рад дополнительных функций управления – обеспечение диалогового режима с оператором и др. При возникновении аварийных ситуаций с рабочими органами, перегрузках дизельного или гидравлического двигателей, падении давления масла в смазочной и других системах двигателя МСА ниже допустимого уровня САКАР автоматически останавливает МСА.
В системе САКАР (например, применительно к машине для уборки сахарной свеклы) программируемый микроконтроллер содержит одноплатную микроЭВМ. Ее адаптеры внешнего интерфейса обеспечивают 64 канала связи с внешними устройствами. МикроЭВМ имеет кварцевый генератор тактовых сигналов и программируемый таймер для синтеза необходимых системе управления временных интервалов наблюдения. Плата ввода-вывода имеет четырех канальный и восьмиразрядный АЦП, а также одноканальный шестиразрядный ЦАП, четыре канала ввода двухпозиционных сигналов от электромагнитных датчиков. САКАР осуществляет ввод, формирование и усиление импульсных сигналов от 13 индукционных датчиков частоты вращения. Десять из них формируют сигналы о частоте вращения валов основных рабочих органов, остальные — о частоте вращения ходового колеса, ведомого вала клиноременной передачи, коленчатого вала двигателя.
Панель управления и индикации с соответствующими схемами формирования сигналов содержит клавиатуру и ЖК-дисплей, на котором могут инициализироваться сообщения в цифровой форме и в виде указательных надписей, пиктограмм рабочих органов (в соответствии с символами, расположенными на кнопках клавиатуры). Микроконтроллер может реализовать различные программы по командам, вводимым с клавиатуры.
Так, команда «Тест» запускает программу диагностики состояния рабочих органов и двигателя, при этом может осуществляться цифровая индикация состояния их кинематического режима. Частоты вращения рабочих органов, измеренные в режиме холостого хода, контроллер запоминает. В дальнейшем по этим значениям с учетом реальной частоты вращения вала двигателя контроллер формирует сигналы о нарушениях в работе фрикционных передач, количестве загрузки, состояниях режимов рабочих органов и др. Команды «Пуск» и «Стоп» соответственно пускают и приостанавливают программу контроля рабочих органов и двигателя при выполнении ТП. Команда «CAB» запускает программу коррекции системы автоматического вождения.
Команда «АРЗ» (автоматическое регулирование загрузки) запускает программу формирования сигнала уровня загрузки уборочной машины. Он формируется контроллером на основании информации о частотах вращения вала двигателя и отдельных рабочих органов. Этот сигнал передается в электронный блок и далее на управление пропорциональным электрогидравлическим сервомеханизмом, который изменяет скорость поступательного движения МСА при отклонении значения сигнала загрузки от заданного. Т.о. осуществляется стабилизация технологической загрузки МСА.
4.3 Бортовая автоматизированная СУ технологическими, энергетическими и эксплуатационными режимами работы МСА предназначена для получения, обработки, хранения и выдачи оператору информации о технологических, энергетических и эксплуатационных режимах работы МСА, о действиях, которые рекомендуется выполнить оператору для обеспечения наиболее эффективной работы мобильного агрегата, а также об отклонениях от нормальной работы технологических и энергетических режимов МСА. Бортовая автоматизированная система (БАС) позволяет в целом повысить технический и экологический уровни МСА за счет контроля и учета их основных показателей работы, снижения расхода топлива, улучшения условий труда операторов, увеличения срока службы двигателя и МСА в целом, снижения вредного воздействия МСА на окружающую среду, растительность, человека, а также существенного повышения производительности работы МСА.
БАС включает:
1. Комплект датчиков: нагрузки двигателя, действительной
скорости поступательного движения МСА, частоты вращения колес трактора (теоретической скорости поступательного движения МСА), вращения коленчатого вала двигателя, вращения ВОМ, вращения узлов прицепной машины (орудия), номера включенной передачи, температуры охлаждающей жидкости двигателя, температуры масла двигателя, давления масла в двигателе, давления масла в гидросистеме МСА, уровня топлива в баке, заряда аккумуляторной батареи.
Исходя из требований безопасности и своевременной остановки МСА в критических ситуациях информационные параметры, приведенные ниже, следует считать аварийными: температура охлаждающей жидкости, давление масла в двигателе, температура масла двигателя, давление в гидравлической системе, частота вращения ВОМ, рабочих органов, заряд аккумуляторной батареи.
Отдельные датчики БАС м.б. штатными для трактора (комбайна).
2. Блок хранения, обработки и выдачи информации.
3. Блок стабилизированного напряжения.
Структура БАС приведена на рисунке 3, а. Она включает следующие основные узлы: микроЭВМ с центральным процессором, блоки управления, визуальной и звуковой индикации, сопряжения с выходами измерительных преобразователей, устройство ввода, запоминающие устройства оперативное (ОЗУ) и постоянное (ПЗУ), блок стабилизированного напряжения.

Рисунок 3, а – Структура БАС
МикроЭВМ с центральным процессором и ОЗУ — основной базовый узел, осуществляющий управление и синхронизацию работы всех узлов БАС. Связь микроЭВМ с другими блоками организована с помощью 8-разрядных шин данных и управления, а также 12-разрядной адресной шины. МикроЭВМ представляет собой функционально-законченное устройство, содержащее на одном кристалле центральный процессор, ОЗУ данных, многоканальный интерфейс ввода-вывода, 8-разрядный таймер-счетчик, схему прерываний, тактовый генератор, устройство синхронизации.
Блок управления предназначен для выбора вводимой для БАС и выводимой на световой индикатор (монитор) информации, коррекции работы таймера (часов), задает различные режимы работы БАС.
Блок визуальной и звуковой индикации позволяет представлять контролируемые БАС информационные параметры работы МСА в цифровом (например, скорость МСА, расход топлива, время, температуру, давление и др.) или аналоговом (тахометр, уровень топлива в баке, нагрузка двигателя, уровень заряда аккумуляторной батареи и др.) виде. Такой блок индикации позволяет также инициализировать контролируемый параметр с помощью светодиодных указателей различных пиктограмм, например аварии в какой-либо системе МСА (путем зажигания надписи «Стоп»). Звуковая индикация формирует прерывистые сигналы в случае появления аварийных режимов работы каких-либо систем (узлов) МСА.
Блок сопряжения с выходами датчиков обрабатывает аналоговые и цифровые сигналы датчиков в удобные для восприятия БАС. Такие устройства включают аналого-цифровую систему сбора данных (АЦС), усилители-ограничители, схему устранения дребезга контактов, делители напряжения.
Устройство ввода предназначено для ввода цифровой информации в микроЭВМ. Основу устройства составляет программируемый параллельный интерфейс.
ОЗУ предназначено для временного хранения информации, данных или промежуточных результатов вычислений.
ПЗУ предназначено для хранения и вывода 8-разрядного кода данных из ячеек памяти в соответствии с 12-разрядным кодом адреса и управляющими сигналами, поступающими с микроЭВМ. Программы хранятся в ПЗУ независимо от подачи на него напряжения питания.
Блок стабилизированного напряжения преобразует напряжение аккумуляторной батареи в стабилизированное напряжение +5В, необходимое для питания всех интегральных микросхем БАС.
Виды используемых в БАС датчиков различных информационных, энергетических, технологических и эксплуатационных параметров МСА приведены на развернутой структурной схеме, показанной на рисунке 3, б.

Рисунок 3, б - Структура БАС
В качестве измерительных преобразователей используют следующие датчики: УТ – уровня топлива в баке, ДД – давления масла в двигателе, ДП – давления в пневматической системе, ТД – температуры в двигателе, ТОЖ – температуры охлаждающей жидкости в двигателе,ТТ-температуры масла в трансмиссии МСА, ЗАБ – напряжения аккумуляторной батареи, СД – скорости поступательного движения МСА, ЧВД – частоты вращения коленчатого вала двигателя, ЧВК – частоты вращения колес (трактора или комбайна), ЧВВ – частоты вращения ВОМ, ЧВР – частоты вращения рабочих органов, НД – нагрузки двигателя.
Обрабатывают сигналы всех датчиков в микроЭВМ. В системе используют микроЭВМ с одно полярным источником питания (+5В). При выходе какого-либо параметра МСА за допустимые пределы на индикаторе загорается надпись «Стоп» и подается прерывистый звуковой сигнал. В новой системе возможны выдача на информационное табло рекомендаций — советов (выбор конкретного номера передачи, увеличение или уменьшение подачи топлива, изменение скорости движения МСА и др.), прогнозируемых значений отдельных информационных параметров.
Основными блоками БАС являются микроЭВМ и аналого-цифровая система (АЦС). С учетом технических требований, предъявляемых к БАС, простоты и надежности аппаратных средств, а также минимизации их стоимости в качестве микроЭВМ выбран однокристальный микропроцессор. Существенные преимущества последнего: дешевизна, однополярность питающего напряжения, совместимость входных и выходных сигналов с современными микросхемами. Применение АЦС вместо традиционных АЦП значительно повышает технические и эксплуатационные характеристики БАС. Основными преимуществами такой АЦС являются: организация связи с микропроцессорными устройствами по принципу прямого доступа к памяти, реализация алгоритма последовательной обработки аналоговых сигналов по всем (восьми) независимым входам, возможность функционирования с одним (по полярности) источником питания, низкая мощность потребления, монотонность и стабильность передаточной характеристики.
В функциональный состав АЦС сбора данных входят (рис. 3, б): аналоговый мультиплексор; АЦП; ОЗУ с организацией памяти 8x8; схема фиксации адреса и выбора канала; буферный регистр с тремя уровнями логических состояний.
Аналоговый мультиплексор выполняет последовательное переключение всех (восьми) аналоговых каналов, по каждому из которых статическое ОЗУ (емкостью 8x8 бит) сохраняет результаты преобразования по каждому из аналоговых каналов. Схема фиксации адреса и выбора канала обеспечивает последовательный опрос каналов АЦС, фиксацию адреса, запись в ОЗУ по сигналу WR и считывание по сигналу RD. Буферный регистр осуществляет согласование уровней сигналов с разрядной шиной данных. Схема работает в однополярном режиме для входных напряжений положительной полярности с амплитудами от 0 до 2,5 В.
После включения питания БАС выполняет самотестирование, после чего переходит в режим информирования с отображением на панели контролируемых параметров МСА. В процессе работы оператор может вызвать на дисплей показания и значения любого из контролируемых параметров технологического или энергетического режимов работы МСА. БАС одновременно информирует оператора о выходе отдельных параметров (например, скорости движения МСА, его буксования и др.) за пороговые значения.
При движении МСА импульсы, пропорциональные его скорости движения, поступают в процессор. В последнем вычисляются соответствующие параметры: истинная скорость, значение буксования, пройденный MCA путь, размер обработанной площади и др. Оператор может значение любого параметра вызвать на дисплей нажатием соответствующей клавиши на панели управления. Истинная скорость непрерывно сравнивается с заданными допустимыми ее значениями. При выходе значения скорости за допустимые пределы включается визуальная и звуковая сигнализация, продолжающаяся до того момента времени, пока значение скорости не войдет в заданный диапазон. Аналогично контролируется величина буксования.
Принцип действия датчика нагрузки дизельного двигателя основан на известном положении, что в моменты касания ограничителем подачи топлива его упора мощность, развиваемая двигателем, будет максимальной, а режим его работы по топливной экономичности — близким к оптимальному. Регистрация датчиком соответствующего положения ограничителя с учетом тенденций изменения частоты вращения вала двигателя позволяет прогнозировать нагрузку последнего. Кроме того, такой измеритель нагрузки дает возможность в полевых условиях контролировать реальную рабочую характеристику двигателя, что достигается непрерывной регистрацией (в нагрузочной характеристике двигателя) точки перехода корректорной ветви на регуляторную.
Измерение скорости поступательного движения МСА (трактора, комбайна, машины) позволяет: контролировать его действительную (в отличие от теоретической) скорость движения; измерять буксование движителей энергетического средства; оперативно определять обработанную площадь или пробег. Действительную скорость МСА измеряют с помощью радарных датчиков, работающих на основе доплеровского эффекта. Использование доплеровского эффекта осуществляется излучением электромагнитных или акустических колебаний на опорную поверхность (на почву, дорогу) под определенным углом а и приеме отраженных от этой поверхности колебаний. Излучатель и приемник устанавливают на МСА. При движении излучателя отраженный от земли сигнал, принятый приемником, будет иметь частоту Доплера f Д, отличающуюся от излученной на f Д = (2vтp / λ) cosα, где vтp = f Дλ / 2 cosα – действительная скорость МСА; х – длина волны излучаемых колебаний; α – угол наклона оси излучателя к поверхности.
Действительную скорость движения МСА вычисляет микропроцессор, в программу которого заложено приведенное выше выражение. Для определения буксования движителей кроме значения действительной скорости необходимо знать теоретическую скорость vT движения MCA. Ее находят по частоте вращения или угловой скорости любого вала трансмиссии, соответствующему передаточному числу и радиусу ведущего колеса. Вычисленную по этим данным теоретическую скорость бортовой компьютер сопоставляет с действительной скоростью энергетического средства по известной формуле. Если результаты расчета бортового микропроцессора вывести на панель приборов, то в процессе работы можно контролировать текущее значение действительной скорости и коэффициент буксования движителей энергетического средства: δ = (vT – vTР) / vT.
Зная действительную скорость и ширину захвата агрегатируемого с трактором орудия, можно контролировать текущую производительность МСА.
В БАС датчик действительной скорости МСА реализует также принцип радиолокационного измерения. Он включает СВЧ приемо-передающий блок интегрального исполнения и антенну с фазированной решеткой. Приемо-передающий блок содержит транзисторные генератор и смеситель. Излучаемый сигнал имеет частоту 12 ГГц. Ширина диаграммы направленности антенны составляет около 10°. На выходе датчика формируется сигнал, пропорциональный частоте Доплера. Для снижения негативного воздействия вибраций и колебаний (продольных и поперечных) трактора на датчик действительной скорости последний устанавливают вблизи центра масс на корпусе, задней полураме или на раме двигателя (соответственно для тракторов К-701, Т-150К, МТЗ-82). Высота установки такого ИП колеблется от 500 до 1100 мм от поверхности земли. Диаграмма направленности ИП скорости должна быть сконцентрирована в колее трактора.
ИП теоретической скорости (стандартный индукционного типа с импульсным выходом) установлен на ведущем мосту трактора (для трактора К-701 можно использовать штатный ИП оборотов спидометра) и измеряет частоту вращения его ведущих колес. В БАС с учетом радиуса и частоты вращения ведущего колеса осуществляется расчет теоретической скорости МСА.
Контрольные вопросы и задания
1. Изложите особенности реальной работы МСА.
2. Объясните назначение систем автоматического контроля и управления режимами работы МСА.
3. Объясните принцип работы САК посевных агрегатов.
4. В чем заключается принцип работы САК уборочных машин?
5. Каков принцип работы САУ положением рабочих органов МСА?
6. Расскажите о работе САУ загрузкой уборочных комбайнов.
7. Как САУ управляет движением МСА?
8. Расскажите, как работает функциональная схема микропроцессорной системы управления МСА.