Пример 1. Заряды q1= 3нКл и q2= -5 нКл находятся на расстоянии r = 6см друг от друга. Определить напряженность Е и потенциал φ в точке, находящейся на расстоянии a = 3 см от первого заряда и d = 4 см от второго заряда. Какой силой потребуется удержать в этой точке заряд q 3 = 1нКл?
Решение. Согласно принципу суперпозиции электрических полей, каждый заряд создает поле независимо от присутствия в пространстве других зарядов. Поэтому напряженность
электрического поля в искомой точке может быть найдена как геометрическая сумма напряженностей
и
полей, создаваемых каждым зарядом в отдельности:
.
Напряженность электрического поля, создаваемого в воздухе (ε = 1) зарядом q1, равна

зарядом q2 -

Рис. 1.1 |
Вектор
направлен по силовой линии от заряда, так как заряд q1 положителен; вектор
направлен также по силовой линии, но к заряду q2, так как заряд q2 отрицателен.
Абсолютное значение вектора Е найдтся по теореме косинусов:
,
где α - угол между векторами
и
, который может быть найден из треугольника со сторонами r, a, d:

В данном случае во избежание громоздких записей удобно значение cos α вычислить отдельно:
≈ 046
Подставляя выражения
и
в
и вынося общий множитель
за знак корня, можно получить:

Силу F, которая потребуется, чтобы удержать заряд в точке В, находят по формуле

Потенциал j результирующего поля, создаваемого двумя зарядами q1 и q2, равен алгебраической сумме потенциалов, т.е.

Потенциал электрического поля, создаваемого в вакууме точечным зарядом q на расстоянии r от него, выражается формулой

В данном случае
выразится как:

Ответ: 
Пример 2. Пластины плоского конденсатора, заряженные зарядом q= 15нКл, притягиваются в воздухе с силой F= 600мкН. Определить площадь пластин конденсатора.
Решение. Заряд q одной пластины находится в поле напряженностью Е1, созданном зарядом другой пластины конденсатора. Следовательно, на первый заряд действует сила

Так как
,
где σ - поверхностная плотность заряда пластины, то
.
Тогда

Ответ: 
Пример 3. Заряд величиной 1 нКл переносится из бесконечности в точку, находящуюся на расстоянии 0,1 м от поверхности металлической сферы радиусом 0,1 м, заряженной с поверхностной плотностью
. Определить работу перемещения заряда
Дано:
.
Найти: A.
Решение. Потенциал поля
, создаваемого заряженной сферой на расстоянии
от ее центра, определяется по формуле:
,
где
заряд сферы;
электрическая постоянная.
Потенциал поля на расстоянии
равен нулю:
. Работа А по перемещению заряда q из бесконечности в точку поля равна:

Ответ: 
Пример 4. Энергия плоского воздушного конденсатора 40 нДж, разность потенциалов на обкладках 600 В, площадь пластин 1 см2. Определить расстояние между обкладками, напряженность и объемную плотность энергии поля конденсатора.
Дано:
.
Найти: 
Решение. Энергия конденсатора
; емкость конденсатора
, следовательно,
. Отсюда
.
Напряженность поля конденсатора

Объемная плотность энергии поля:

Ответ:
;
;
.
Пример 5. Электрон, обладающий кинетической энергией Т1= 10эВ, влетел в однородное электрическое поле с напряженностью Е= 10В/м в направлении поля и прошел в нем расстояние r= 50 см. Определить скорость электрона в конце указанного пути.
Решение. В соответствии с определением вектора напряженности электрического поля
, на электрон, влетевший в направлении вектора напряженности поля, действует сила
, направленная противоположно движению. Следовательно, электрон тормозится под действием этой силы. На пути движения электрона электрическое поле совершает работу А.
,
где е - заряд электрона; е = 1,6 ? 10-19Кл.U - разность потенциалов на пути движения.
Работа сил электрического поля, затраченная на изменение кинетической энергии электрона
,
где Т1, Т2 - кинетические энергии электрона до и после прохождения замедляющего поля.
Кинетическая энергия электрона в конце пути
,
где me - масса электрона; υ2 - скорость электрона в конце пути.
Учитывая однородность электрического поля можно написать, что:

Воспользовавшись указанными формулами, можно получить:

Тогда скорость электрона в конце пути

Ответ: 
Пример 6. На концах медного провода длиной l = 5м поддерживается напряжение U= 1В. Определить плотность тока j в проводе.
Решение. По закону Ома в дифференциальной форме

Удельная проводимость γ определяется как
,
где ρ - удельное сопротивление меди 
Напряженность электрического поля внутри проводника согласно формуле, связывающей разность потенциалов (напряжение) и напряженность в однородном электрическом поле выражается формулой

Используя вышеуказанные формулы:

Ответ: 
Пример 7. Определить электрический заряд, прошедший через поперечное сечение провода сопротивлением R= 3Ом при равномерном нарастании напряжения на концах провода от U1= 2В до U2= 4В в течение Δt= 20с.
Решение. В соответствии с законом Ома переменное напряжение вызывает в проводнике переменный ток. По определению силы тока
,
отсюда
,
где dq - количество электрического заряда, прошедшего через поперечное сечение проводника за бесконечно малый промежуток времени dt, I - мгновенное значение силы переменного тока.
По закону Ома
,
где U - мгновенное значение напряжения.
При равномерном нарастании напряжения его мгновенное значение в момент времени t равно
,
где k - скорость нарастания напряжения, равная приращению напряжения за единицу времени. При равномерном нарастании
В/ с
Используя вышеуказанные формулы, можно вычислить 

Заряд q, прошедший через поперечное сечение провода за конечный промежуток времени от t1 от t1= 0с, до t2= 20с определяется как:

Подставляем значения k, t2 и R:
Кл
Ответ: q=6,67 Кл
Пример 8. Сила тока в проводнике сопротивлением R= 20Ом нарастает в течение времени Δt= 2с по линейному закону от I0= 0 до I= 6А. Определить теплоту Q1, выделившуюся в этом проводнике за первую и Q2 - за вторую секунды, а также найти отношение
.
Решение. По закону Джоуля-Ленца

Здесь сила тока является некоторой функцией времени:
,
где k - коэффициент пропорциональности, численно равный приращению силы тока в единицу времени. При линейном законе
A/ с
Тогда
и 
При определении теплоты, выделившейся за первую секунду, пределы интегрирования t1= 0, t2= 1 c и, следовательно,
Дж
При определении теплоты Q2 пределы интегрирования t1= 1, t2= 2 c и
Дж.
Следовательно,

т.е. за вторую секунду выделится теплоты в 7 раз больше, чем за первую.
Пример 9. По проводу, согнутому в виде квадрата со стороной a = 10см течет ток силой I = 100A. Найти магнитную индукцию
в точке пересечения диагоналей квадрата.
![]() |
Решение. Квадратный виток расположен в плоскости чертежа.
Согласно принципу суперпозиции магнитных полей магнитная индукция поля
квадратного витка будет равна геометрической сумме магнитных индукций полей, создаваемых каждой стороной квадрата в отдельности:

В точке О пересечения диагоналей квадрата все векторы индукции для указанного на рис. тока будут направлены перпендикулярно плоскости витка «к нам». Кроме того, из соображений симметрии следует, что абсолютные значения этих векторов одинаковы:
. Это позволяет векторное равенство заменить скалярным равенством

Магнитная индукция В1 поля, создаваемого отрезком прямолинейного провода с током, выражается формулой

Учитывая, что
и
, формулу можно переписать в виде
и учитывая, что В = 4В1

Здесь
и
(так как
), и тогда В.

Подставив в эту формулу числовые значения физических величин, для В получится значение:
Tл.
Пример 10. Электрон, пройдя ускоряющую разность потенциалов U = 400В, попал в однородное магнитное поле напряженностью H = 103А/м. Определить радиус R кривизны траектории и частоту n обращения электрона в магнитном поле. Вектор скорости перпендикулярен линиям поля.
Решение. Радиус кривизны траектории электрона можно определить, исходя из следующих соображений: на движущийся в магнитном поле электрон действует сила Лоренца
(действием силы тяжести можно пренебречь). Сила Лоренца перпендикулярна вектору скорости и, следовательно, сообщает электрону нормальное ускорение:

или
,
где е - заряд электрона, υ - скорость электрона, В - магнитная индукция, m - масса электрона,
R - радиус кривизны траектории, α - угол между направлением вектора скорости
и вектором
(в данном случае
и α = 90°, sinα = 1)
Тогда для R находится формула:

Входящий в это равенство импульс mυ может быть выражен через кинетическую энергию Т электрона:

Но кинетическая энергия электрона, прошедшего ускоряющую разность потенциалов U, определяется равенством

Подставив это выражение Т в выражение для
получится выражение:

Магнитная индукция В может быть выражена через напряженность Н магнитного поля в вакууме
,
где μ0 - магнитная постоянная.
Используя полученные выражения можно определить R в виде:

Здесь: m=9,11 ? 10?31 кг, e = 1,60 ? 10-19 Кл, U = 400 В, μ0 = 4π ? 10-7 Гн/м, Н = 103А/м.
м = 5,37 см
Для определения частоты обращения n можно воспользоваться формулой, связывающей частоту со скоростью и радиусом:

С учетом
получится:

c-1
Ответ: 
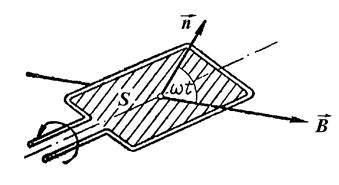
Пример 11. В однородном магнитном поле (В = 0,1 Тл) равномерно с частотой n = 10об/с вращается рамка, содержащая N = 1000 витков, плотно прилегающих друг к другу. Площадь рамки S = 150см2. Определить мгновенное значение Э.Д.С. индукции
, соответствующее углу поворота рамки 30°.
Решение. Мгновенное значение Э.Д.С. индукции
определяется основным уравнением электромагнитной индукции
![]() |

При вращении рамки магнитный поток Ф, пронизывающий рамку в момент времени t, изменяется по закону
,
где В - магнитная индукция,
S - площадь рамки,
ω - круговая (циклическая) частота.
Продифференцировав по времени Ф, можно найти мгновенное значение Э.Д.С. индукции в виде:

Учитывая, что частота ω связана с частотой вращения n соотношением
,
получится как:

По условию задачи: n= 10c-1; N = 103; B = 0,1 Tл; S = 1,5 ? 10-2 м2; ωt = 30° =
и, подставив их в
можно найти:
В
Ответ: 
Пример 12. Соленоид без сердечника имеет плотную однослойную намотку провода диаметром 0,2 мм и по нему течет ток 0,1 А. Длина соленоида 20 см, диаметр 5 см. Найти энергию и объемную плотность энергии магнитного поля соленоида.
Дано:
.
Найти:
.
Решение. Энергия магнитного поля соленоида
, где
индуктивность соленоида,
;
магнитная постоянная; n – число витков на 1 м длины соленоида, при плотной намотке
;
длина соленоида;
площадь сечения соленоида. Тогда:
.
Объемная плотность энергии определяется по формуле:

Ответ:
;
.
Пример 13. Конденсатору емкостью 40 мкФ сообщен заряд 0,3 мКл, после чего его замыкают на катушку с индуктивностью 0,1 Гн. Пренебрегая сопротивлением контура, найти законы изменения напряжения на конденса
торе и силы тока в цепи.
Дано:
.
Найти:
.
Решение. В отсутствие омического сопротивления свободные колебания в контуре описываются уравнением
(1)
где
циклическая частота колебаний.
Решение уравнения (1) имеет вид
, (2)
где
начальная фаза колебаний. Поскольку в начальный момент времени
заряд конденсатора
, то
и, следовательно,
.
Напряжение на конденсаторе
(3)
а сила тока в цепи
(4)
Числовые значения, получатся как:

Таким образом, 
Ответ:
.
Рис. 1.1
