11.1 Общие замечания
Электронно-лучевые осциллографы предназначены для визуального наблюдения, измерения и регистрации электрических сигналов. Возможность наблюдения изменяющихся во времени сигналов делает осциллографы чрезвычайно удобными при определении различных амплитудных и временных параметров наблюдаемых сигналов. Важными достоинствами осциллографов являются широкий частотный диапазон, высокая чувствительность и большое входное сопротивление. Все это обусловило их широкое практическое применение.
В настоящее время выпускается множество осциллографов, различающихся назначением и характеристиками. Осциллографы могут быть предназначены для наблюдения и измерения непрерывных или импульсных процессов; большое распространение получили универсальные осциллографы для периодических и непериодических сигналов непрерывного и импульсного характера в широком (до 100 МГц) диапазоне частот. Выпускаются также осциллографы специального назначения: многофункциональные со сменными входными блоками, запоминающие для регистрации одиночных импульсов, стробоскопические для исследования высокочастотных процессов и другие. По количеству одновременно исследуемых сигналов осциллографы могут быть одноканальными и многоканальными (в основном двухканальными). В последнее время получили распространение цифровые электронные осциллографы.
Осциллографы могут различаться чувствительностью, полосой пропускания, погрешностью воспроизведения формы кривой и другими характеристиками.
В основе работы любых электронных осциллографов лежит преобразование исследуемых сигналов в видимое изображение, получаемое на экране электронно-лучевой трубки.
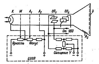
Электронно-лучевые трубки. Простейшая однолучевая трубка (ЭЛТ) представляет собой стеклянный баллон, из которого откачан воздух и в котором расположены (рис. 6-22) подогреваемый катод К, модулятор (сетка) М, фокусирующий анод А, ускоряющий анод А, две пары взаимно перпендикулярных отклоняющих пластин ОП Х и ОПУ (горизонтальные и вертикальные отклоняющие пластины). Внутренняя поверхность дна баллона (экран Э) покрыта люминофором, способным светиться под действием бомбардировки электронами. Совокупность электродов К, М, А1, А2называют электронной пушкой. Конструктивно эти электроды выполнены в виде цилиндров, расположенных по оси трубки. Электронная пушка излучает узкий пучок электронов — электронный луч. Для этого на электроды пушки подают напряжение, как показано на, где ЦУЭЛ — цепи управления электронным лучом. Интенсивность электронного луча регулируют путем изменения отрицательного относительно катода напряжения на модуляторе, что приводит к изменению яркости свечения люминофора. Напряжение на первом аноде фокусирует поток электронов в узкий луч, позволяющий получить на экране трубки светящееся пятно малого размера. Для ускорения электронов до скорости, необходимой для свечения люминофора, на второй анод подается высокое положительное напряжение. Сформированный электронный луч проходит между парами отклоняющихся пластин ОПХ и ОПУ и под действием напряжений, приложенных к этим пластинам, отклоняется, соответственно, по осям координат X и У, вызывая смещение светящегося пятна на экране трубки. На рис. 6-22 также показана упрощенная схема управления начальной установки луча по оси У (по оси X управление аналогичное). Меняя положение подвижного контакта переменного резистора («Смещение У»), можно изменять напряжение на пластинах У и тем самым смещать луч по экрану.

Рис. 6-22. Схема управления лучом электронно-лучевой трубки
При исследовании быстропротекающих процессов с малой частотой повторения или однократных импульсов электронный луч не успевает возбудить в достаточной мере люминофор и яркость свечения может оказаться недостаточной. Поэтому в современных электронно-лучевых трубках применяют дополнительное ускорение электронов при помощи третьего анода А3, подавая на него большое положительное напряжение.
Осциллографические электронно-лучевые трубки характеризуются чувствительностью, полосой пропускания, длительностью послесвечения, рабочей площадью экрана, цветом свечения люминофора и другими характеристиками.
С увеличением частоты чувствительность трубки падает. Верхняя частота полосы пропускания трубки равна такой частоте, при которой ее чувствительность уменьшается до значения 0,707 ST (на 3 дБ), где ST — чувствительность на малых частотах. У рассматриваемых электронно-лучевых трубок верхняя частота примерно 100 МГц.
Длительность послесвечения экрана характеризуют временем от момента прекращения действия электронного луча до момента, когда яркость изображения составит 1 % первоначальной. Трубки с длительным послесвечением (более 0,1 с) облегчают наблюдение непериодических и медленно изменяющихся сигналов. Специальные запоминающие трубки позволяют сохранить изображение сигнала на интервалы времени от нескольких минут до нескольких суток.
Рабочая площадь экрана определяется диаметром трубки. Выпускают трубки с диаметром 70 мм и более. Тип люминофора определяет цвет свечения экрана. Обычно находят применение трубки с зеленым цветом свечения. Для фотографирования изображение с экрана осциллографа используют трубки с голубым свечением экрана.
В современных осциллографах применяют также и более сложные, в частности, многолучевые трубки для наблюдения сразу двух и более сигналов, трубки с линией бегущей волны для наблюдения за сверхвысокочастотными колебаниями и др.
|
Рис. 6-24. Форма напряжения линейной развертки
11.2 Устройство и принцип действия осциллографа.
Упрощенная функциональная схема осциллографа (рис. 6-23) включает в себя электронно-лучевую трубку ЭЛТ, входной делитель напряжения ВД, усилитель вертикального отклонения УВО, состоящий из предварительного усилителя ПУ, линии задержки ЛЗ и выходного усилителя ВУ, блок синхронизации БС, генератор развертки ГР, усилитель горизонтального отклонения УГО и калибраторы амплитуды КА и длительности КД.

Рис. 6-23. Функциональная схема электронно-лучевого осциллографа
Исследуемый сигнал подается на вход Y канала вертикального отклонения, включающего в себя входной делитель и усилитель вертикального отклонения. Выходное напряжение УВО, по ступая на вертикальные отклоняющие пластины, управляет отклонением электронного луча в трубке по оси У. Для получения требуемого размера изображения на экране входной сигнал усиливается (или ослабевает) в канале вертикального отклонения до необходимого значения, определяемого чувствительностью трубки. Последовательное включение делителя напряжения и усилитель вертикального отклонения обеспечивает значительный диапазон исследуемых напряжений. Основное усиление УВО обеспечивается предварительным усилителем ПУ, а выходной усилитель ВУ в основном служит для преобразования усиливаемого сигнала в управляющее напряжение, подаваемое на отклоняющие пластины.
При подаче переменного напряжения на вход У электронный луч вычерчивает на экране осциллографа вертикальную линию. Для получения изображения исследуемого сигнала, развернутого во времени, необходимо смещать (развертывать) луч по оси X с равномерной скоростью. Это осуществляется подачей на отклоняющие пластины ОПХ линейно изменяющегося пилообразного напряжения (рис. 6-24). Принцип развертки изображения иллюстрируется рис. 6-25, где даны кривые изменения напряжения их и uY, подаваемые на пластины ОПХ и ОЯГ, и получающееся при этом изображение на экране осциллографа. Цифрами /— 4, 1'—4' обозначены точки кривых в соответствующие моменты времени. Из рисунка видно, что при равенстве периодов напряжений их и иу на экране получается неподвижное изображение одного периода исследуемого сигнала. При увеличении периода пилообразного напряжения их в п раз на экране появится изображение п периодов исследуемого сигнала.
|
Рис. 6-25. Временные диаграммы, поясняющие получение осциллограмм
Напряжение развертки игр вырабатывает генератор развертки ГР. Реальная кривая напряжения развертки (см. рис. 6-24) имеет время прямого tnp и время обратного tобр хода — время возвращения луча в исходное положение. Для того чтобы во время обратного хода электронный луч не вычерчивал линии на экране осциллографа, его гасят на это время путем подачи отрицательного импульса на модулятор. Исследование сигналов в широком диапазоне частот обеспечивается переключением частоты пилообразного напряжения, предусмотренном в генераторе развертки. Это позволяет проводить наблюдения исследуемых сигналов в нужном масштабе времени. Выходное напряжение генератора усиливается в УГО до значения, необходимого для управления электронным лучом в ЭЛТ и получения изображения требуемого размера.
Для получения устойчивого изображения на экране осциллографа частота пилообразного напряжения развертки должна быть кратна частоте исследуемого сигнала. Выдержать точно кратность частот напряжений их и иу на практике оказывается достаточно сложно вследствие «ухода» частоты генератора ГР и изменения частоты исследуемого сигнала. Это приводит к неустойчивости изображения сигнала. Для обеспечения устойчивости изображения в осциллографе имеется блок синхронизации БС (см. рис. 6-23), который осуществляет изменение частоты генератора ГР (в некоторых пределах) в соответствии с частотой исследуемого процесса.

Рис. 6-26. Временные диаграммы, поясняющие получение изображения сигналов при ждущей развертке
Для этого сигнал из канала вертикального отклонения подается на блок синхронизации, на выходе которого вырабатываются импульсы синхронно с изменением исследуемого сигнала для управления генератором развертки, принудительно заставляя его работать с частотой, кратной частоте входного сигнала. Такой режим работы генератора развертки называется непрерывным. Он применяется при наблюдении периодических сигналов. При исследовании непериодической последовательности импульсов или одиночных импульсов непрерывный режим работы ГР приводит к тому, что положение изображения импульсов на экране по оси времени становится неопределенным. В этом случае применяют ждущий режим работы генератора, при котором ГР вырабатывает пилообразный импульс только с приходом исследуемого импульса. При таком режиме обеспечивается устойчивое положение изображения этих импульсов на экране. Рисунок 6-26 иллюстрирует ждущий режим работы ГР, где показаны входные импульсы иу (рис. 6-26, а), пилообразные импульсы игр (рис. 6-26, б) генератора развертки и изображение на экране осциллографа (рис. 6-26, в).
В осциллографах предусматривается также возможность запуска генератора ГР от внешнего источника (внешняя синхронизация). Для этого имеется специальный вход «Вход синхронизации» и переключатель В2.
Исследование импульсных и особенно непериодических сигналов имеет ряд особенностей. В частности, генератор развертки вследствие своей инерционности вырабатывает пилообразное напряжение с некоторым запаздыванием trp пoотношению к запускающему импульсу. Это может привести к тому, что начальная часть импульса не будет развернута во времени на экране (рис. 6-27, а). Для устранения таких искажений в канале вертикального отклонения имеется линия задержки ЛЗ, осуществляющая временной сдвиг (задержку) на некоторое время сигнала, подаваемого на пластины OПY (рис. 6-27, б, где илз — напряжение на выходе ЛЗ). Такая задержка позволяет получить изображение всего импульса, включая его начальную часть, на экране осциллографа. В низкочастотных осциллографах, предназначенных для исследования периодических процессов, линия задержки может отсутствовать.

Рис. 6-27. Временные диаграммы, поясняющие назначение линии задержки
Для расширения функциональных возможностей осциллографа имеются дополнительные входы, позволяющие осуществить управление электронным лучом. Во многих осциллографах предусмотрена возможность управления отклонением луча по оси X внешним напряжением. Для этого у осциллографа есть «Вход X» (см. рис. 6-23), на который подается внешнее/управляющее напряжение, и переключатель бз, устанавливаемый в этом случае в нижнее (по схеме) положение. В осциллографах имеются также зажимы «Вход пластин X» и «Вход пластин У», позволяющие подавать внешнее напряжение непосредственно на пластины электронно-лучевой трубки. В некоторых осциллографах имеется вход Z, который через разделительный конденсатор (или специальный, усилитель) соединен с модулятором М электронно-лучевой трубки. Подавая импульсы напряжения на этот вход, можно модулировать (изменять) яркость свечения изображения на экране. Это позволяет, например, отмечать характерные точки на изображении, подавая импульсы на вход Z в необходимые моменты времени.
При измерении амплитудных и временных параметров исследуемых сигналов обычно измеряют соответствующие геометрические размеры изображения сигнала на экране и с помощью коэффициентов отклонения и коэффициентов развертки (см. далее), характеризующих чувствительность каналов, определяют значения этих параметров. Для повышения точности измерений осциллографы имеют калибраторы амплитуды КА и длительности КД, позволяющие контролировать и устанавливать номинальные значения коэффициентов отклонения и коэффициентов развертки. Калибраторы часто представляют собой генераторы прямоугольных импульсов с известными значениями амплитуды и частоты. Для проверки коэффициентов отклонения переключатель B1 (см. рис. 6-23) ставится в положение «Калибровка». Меняя усиление УВО, добиваются нормированного отклонения луча на экране, что приводит к установке соответствующего коэффициента отклонения. По периоду калибровочного импульса можно проверить или установить нормированное значение коэффициента развертки. В некоторых осциллографах КД представляет собой стабильный по частоте генератор, выход которого при измерении подключается к модулятору ЭЛТ. Сигнал генератора вызывает появление на экране чередующихся светлых и темных участков. По их числу, зная частоту генератора КД, можно определить временные параметры исследуемых сигналов.
Основная погрешность измерения напряжения и основная погрешность измерения временных интервалов определяются максимально допускаемыми погрешностями измерения соответствующих параметров при подаче на вход осциллографа стандартного сигнала синусоидальной или прямоугольной формы. В зависимости от значений этих погрешностей выпускают осциллографы четырех классов точности — 1, 2, 3, 4, имеющих, соответственно, основные погрешности измерений, не превышающие 3, 5, 10, 12 %.
11.3 Анализаторы спектра.
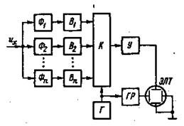
Анализ спектра может производиться двумя способами: первый способ анализа называется последовательным, поскольку гармоники определяются поочередно; второй способ — параллельным (или одновременным), так как гармоники определяются одновременно На рис. 6-28 приведены структурные схемы анализаторов спектра, основанных на последовательном способе анализа. Исследуемое напряжение их (рис. 6-28, а) после усилителя у _ поступает на фильтр Ф, который последовательно настраивается на частоту первой, второй, третьей и т. д. гармоник. По частоте настройки фильтра определяют частоты гармоник, а по показаниям электронного вольтметра V — их действующие значения. В схеме анализатора (рис. 6-28, б) применен генератор Г (гетеродин) с регулируемой частотой. Фильтр Ф имеет определенную для данного, типа анализатора узкую полосу пропускания. Анализируемое напряжение их поступает на смеситель См, на который подается сигнал от гетеродина Г. На выходе смесителя См образуется сигнал, имеющий частоту, равную разности частот неизвестного сигнала их и сигнала гетеродина. Сигнал с выхода смесителя поступает на фильтр Ф. Гетеродин настраивается так, чтобы его частота отличалась от частоты измеряемой гармоники на значение, соответствующее частоте пропускания фильтра. Напряжение на выходе фильтра измеряется электронным вольтметром V. Частота гармоники определяется по частоте гетеродина. Так как частота настройки фильтра постоянная, в качестве фильтрующих элементов используют кварцевые резонаторы, отличающиеся очень высокой добротностью. Анализаторы спектра с гетеродином отличаются от анализаторов с перестраиваемым фильтром большей чувствительностью (могут измерять меньшие напряжения гармоник) и большей точностью. Анализаторы последовательного действия применимы лишь для исследования периодических процессов — ими нельзя анализировать одиночные импульсы.

Рис. 6-28. Структурные схемы анализаторов спектра последовательного действия с перестраиваемым фильтром (а) и с гетеродином (б)
Анализаторы спектра параллельного действия применяются для анализа высокочастотных колебаний и анализа одиночных импульсов (рис. 6-29). Исследуемый сигнал напряжением их одновременно поступает на фильтры Ф1 — Фn, настроенные на различные частоты. Сигналы с фильтров через выпрямители В1 — Вn, коммутатор (переключатель) К, усилитель У поступают на пластины вертикального отклонения электронно-лучевой трубки ЭЛТ.

Рис. 6-29. Структурная схема анализатора спектра параллельного действия.
На пластины горизонтального отклонения ЭЛТ подается напряжение с генератора развертки ГР, работа которого синхронизирована с работой коммутатора и управляется тактовым генератором Г. В результате на экране электронно-лучевой трубки за период развертки возникают импульсы, рас стояние между которыми пропорционально частотному интервал между гармониками, а амплитуда пропорциональна спектральной плотности сигнала на соответствующей частоте, таким образом воспроизводится спектр исследуемого сигнала.






