«Элементная база полупроводниковых преобразователей»
Наибольшее распространение в составе силовых ПП нашли диоды, транзисторы и тиристоры.
Вопрос № 19. Назначение, виды, состав и применение полупроводниковых тиристоров?.
Тиристор является многослойным полупроводниковым прибором, обладающий двумя устойчивыми состояниями с высоким сопротивлением (закрытое состояние) и с низким сопротивлением (открытое состояние).
По способу управления тиристоры делятся на:
- обычные,
-фототиристоры и
-оптотиристоры.
Тиристоры управляются внешним электрическим сигналом по управляющему электроду,
фототиристоры - с помощью внешнего светового сигнала, оптотиристоры - с помощью внутреннего светового сигнала от светодиода, встроенного в корпус тиристора.
Фототиристоры и оптотиристоры менее чувствительны к электромагнитным помехам.

Рис. 9.3. Условные обозначения полупроводниковых вентилей: а - диод; б — однооперационный тиристор; в - двухоперационный тиристор; г - биполярный транзистор
Тиристоры могут быть однооперационными (незапираемыми) и двух-операционными (запираемыми).
|
|
|
В однооперационных тиристорах по цепи управляющего электрода осуществляется только операция отпирания тиристора, в двухоперационных тиристорах - отпирание и запирание тиристора.
Условные обозначения полупроводниковых вентилей представлены на рис. 9.3.
Помимо тиристоров и диодов широкое применение в силовой преобразовательной технике нашли транзисторы.
Вопрос № 20. Назначение, виды, состав и применение полупроводниковых транзисторов?.
Транзистор является полностью управляемым полупроводниковым прибором, который обладает свойствами усиления электрических сигналов.
Основными режимами работы транзисторов являются: режим насыщения (большой ток и малое напряжение), режим отсечки (малый ток и большое напряжение) и активный режим.
В силовой преобразовательной технике транзисторы работают только в ключевом режиме, то есть находятся в состоянии насыщения или отсечки.
Среди транзисторов наибольшее распространение нашли биполярные транзисторы
Однооперационные тиристоры и биполярные транзисторы охватывают практически весь диапазон мощностей судовой силовой преобразовательной техники.
Однако им присущ ряд недостатков, среди которых следует отметить: неполная управляемость и низкая рабочая частота у однооперационных тиристоров, значительная мощность управления и низкая надежность у биполярных транзисторов.
В связи с этим, помимо традиционно применяемых однооперационных тиристоров и биполярных транзисторов все большее распространение находят двухоперационные тиристоры, в том числе с полевым управлением, а так же полевые и гибридные транзисторы.
|
|
|
Вопрос № 21. Основные виды отказов полупроводниковых вентилей?.
К основным видам отказов полупроводниковых вентилей следует отнести:
- электрический пробой;
- тепловой пробой;
- потеря управляющей способности;
Электрический пробой наступает при приложении к вентилю напряжения, превышающего допустимое значение по амплитуде и
продолжительности. Электрический пробой является обратимым, т.е. после снятия напряжения вентиль восстанавливает запирающие свойства.
Тепловой пробой наступает при токе, превышающем допустимую величину или нарушении режима охлаждения и является необратимым. Превышение критического значения скорости нарастания тока у тиристоров так же вызывает местный перегрев полупроводниковой структуры и тепловой пробой.
Потеря управляющей способности тиристоров характеризуется само произвольным переключением в проводящее состояние при отсутствии управляющего импульса.
Причиной этого является превышение приложенного к вентилю прямого напряжения или превышение критического значения скорости нарастания напряжения. Потеря управляющей способности может произойти и при превышении допустимой температуры структуры тиристора, которая приводит к снижению напряжения переключении. Самопроизвольное переключение тиристоров может наступить при снижении сигнала управления, наличии помех, старении прибора.
В процессе эксплуатации происходит старение вентилей, что приводит к изменению параметров, таких как напряжение переключения, критические значения скорости нарастания напряжения или тока, уменьшение напряжения и тока управления, увеличение обратного тока и тока утечки, падения напряжения. Старение обусловлено главным образом нарушением теплового режима структуры вентиля или скрытыми дефектами. В послед нем случае изменение параметров проявляется в начальный период эксплуатации полупроводникового прибора.
В процессе эксплуатации ПП возможны отказы, вызванные чисто механическими повреждениями, такими как обрыв управляющего электрода, нарушение пайки и т.д. Вследствие низких значений максимальной допустимой рабочей температуры перегрузочная способность полупроводниковых вентилей ограничена десятыми долями секунд.
Вопрос № 22. Способы и схемы групповых соединений полупроводниковых вентилей и распределение токов, напряжения и сопротивлений между ними.?.
Для уменьшения вероятности электрического и теплового пробоя в ПП применяют последовательное или параллельное соединение полупроводниковых вентилей (рис. 9.4)

Рис. 9.4. Способы соединений полупроводниковых вентилей: а — последовательное соединение; б — параллельное соединение
Последовательное соединение вентилей применяется в случае, когда в процессе эксплуатации к вентилю может быть приложено напряжение, превышающее номинальное значение. В судовой сети всплеск напряжения может, в частности, возникнуть при отключении электропотребителей.
При последовательном соединении полупроводниковых вентилей необходимо обеспечить равномерное распределение напряжения между ними.
На практике, из-за разброса вольтамперных характеристик, некоторые включенные последовательно вентили, могут перегружаться по напряжению (рис. 9.5).

U1 U2
Рис. 9.5. Вольтамперные характеристики тиристоров, включенных последовательно
Неравномерное распределение напряжения имеет место и при коммутации вентилей.
При отпирании последнего вентиля силовой схемы к нему прикладывается полное напряжение. При запирании полное напряжение прикладывается к вентилю, первым восстановившему запирающие свойства. При этом возможно его самопроизвольное включение.
|
|
|
Для выравнивания напряжения в установившихся и переходных режимах применяются шунтирующие конденсаторы и RC-цепочки, которые включаются параллельно вентилю.
Параллельное соединение вентилей необходимо, если ток превышает допустимую величину.
В связи с тем, что вольтамперные характеристики
полупроводниковых вентилей имеют статический разброс, равенства полных сопротивлений ветвей практически не существует. В динамических режимах полупроводниковый вентиль, имеющий меньшее время включения, воспринимает весь ток цепи, что может привести к тепловому пробою.
При параллельном соединении вентилей необходимо обеспечить равномерное распределение тока между параллельными ветвями в статических и переходных режимах, в том числе и при возникновении аварийной ситуации. В нормальных эксплуатационных режимах допускается неравномерность распределения тока в параллельных ветвях не более 10 %.
Для равномерного распределения тока в параллельных цепях применяют следующие методы:
- подбор вентилей с близкими вольтамперными характеристиками;
- включение последовательно с каждым вентилем выравнивающих сопротивлений;
- применение индуктивных делителей тока.
На практике часто применяют групповое соединение вентилей, которое не только ограничивает величину тока и напряжения в ветвях, но и повышает надежность ПП.
В преобразователях применяется параллельно-последовательное и последовательно-параллельное соединение вентилей
с выравнивающими сопротивлениями (рис. 9.6).
Разброс электрических и тепловых параметров полупроводниковых вентилей снижает эффективность групповых соединений, увеличивая потери в ПП.

Рис. 9.6. Схемы групповых соединений полупроводниковых вентилей: а - параллельно-последовательное; б- последовательно-параллельное; в - последовательно-параллельное соединение с выравнивающими сопротивлениями 32эм10.10.14г.31ЭМ/34эм
Лекция № 4
Неуправляемые и управляемые полупроводниковые выпрямители, однофазные и трехфазные, их основные элементы, устройство и принцип работы. Схемы с нулевой точкой трансформатора и мостовая. Область применения.
|
|
|
1. Выпрямители. Общие сведения. Структурная схема.
Выпрямители предназначаются для преобразования переменного напряжения в напряжение одной полярности (однонаправленное, выпрямленное).
Электрическая энергия вырабатывается и распределяется, как правило, на переменном токе, но значительная ее доля потребляется при использовании постоянного тока (электролиз, электропривод и т.д.), получаемые с помощью выпрямителей. Кроме того, выпрямители применяются как промежуточные звенья в преобразователях переменного напряжения одной частоты в переменное напряжение другой частоты (например, в блоках питания компьютеров).
В зависимости от числа фаз питающего напряжения различают однофазные и многофазные выпрямители, причем из последних наиболее широко используются трехфазные.
Выпрямители на диодах называют неуправляемыми, а содержащие управляемые силовые приборы – управляемыми.

Рис. 1Структурная схема выпрямительного устройства
Выпрямительное устройство (Рис.1) состоит из основных узлов: трансформатора, схемы выпрямления и сглаживающего фильтра, а также стабилизатора напряжения.
Трансформатор в схеме выпрямления предназначен для получения заданного напряжения на выходе выпрямителя. Кроме этого трансформатор устраняет непосредственную электрическую связь цепи выпрямленного тока с питающей сетью, что необходимо, в случае если один полюс нагрузки заземлен или соединен с корпусом устройства.
Комплект вентилей осуществляет процесс выпрямления. Он может состоять из одного или нескольких вентилей, соединенных по определенной схеме.
Сглаживающий фильтр предназначен для ослабления пульсаций, то есть для уменьшения переменных составляющих, содержащихся в спектре выпрямленного напряжения. Сглаживающий фильтр наиболее часто состоит из индуктивных и емкостных элементов, соединяемых по определенной схеме.
Помимо элементов показанных на структурной схеме, выпрямитель может содержать стабилизатор напряжения (или тока), который поддерживает напряжение (или ток) постоянным, с определенной степенью точности при измерениях напряжения питающей сети и сопротивления нагрузки. Выпрямительное устройство может также выполнять функции регулятора напряжения и содержать устройства контроля, коммутации, защиты и др.
1. Основные схемы выпрямления переменного тока
1. Нарисуйте схему однополупериодного выпрямителя и объясните его работу.
2. Каковы недостатки однополупериодного выпрямителя?
3. Нарисуйте схему двух полупериодного выпрямителя и объясните его работу.
4. Каковы недостатки двух полупериодного выпрямителя?
5. Нарисуйте мостовую схему выпрямителя и объясните ее работу.
6. Нарисуйте схему трехфазного выпрямителя с нейтральной точкой и объясните ее работу.
7. Нарисуйте мостовую схему трехфазного выпрямителя и объясните ее работу.
Одним из главных применений полупроводниковых диодов является выпрямление переменного тока. Выпрямитель служит для преобразования переменного напряжения в постоянное. Выпрямленное напряжение еще содержит переменные составляющие, которые называются пульсациями. От пульсаций избавляются с помощью сглаживающих фильтров.
Для обеспечения неизменной величины выходного напряжения используется стабилизатор напряжения. Стабилизатор напряжения удерживает выходное напряжение на постоянном уровне.
Основными параметрами, характеризующими выпрямители, являются: номинальное среднее выпрямленное напряжение U0, номинальный средний выпрямленный ток I 0 и коэффициент пульсаций выпрямленного напряжения k п.
Коэффициентом пульсаций кп называется отношение амплитуды первой гармоники выпрямленного напряжения к среднему значению выпрямленного напряжения.
Основными параметрами, характеризующими диоды в выпрямителях, являются: среднее значение прямого тока, максимальное значение обратного напряжения и рассеиваемая мощность.
Трансформаторы, работающие в выпрямителях, характеризуются действующими значениями токов и напряжений первичной и вторичной обмоток и номинальной мощностью.
Наиболее распространены три основные схемы выпрямителей: однополупериодная, двухполупериодная и мостовая.
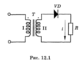
Схема однополупериодного выпрямителя изображена на рис. 12.1, где Т - трансформатор, VD - полупроводниковый диод, а R - нагрузка.
Когда на верхнюю часть вторичной обмотки подан положительный полупериод

переменного тока, на диод подается прямое напряжение, и он пропускает его, а когда отрицательный, то диод заперт. Через нагрузку протекает пульсирующий прерывистый ток (рис. 12.2).
Обратное напряжение на диоде более чем в 3 раза превышает выпрямленное напряжение на нагрузке.
Однополупериодная схема очень редко используется в современных выпрямителях, поскольку вторичная обмотка трансформатора работает только половину периода, и поэтому габаритная мощность трансформатора должна превышать мощность выпрямленного тока примерно в 3 раза. Кроме того, выпрямленное напряжение имеет очень высокий коэффициент пульсаций, что затрудняет его сглаживание.
| Рис. 12.3 |
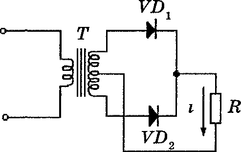
На рис. 12.3 изображена двухполупериодная схема, где Т -трансформатор с отводом от середины вторичной обмотки, VD1 и VD2 - полупроводниковые диоды, а R - нагрузка.34эм.14.11.14г.
Эту схему можно рассматривать как две самостоятельные однополупериодные схемы, имеющие общую нагрузку. В ней диоды VD1 и VD2 оказываются открытыми в разные половины периода переменного напряжения, и поэтому ток через нагрузку R протекает в обе половины периода, пульсируя с двойной частотой.
Каждый диод здесь работает как в однополупериодной схеме. Токи диодов складываются.
В отсутствие нагрузки напряжение на выходе двухполупериодного выпрямителя вдвое больше напряжения на выходе однополупериодного выпрямителя.
В двухполупериодной схеме максимальное обратное напряжение, действующее на каждый диод, находящийся в закрытом состоянии, равно сумме амплитуд напряжений обеих половин вторичной обмотки:
т. е. по сравнению с однополупериодной в двухполупериодной схеме через каждый диод протекает вдвое меньший ток. Коэффициент пульсаций в двухполупериодной схеме значительно ниже.
Двухполупериодная схема довольно часто используется на практике. Ее недостатками являются:
1.необходимость отвода от середины вторичной обмотки трансформатора;
2.неполное использование вторичной обмотки трансформатора по напряжению.
Эти недостатки устранены в мостовой схеме.
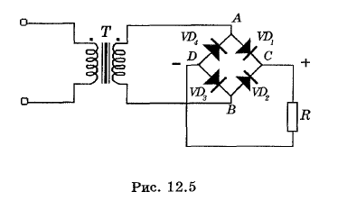
Мостовая схема выпрямления изображена на рис. 12.5 и состоит из трансформатора Т и четырех диодов: VD1 - VD4.

Диагональ АВ моста подключена к вторичной обмотке трансформатора, а диагональ СD - к нагрузке. Полярность напряжения на вторичной обмотке изменяется каждую половину периода.
Таким образом, выпрямленный ток идет через нагрузку R в течение всего периода переменного тока, поэтому мостовая схема является двухполупериодной.32эм07.11.14г.
Особенностью мостовой схемы является отсутствие во вторичной обмотке трансформатора отвода от ее середины, поэтому для получения одного и того же значения выпрямленного напряжения по сравнению со схемой с отводом от середины вторичной обмотки в мостовой схеме требуется обмотка с вдвое меньшим числом витков. Вследствие этого обратное напряжение, действующее на каждый диод, в два раза меньше, чем в схеме с отводом от середины вторичной обмотки:
В мостовой схеме ток через каждый диод идет только в течение одного полупериода, тогда как через вторичную обмотку трансформатора - в течение всего периода.
Частота пульсаций и коэффициент пульсаций выпрямленного напряжения в мостовой схеме такие же, как и в схеме с отводом от середины вторичной обмотки.
Рассмотрим теперь трехфазные схемы выпрямления. Простейшая трехфазная схема выпрямления тока с нейтральной точкой изображена на рис. 12.6, а.

Рис. 12.6
В этой схеме первичные обмотки трехфазного трансформатора соединяются звездой или треугольником, а вторичные - звездой, причем в каждую вторичную обмотку включено по диоду.
В этом случае в каждый момент выпрямленный ток проходит только через тот диод, анод которого соединен с зажимом обмотки, имеющим наибольший положительный потенциал по отношению к нейтральной точке трансформатора.
Поэтому выпрямленное напряжение будет изменяться по кривой, являющейся огибающей положительных полуволн фазных напряжений вторичных обмоток трансформатора (рис. 12.6, б).
Переключение диодов происходит в моменты, соответствующие пересечению положительных полусинусоид напряжения.
В нагрузке Rн токи, проходящие через три диода, суммируются.
Существенным недостатком этой схемы является то, что проходящие только через вторичные обмотки токи одного направления (выпрямленный ток) создают во взаимно связанных стержнях трехфазного трансформатора дополнительный постоянный магнитный поток. Чтобы не допустить насыщения магнитной системы за счет этого дополнительного потока, приходится увеличивать сечение стержней и габариты трансформатора. Трехфазную схему выпрямления с нейтральной точкой применяют только в маломощных силовых установках.
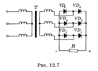
Мостовая трехфазная схема выпрямления переменного тока изображена на рис. 12.7. В ней сочетаются принципы мостовой схемы и схемы многофазного выпрямления. В этой схеме нулевая точка трансформатора для выпрямления не нужна и поэтому первичные и вторичные обмотки могут быть соединены как звездой, так и треугольником.

Шесть диодов образуют две группы - нечетную VD1, VD3 и VD5 и четную VD2, VD4 и VD6. У нечетной группы катоды соединены вместе и служат точкой вывода выпрямителя с положительным потенциалом, а у четной группы - аноды соединены вместе и служат точкой вывода с отрицательным потенциалом. При работе этой схемы выпрямляются обе полуволны переменных напряжений всех вторичных обмоток трансформатора, благодаря чему пульсации выпрямленного напряжения значительно уменьшаются. В схеме на рис. 12.7 в каждый момент работает тот диод нечетной группы, у которого анод в этот момент имеет наибольший положительный потенциал, а вместе с ним тот диод четной группы, у которого катод имеет наибольший по абсолютной величине отрицательный потенциал. Выпрямленное напряжение будет изменяться по огибающей с двойной частотой пульсаций (рис. 12.8).

В мощных выпрямителях в основном используется мостовая трехфазная схема. Она получила широкое применение в управляемых выпрямителях, в которых, регулируя моменты открывания и закрывания диодов (тиристоров), можно в широких пределах регулировать среднее значение выпрямленного тока.
2. Сглаживающие фильтры(СФ)
8.Каково назначение сглаживающего фильтра?
9.Объясните принцип работы сглаживающего фильтра.
Нарисуйте схемы наиболее распространенных сглаживающих фильтров.
Рассмотренные схемы выпрямления переменного тока позволяют получать выпрямленное, но пульсирующее напряжение. Для питания электронных приборов пульсирующее напряжение непригодно: оно создает фон переменного тока, вызывает искажения сигналов и приводит к неустойчивой работе приборов. Для устранения пульсаций (сглаживания) применяют сглаживающие фильтры.
Сглаживающий фильтр состоит из реактивных элементов: конденсаторов и катушек индуктивности (дросселей). Сущность работы сглаживающего фильтра состоит в разделении пульсирующего тока i(t) на постоянную I0 и переменную in составляющие (рис. 12.9). Постоянная составляющая направляется в нагрузку, а нежелательная переменная замыкается через конденсатор, минуя нагрузку.

Физическая сущность работы в фильтре конденсатора и дросселя состоит в том, что конденсатор (обычно большой емкости), подключенный параллельно нагрузке, заряжается при нарастании импульсов выпрямленного напряжения и разряжается при их убывании, сглаживая тем самым его пульсации. Дроссель, наоборот, при нарастании импульсов выпрямленного тока в результате действия ЭДС самоиндукции задерживает рост тока, а при убывании импульсов задерживает его убывание, сглаживая пульсации тока в цепи нагрузки. С другой стороны, конденсатор и дроссель можно рассматривать как некие резервуары энергии. Они запасают ее, когда ток в цепи нагрузки превышает среднее значение, и отдают, когда ток стремится уменьшиться ниже среднего значения. Это и приводит к сглаживанию пульсаций.
Наиболее распространенными сглаживающими фильтрами в выпрямителях электронных приборов являются П-образные LС-фильтры (рис. 12.12, а). В них постоянная составляющая выпрямленного тока, свободно проходящая через дроссель Др, попадает затем в нагрузку и замыкается через трансформатор. Переменные составляющие, замыкаясь через большие емкости С1 и С2, в нагрузку не проходят.
При небольших токах нагрузки успешно работает Г-образный фильтр (рис. 12.12, б), а при малых токах нагрузки в качестве сглаживающего фильтра достаточно включить конденсатор (рис. 12.12, в), что и делается в переносных радиоприемниках и магнитолах. Во многих случаях дроссель заменяют резистором, что несколько снижает качество фильтрации, но зато значительно удешевляет фильтр (рис. 12.12, г, д). В наиболее ответственных случаях сглаживающий фильтр делают многозвенным, состоящим из нескольких П-образных или Г-образных LС или RС фильтров (рис. 12.12, е).

10. Для чего служит стабилизатор напряжения?
11. Каковы два основных типа стабилизаторов напряжения?
12. Нарисуйте схему простого стабилизатора напряжения на стабилитроне и объясните, как она работает.
13. Нарисуйте схему последовательного стабилизатора и объясните ее работу.
14. Нарисуйте схему параллельного стабилизатора и объясните ее работу.
Выходное напряжение выпрямителя может изменяться по двум причинам. Во-первых, может изменяться входное напряжение выпрямителя, что приводит к увеличению или уменьшению выходного напряжения. Во-вторых, может изменяться сопротивление нагрузки, что приводит к изменению потребляемого тока.
Многие электрические цепи рассчитаны на работу при определенном напряжении. Изменения напряжения могут влиять на работу цепи. Следовательно, выпрямитель должен обеспечивать выходное напряжение постоянной величины независимо от изменения нагрузки или входного напряжения. Для того чтобы этого добиться, после сглаживающего фильтра ставят стабилизатор напряжения.
Существует два основных типа стабилизаторов напряжения: параллельные и последовательные. Их названия определяются методом их соединения с нагрузкой. Параллельный стабилизатор подключается к нагрузке параллельно. Последовательный стабилизатор подсоединяется к нагрузке последовательно. Последовательные стабилизаторы более популярны, чем параллельные, так как они более эффективны и рассеивают меньшую мощность. Последовательный стабилизатор также работает в качестве управляющего устройства, защищая источник питания от короткого замыкания в нагрузке.

Рис. 12.13
На рис. 12.13 показана простая регулирующая цепь на основе стабилитрона. Это параллельный стабилизатор. Стабилитрон соединен последовательно с резистором. Входное постоянное напряжение прикладывается к стабилитрону и резистору и смещает стабилитрон в обратном направлении. Резистор позволяет протекать малому току и поддерживать стабилитрон в области пробоя. Входное напряжение должно быть выше, чем напряжение стабилизации стабилитрона. Падение напряжения на стабилитроне равно напряжению стабилизации стабилитрона. Падение напряжения на резисторе равно разности между входным напряжением и напряжением стабилизации стабилитрона.
Цепь, изображенная на рис. 12.13, обеспечивает постоянное выходное напряжение при изменениях входного напряжения. Любое изменение напряжения проявляется в виде изменения падения напряжения на резисторе. Сумма падений напряжения должна равняться входному напряжению. Выходное напряжение может быть увеличено или уменьшено путем замены стабилитрона и последовательно включенного резистора.
Ток через нагрузку определяется сопротивлением нагрузки и выходным напряжением. Через последовательно включенный резистор течет сумма тока нагрузки и тока стабилитрона. Этот резистор должен быть тщательно подобран таким образом, чтобы ток через стабилитрон удерживал его в области стабилизации.
Когда ток через нагрузку увеличивается, ток через стабилитрон уменьшается и сумма этих токов поддерживает напряжение постоянным. Это позволяет цепи поддерживать постоянное выходное напряжение при изменениях выходного тока так же, как и при изменениях входного напряжения.
31эм.17.11.14г.34эм.28.11.14г.
Лекция № 5






