3.1 Основные светотехнические характеристики.
Правильно спроектированное и рационально выполненное освещение производственных помещений оказывает положительное психофизиологическое воздействие на работающих, способствует повышению эффективности и безопасности труда, снижает утомление и травматизм, сохраняет высокую работоспособность.
Видимый свет – это электромагнитные волны с длиной волны от 770 до 380 нм (1 нм нанометр = 10-9 м). Он входит в оптическую область электромагнитного спектра, который ограничен длинами волн от 10 до 340 000 нм. Кроме видимого света в оптическую область входит ультрафиолетовое излучение (длины волн от 10 до 380 нм) и инфракрасное (тепловое) излучение (от 770 до 340 нм).
Человеческий глаз различает семь основных цветов и более сотни их оттенков.
Приблизительные границы длин волн (нм) и соответствующие им ощущения (цвета):
| 380 – 455 – фиолетовый 455 - 470 – синий 479 – 500 – голубой 500 -540 - зеленый | 540 – 590 – желтый 590 – 610 – оранжевый 610 – 770 - красный |
Наиболее благоприятно для зрительного восприятия излучение с длиной волны 555 нм (желто – зеленый) цвет.
Рассмотрим основные световые величины, позволяющие количественно описать видимое излучение (количественные характеристики).
Часть лучистого потока, воспринимаемая органом зрения человека как свет, называется световым потоком, обозначается буквой Ф и измеряется в люменах (лм). С физической точки зрения световой поток – это мощность видимого излучения, т. е. световая энергия, излучаемая по всем направлениям и за единицу времени.
Пространственную плотность светового потока называют силой света (I) и измеряют в канделах (кд). Она характеризует неравномерность распространения светового потока в пространстве.
Следующая светотехническая величина – это освещенность. Освещенностью поверхности Е называется величина, которая измеряется отношением светового потока dФ, падающего на поверхность на dS, К величине поверхности dS, т. е.:
(3.1)
Освещенность измеряется в люксах (лк).
Яркость L поверхности под углом a к нормали – это отношение силы света dIa, излучаемой, освещаемой или светящейся поверхностью в этом направлении, к площади dS проекции этой поверхности, на плоскость, перпендикулярную к этому направлению; L = dIa (d сosa), измеряется в кд × м2.
Для качественной оценки условий зрительной работы используют такие показатели как фон, контраст объекта с фоном коэффициент пульсации освещенности, показатель ослепленности.
Фон – это поверхность, на которой происходит различение объекта. Для характеристики фона используется коэффициент отражения - r.
(3.2)
где Фотр – отраженный от поверхности световой поток;
Фпад – падающий на поверхность световой поток.
В зависимости от цвета и фактуры поверхности значение коэффициента отражения находятся в пределах 0,02…0,95;
- при r > 0,4 фон считается светлым;
- при r = 0,2…0,4 – средним;
- при r < 0,2 – темным.
Контраст объекта с фоном k – степень различения объекта и фона - характеризуется соотношением яркостей рассматриваемого объекта (точки, знака, трещины и т. д.) и фона:
, (3.3)
где L0 и Lф – соответственно яркость объекта и фона.
Контраст считается большим, если k > 0,5, а k < 0,2 объект слабо заметен на фоне).
Коэффициент пульсации освещенности kE - это критерий глубины колебаний освещенности в результате изменения во времени светового потока:
, (3.4)
где Emax, Emin, Eср – максимальное, минимальное и среднее значение
освещенности за период колебаний;
для газоразрядных ламп kЕ = 25…65%, для обычных
ламп накаливания kе = 7%, для галогенных ламп kе = 1%.
Показатель ослепленности r0 – критерий оценки слепящего действия, создаваемого осветительной установкой
, (3.5)
где V1 и V2 – видимость объекта различения соответственно при
экранировании и наличии ярких источников света в
поле зрения.
Видимость V характеризует способность глаза воспринимать объект. Она зависит от освещенности, размера объекта, его яркости, контраста объекта с фоном, длительности экспозиции.
, (3.6)
где kпорог – пороговый или наименьший различимый глазом контраст,
при небольшом уменьшении которого объект становится
неразличим на этом фоне.
3.2 Система и виды производственного освещения
Различают следующие виды производственного освещения: естественное, искусственное, совмещенное.
Естественное освещение осуществляется за счет прямого и отраженного света неба. Естественное освещение с физиологической точки зрения наиболее благоприятно для человека. Естественное освещение может меняться в зависимости от географической широты, времени года и суток, степени облачности.
Конструктивно естественное освещение подразделяют на боковое, осуществляемое через световые проемы (окна); верхнее – через аэрационные фонари, проемы в кровле и перекрытиях; комбинированное – сочетание верхнего и бокового освещения.
Искусственное освещение по конструктивному исполнению может быть двух видов – общее и комбинированное. Систему общего освещения применяют в помещениях, где по всей площади выполняются однотипные работы.
При выполнении точных зрительных работ (например, слесарных, токарных), в местах где оборудование создает глубокие резкие тени или рабочие поверхности расположены вертикально, наряду с общим освещением применяют местное. Совокупность местного и общего освещения называют комбинированным освещением.
По функциональному назначению искусственное освещение подразделяют на рабочее, аварийное и специальное, которое может быть охранным, дежурным, эвакуационным, эритемным, бактерицидным и др.
Рабочее освещение предназначено для обеспечения нормального выполнения производственного процесса, прохода людей, движения транспорта и является обязательным для всех производственных помещений.
Аварийное освещение устраивают для продолжения работы в тех случаях, когда внезапное отключение рабочего освещения (при авариях) и связанное с этим нарушением нормального обслуживания оборудования могут вызвать взрыв, пожар, нарушение технологического процесса. Минимальная освещенность рабочих поверхностей при аварийном освещении должна составлять 5% нормируемой освещенности рабочего освещения, но не менее 2 лк.
Эвакуационное освещение предназначено для обеспечения эвакуации людей из производственного помещения при авариях и отключение рабочего освещения; организуется в местах, опасных для прохода людей. Минимальная освещенность на полу основных проходов и на ступеньках при эвакуационном освещении должны быть не менее 0,5 лк, на открытых территориях – не менее 0,2 лк.
Охранное освещение – устраивают вдоль границ территорий, охраняемых специальным персоналом. Наименьшая освещенность в ночное время 0,5 лк.
Сигнальное освещение – применяют для фиксации границ опасных зон, оно указывает на наличие опасности, либо на безопасный путь эвакуации.
Условно к производственному освещению относят бактерицидное и эритемное облучение помещений.
Бактерицидное облучение («освещение») создается для обеззараживания воздуха, питьевой воды, продуктов питания.
Эритемное облучение – создается в производственных помещениях, где недостаточно солнечного света (северные районы, подземные сооружения).
3.3 Нормирование производственного освещения
Естественное и искусственное освещение в помещениях регламентируется нормами СНиП 23-05-95, в зависимости от характера зрительной работы, системы и вида освещения, фона, контраста объекта с фоном. Характеристика зрительной работы (разряд зрительной работы) определяется наименьшим размером объекта различения (например, при работе с приборами – толщиной линии градуировки шкалы, при чертежных работах – толщиной самой тонкой линии). В зависимости от размера объекта различения все виды работ, связанные со зрительным напряжением, делятся на восемь разрядов, которые в свою очередь в зависимости от фона и контраста с фоном делятся на четыре подразряда.
Искусственное освещение нормируется количественными (минимальной освещенностью) и качественными показателями (показатель ослепленности, коэффициентом пульсации освещенности). Принято раздельное нормирование искусственного освещения в зависимости от применяемых источников света и системы освещения. При комбинированном освещении доля общего освещения должна быть не менее 10%. Эта величина должна быть не менее 150 лк для газоразрядных ламп и 50 лк для ламп накаливания.
Естественное освещение характеризуется тем, что создаваемая освещенность изменяется в зависимости от времени суток, года, метеорологических условий. Поэтому в качестве критерия оценки естественного освещения принята относительная величина – коэффициент естественной освещенности КЕО, не зависящий от вышеуказанных параметров. КЕО – это отношение освещенности в данной точке внутри помещения Евн к одновременному значению наружной горизонтальной освещенности Ен, создаваемой светом полностью открытого небосвода, выраженное в процентах, т. е.
, (3.7)
Принято раздельное нормирование КЕО для бокового и верхнего освещения. При боковом освещении нормируют минимальное значение КЕО в пределах рабочей зоны, которое должно быть обеспечено в точках, наиболее удаленных от окна в помещениях с верхним и комбинированным освещением – по усредненному КЕО в пределах рабочей зоны. Нормированное значение КЕО, с учетом характеристики зрительной работы, системы освещения, района расположения зданий на территории страны:

, (3.8)
где КЕО – коэффициент естественной освещенности, определяется по
СНиП 23-05-95;
m – коэффициент светового климата, определяемый в зависимости
от района расположения здания на территории страны;
с – коэффициент солнечности климата, определяемый в
зависимости от ориентации здания относительно сторон света. Коэффициенты m и с определяют по таблицам СНиП 23-05-95.
3.4 Расчет производственного освещения
Основной задачей светотехнических расчетов является для естественного освещения определение необходимой площади световых проемов; для искусственного – требуемой мощности электрической осветительной установки для создания заданной освещенности.
При естественном боковом освещении требуемая площадь световых проемов:
, (3.9)
где Sn – площадь пола помещений, м2;
eн – нормативное значение освещенности;
Еок – коэффициент световой активности оконного проема;
kзд – коэффициент, учитывающий затенение окон
противостоящими зданиями;
kз – коэффициент запаса, определяется с учетом запыленности
помещения, расположения стекол и периодичности очистки;
r - коэффициент, учитывающий влияние отраженного света,
определяется с учетом геометрических размеров помещения,
значений коэффициентов отражения стен, потолка, пола;
tобщ – общий коэффициент светопропускания, определяется в
зависимости от коэффициента светопропускания стекол,
потерь света в переплетах окон, слоя его загрязнения, наличие несущих и солнцезащитных конструкций перед окнами.
При проектировании искусственного освещения необходимо выбрать тип источника света, систему освещения, вид светильника, наметить целесообразную высоту установки светильников и размещения их в помещении; определить число светильников и мощность ламп, необходимых для создания нормируемой освещенности на рабочем месте и в заключении проверить намеченный вариант освещения на соответствие его нормативным требованиям.
Расчет общего равномерного искусственного освещения горизонтальной рабочей поверхности выполняется методом коэффициента использования светового потока.
Световой поток одной лампы или светильника рассчитывается:
, (3.10)
где Ен – нормируемая минимальная освещенность по
СНиП 23-05-95, лк;
S – площадь освещаемого помещения, м2;
Z – коэффициент неравномерности освещения, обычно Z = 1,1 ¸ 1,2
в зависимости от типа лампы и разряда зрительных работ;
kз – коэффициент запаса, зависящий от вида технологического
процесса и типа лампы, обычно kз = 1,3 ¸ 1,8;
n – число светильников в помещении;
h - коэффициент использования светового потока.
Коэффициент использования светового потока, давший название методу расчета, определяют по СНиП 23-05-95 в зависимости от типа светильника, отражательной способности стен, потолка, пола, размеров помещения, определяемых индексом помещения:
, (3.11)
где А,В – длина и ширина помещения, м;
Н – высота подвеса светильников над рабочей поверхностью, м.
Упрощенной формой метода коэффициента является метод расчета по удельной мощности.
Расчетная формула имеет вид:
, (3.12)
где N – количество светильников;
w - удельная мощность осветительной установки, Вт/м2;
n – количество ламп в светильнике;
Pn – номинальная мощность одной лампы, Вт;
S – освещаемая площадь, м2.
Значение удельной мощности приведены в справочной литературе (²Справочник для проектирования электрического освещения²).
Точечный метод служит для расчета как угодно расположенных поверхностей и при любом распределении освещенности. Этот метод более точен, чем метод коэффициента использования и рекомендуется для расчета: общего равномерного освещения при повышенных требованиях к точности расчета; общего локализованного освещения, комбинированного освещения.
Расчетная формула для определения светового потока кругло симметричного точечного источника света имеет вид:
, (3.13)
где Е – освещенность в расчетной точке, лк;
kз – коэффициент запаса;
m - коэффициент, учитывающий влияние удаленных светильников и отраженного света, m = 1,1;
Sei – суммарная условная горизонтальная освещенность, создаваемая ближайшими светильниками в расчетной точке (справочная величина).
ЛЕКЦИЯ 4. ЭЛЕКТРОБЕЗОПАСНОСТЬ
4.1.Воздействие электрического тока на организм человека.
Проходя через организм человека, электрический ток оказывает термическое, электролитическое и биологическое действие.
Термическое действие заключается в нагреве и ожогах и различных частей и участков тела человека.
Электролитическое - в изменении состава (разложение) и свойств крови и других органических жидкостей.
Биологическое – выражается в раздражении и возбуждении живых тканей организма и в нарушении протекания в нем различных внутренних биоэлектрических процессов. Примером таких нарушений может служить прекращение процесса дыхания и остановка сердца.
Электротравмы принято делить на общие (электрические удары) и местные.
Местные электротравмы – это электрические ожоги, электрические знаки на коже, металлизация кожи, механические повреждения и электроофтальмия.
Электрические ожоги вызываются протеканием тока через тело человека, особенно при непосредственном контакте тела с электрическим проводом, а также под воздействием на тело человека электрической дуги (дуговой ожог), температура которой достигает нескольких тысяч градусов.
Электрической дугой называют длительный самостоятельный электрический разряд в газах, поддерживающийся за счет термоэлектронной эмиссии с отрицательно заряженного электрода – катода.
На коже в тех местах, где проходил электрический ток, появляются электрические знаки, представляющие собой пятна серого и бледно-желтого цвета. Эти пятна, как правило, излечиваются, и с течением времени пораженная кожа приобретает нормальный вид.
Под воздействием электрической дуги в верхние слои кожи человека могут проникнуть мелкие расплавленные частицы металла. Такая электротравма носит название металлизация кожи и встречается приблизительно у каждого десятого пострадавшего.
Довольно редко могут возникнуть механические повреждения органов и тканей (разрывы кожи, тканей, вывихи, переломы костей и др.) в результате судорожных сокращений мышц, электродинамического удара.
Еще одним видом местной электротравмы является электроофтальмия – возникающее под действием ультрафиолетового излучения электрической дуги воспаление наружных оболочек глаз.
Более трети всех электротравм приходится на электрический удар, под которым понимают возбуждение живых тканей организма электрическим током проходящим через него, сопровождающееся судорожными сокращениями мышц тела. По тяжести последствий электроудары делят на четыре степени:
Первая - судорожное сокращение мышц без потери сознания;
Вторая – судорожное сокращение мышц с потерей сознания; дыхание и деятельность сердца сокращаются;
Третья – потеря сознания, нарушение сердечной деятельности и дыхание или того и другого;
Четвертая – клиническая смерть, т. е. отсутствие дыхания и кровообращения.
Следует различать понятие клинической смерти (мнимой) и биологической (истинной) смерти.
У здоровых людей, подвергшихся воздействию электрического тока, длительность клинической смерти составляет 7-8 минут. За этот период средствами современной медицины (реанимации) возможно оживление организма. В более поздние сроки в клетках и тканях организма возникают необратимые изменения, т.е. наступает биологическая (истинная) смерть.
Последствия действия тока на организм человека зависят от силы тока (основной фактор), длительности его действия, рода и частоты тока, пути тока в теле человеками индивидуальных свойств человека.
Важной характеристикой, определяющей исход воздействия тока, является электрическое сопротивление тела человека, которое является суммой сопротивления кожи и сопротивление внутренних тканей. Ток, проходящий через тело человека Ιчел, (А), условно определяют по закону Ома:
Ιчел = Uпр / Rчел (4.1)
где Uпр – приложенное напряжение; В;
Rчел – сопротивление тела человека, Ом;
Для расчетов обычно принимают, что Rчел = 1000 Ом. Основное сопротивление распространению тока оказывает кожа человека.
Переменный ток опаснее постоянного, однако, при высоком напряжении (более 500 В) опаснее постоянный ток. Из возможных путей протекания тока через тело человека (голова – рука, голова – ноги, рука – рука, нога – нога, и т.д.) наиболее опасен тот, при котором поражается головной мозг (голова – руки, голова – ноги), сердце и легкие (руки – ноги). Неблагоприятный микроклимат (повышенная температура, влажность) увеличивает опасность поражения током, так как влага (пот) понижает сопротивление кожных покровов. Нездоровье, утомление, голод, опьянение, эмоциональное возбуждение приводят также к снижению сопротивления человека.
Таблица 4.1.Характер воздействия тока на человека (путь тока рука–нога, напряжение 220 В)
| Ток мА | Переменный ток, 50 Гц | Постоянный ток |
| 0,6 1,5 2,0 2,5 5,0 7,0 8,0 10,0 20,0 25,0 50,0 80,0 90,0 100,0 300,0 | Начало ощущения, легкое дрожание пальцев Начало болевых ощущений Начало судорог в руках Судороги в руках, трудно, но можно оторваться от электродов Сильные судороги и боли, неотпускающий ток, дыхание затруднено Паралич дыхания Фибрилляция сердца при действии тока в течение 2-3 с, паралич дыхания То же, за меньшее время | Ощущений нет То же Зуд, ощущение нагрева Усиление ощущения нагрева Судороги рук, затруднение дыхания То же Паралич дыхания при длительном протекании тока Фибрилляция сердца через 2-3 с. паралич дыхания |
Допустимым считается ток, при котором человек может самостоятельно освободиться от электрической цели.
Если человек не может самостоятельно оторваться от токоведущих частей, то ток считается неотпускающим.
Фибриляционным называют токи, вызывающие быстрые хаотические и разновременные сокращения волокон сердечной мышцы (фибрилл), в результате чего сердце теряет способность перекачивать кровь., в организме прекращаются процессы кровообращения и дыхания, наступает смерть.
Степень поражения электрическим током зависит также от частоты тока (для переменного тока) Переменный ток с частотой от 20 – 100 Гц наиболее опасен для человека. Токи с частотой выше 500000 Гц могут вызвать лишь термические ожоги и не оказывают раздражающего действия на ткани организма.
4.2.Классификация помещений по степени опасности поражения электрическим током.
Для учета условий, в которых находится работающий, все помещения принято делить по степени опасности поражения током на три категории: без повышенной опасности; с повышенной опасностью; особо опасные.
Помещениями без повышенной опасности называют сухие (с относительной влажностью воздуха, не превышающей 60 %), безпыльные, с нормальной температурой воздуха и с изолирующим (например, деревянными) полами. К ним относятся жилые помещения и такие производственные помещения, как цеха приборных предприятий и радиозаводов, лаборатории и конструкторские бюро, заводоуправления и др.
Для помещений с повышенной опасностью характерно наличие одного из следующих условий:
сырость (помещение называют сырыми, если относительная влажность в них превышает 75 %);
токопроводящая пыль (металлическая), токопроводящие полы – металлические, земляные, железобетонные, кирпичные;
высокая температура, длительно превышающая 35 оС или кратковременно 40 оС;
возможность одновременного прикосновения к металлическим деталям и корпусам электрооборудования, которые при повреждении могут оказываться под напряжением, и заземленным металлоконструкциям. Примером таких помещений могут служить лестничные клетки различных зданий с токопроводящими полами, цеха механической обработки материалов, складские неотапливаемые помещения и др.
Особо опасные помещения характеризуются наличием одного из следующих условий:
- особая сырость (стены, пол и потолок таких помещений покрыты влагой; относительная влажность воздуха в них близка к 100%);
- наличие химически активной (агрессивные газы, пары, жидкости) или органической (плесень и т. д.) среды, которые разрушающе действуют на электроизоляцию и токоведущие части электрооборудования.
При наличии двух и более условий повышенной опасности (например, высокая температура и токопроводящая пыль) в помещении его следует относить к особо опасным. Примером таких помещений могут служить помещения гальванических цехов, моечные отделения, замкнутые металлические емкости, в которых производится работа и др.
Человек может получить электротравму в следующих случаях:
- при двухфазном прикосновении, т.е. при одновременном прикосновении к двум фазам сети переменного тока;
- при двухполюсном прикосновении, т.е. при одновременном прикосновении к двум полюсам сети постоянного тока;
- при приближении на опасные расстояния к неизолированным токопроводящим частям, находящимся под напряжением;
в результате прикосновения к оболочке (корпусу) электрооборудования, оказавшейся под напряжением;
- в результате попадания под напряжение шага в зоне растекания тока;
- при воздействии атмосферного электричества, грозовых разрядов и статического электричества или электрической дуги.
4.3. Защита человека от поражения электрическим током.
Безопасность при работе с электроустановками обеспечивается применением различных технических и организационных мер. Они регламентированы действующими правилами устройства электроустановок (ПУЭ). Технические средства защиты от поражения электрическим током делятся на коллективные и индивидуальные, на средства, предупреждающие прикосновение людей к элементам сети, находящимся под напряжением, и средства, которые обеспечивают безопасность, если прикосновение все-таки произошло.
Основные способы и средства электрозащиты:
изоляция токопроводящих частей и ее непрерывный контроль;
установка оградительных устройств;
предупредительная сигнализация и блокировки;
использование знаков безопасности и предупреждающих плакатов;
использование малых напряжений;
электрическое разделение сетей;
выравнивание потенциалов;
зануление;
защитное отключение;
средства индивидуальной электрозащиты.
Изоляция токопроводящих частей - одна из основных мер электробезопасности. Согласно ПУЭ сопротивление изоляции токопроводящих частей электрических установок относительно земли должно быть не менее 0,5—10 МОм1. Различают рабочую, двойную и усиленную рабочую изоляцию.
Рабочей называется изоляция, обеспечивающая нормальную работу электрической установки и защиту персонала от поражения электрическим током. Двойная изоляция, состоящая из рабочей и дополнительной, используется в тех случаях, когда требуется обеспечить повышенную электробезопасность оборудования (например, ручного электроинструмента, бытовых электрических приборов и т.д.). Сопротивление двойной изоляции должно быть не менее 5 МОм, что в 10 раз превышает сопротивление обычной рабочей. В ряде случаев рабочую изоляцию выполняют настолько надежно, что ее электросопротивление составляет не менее 5 МОм и потому она обеспечивает такую же защиту от поражения током, как и двойная. Такую изоляцию называют усиленной рабочей изоляцией.
Неизолированные токопроводящие части электроустановок, работающих под любым напряжением, должны быть надежно ограждены или расположены на недоступной высоте, чтобы исключить случайное прикосновение к ним человека. Конструктивно ограждения изготавливают из сплошных металлических листов или металлических сеток.
Для предупреждения об опасности поражения электрическим током используют различные звуковые, световые и цветовые сигнализаторы, устанавливаемые в зонах видимости и слышимости персонала. Кроме того, в конструкциях электроустановок предусмотрены блокировки — автоматические устройства, с помощью которых преграждается путь в опасную зону или предотвращаются неправильные, опасные для человека действия. Блокировки могут быть механические (стопоры, защелки, фигурные вырезы), электрические или электромагнитные. Для информации персонала об опасности служат предупредительные плакаты, которые в соответствии с назначением делятся на предостерегающие, запрещающие, разрешающие и напоминающие. Части оборудования, представляющие опасность для людей, окрашивают в сигнальные цвета и на них наносят знак безопасности. Красным цветом окрашивают кнопки и рычаги аварийного отключения электроустановок.
Для уменьшения опасности поражения током людей, работающих с переносным электроинструментом и осветительными лампами, используют малое напряжение, не превышающее 42 В. В ряде случаев, например, при работе в металлическом резервуаре, для питания ручных переносных ламп используют напряжение 12 В.
Для повышения безопасности проводят электрическое разделение сетей на отдельные короткие электрически не связанные между собой участки с помощью разделяющих трансформаторов. Такие разделенные сети обладают малой емкостью и высоким сопротивлением изоляции. Раздельное питание используют при работе с переносными электрическими приборами, на строительных площадках, при ремонтах на электростанциях и др.
При замыканиях тока на конструктивные части электрооборудования (замыкание на корпус) на них появляются напряжения, достаточные для поражения людей или возникновения пожара. Осуществить защиту от поражения электрическим током и возгорания в этом случае можно тремя путями: защитным заземлением, занулением и защитным отключением.
Защитное заземление - это преднамеренное соединение с землей или ее эквивалентом металлических нетоковедущих частей электрооборудования, которые в обычном состоянии не находятся под напряжением, но могут оказаться под ним при случайном соединении их с токоведущими частями.
Если произошло замыкание и корпус электроустановки оказался под напряжением, то прикоснувшийся к нему человек попадает под напряжение прикосновения (Uпр), которое определяется выражением:
U пр = Uз - Uх (4.2)
где Uз - полное напряжение на корпусе электроустановки, В;
Uх — потенциал поверхности земли или пола, В.
Таким образом, напряжением прикосновения называется напряжение между двумя точками цепи тока, которых одновременно может коснуться человек.
Рассмотрим схему действия защитного заземления на примере трехфазной сети с изолированной нейтралью. Рис 4.1.

Rиз - сопротивление изоляции каждой из фаз относительно земли
Рисунок 4.1- Схема работы защитного заземления
Обязательно заземляют электроустановки, работающие под напряжением 380 В и выше переменного тока и питающиеся от источника постоянного тока с напряжением 440 В и выше. Кроме того, в помещениях повышенной и особой опасности заземляют установки с напряжением от 42 до 380 В переменного тока и от 110 до 440 В постоянного тока.
Заземляющее устройство — это совокупность заземлителя - металлических проводников, соприкасающихся с землей, и заземляющих проводников, соединяющих заземляемые части электроустановки с заземлителем. В зависимости от взаимного расположения заземлителей и заземляемого оборудования различают выносные и контурные заземляющие устройства. Первые из них характеризуются тем, что заземлители вынесены за пределы площадки, на которой размещено заземляемое оборудование, или сосредоточены на некоторой части этой площадки. Рис. 4.2.

1 — заземлители; 2 — заземляющие проводники; 3 — заземляемое оборудование; 4 — производственные здания
Рисунок 4.2- Схема выносного заземления
Контурное заземляющее устройство, заземлители которого располагаются по контуру (периметру) вокруг заземляемого оборудования на небольшом расстоянии друг от друга (несколько метров), обеспечивает лучшую степень защиты, чем предыдущее.
Защитное зануление предназначено для защиты в трехфазных четырехпроводных сетях с глухозаземленной нейтралью, работающих под напряжением до 1000 В, так как в этих сетях использование защитного заземления неэффективно. Обычно это сети 220/127, 380/220 и 660/380 В.
Занулением называют способ защиты от поражения током автоматическим отключением поврежденного участка сети и одновременно снижением напряжения на корпусах оборудования на время пока не сработает отключающий аппарат (плавкие предохранители, автоматы и др.) Зануление - это преднамеренное соединение с нулевым защитным проводником металлических нетокопроводяших частей, которые могут оказаться под напряжением. Рис. 4.3.

1 - нулевой защитный проводник; 2 — срабатываемый элемент защиты;
3 — повторное заземление нулевого провода
Рисунок.4.3.Схема работы зануления
Проводник (1), который соединяет зануляемые части электроустановки с глухозаземленной нейтральной точкой обмотки трансформатора, называют нулевым защитным. Назначение этого проводника заключается в создании для тока короткого замыкания электрической цепи с малым электросопротивлением (цепь обозначена на рисунке цифрами I - II - III -IV - V), чтобы данный ток был достаточен для быстрого отключения повреждения от сети. Это достигается срабатыванием элемента защиты сети от тока короткого замыкания (на рисунке этот элемент обозначен цифрой 2).
Цепь зануления I - II - III - IV - V имеет очень малое электрическое сопротивление (доли Ом). Ток короткого замыкания, возникающий при замыкании на корпус и проходящий по цепи зануления, достигает большого значения (нескольких сотен ампер), что обеспечивает быстрое и надежное срабатывание элементов защиты.
Для устранения опасности обрыва нулевого провода устраивают его повторное многократное рабочее заземление через каждые 250 м.
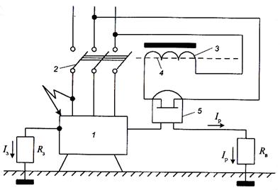
Еще одна система зашиты — защитное отключение — это защита от поражения электрическим током в электроустановках, работающих под напряжением до 1000 В, автоматическим отключением всех фаз аварийного участка сети за время, допустимое по условиям безопасности для человека.
Основная характеристика этой системы — быстродействие, оно не должно превышать 0,2 с. Принцип защиты основан на ограничении времени протекания опасного тока через тело человека. Существуют различные схемы защитного отключения, одна из них, основанная на использовании реле напряжения, представлена на Рис. 4.4.

1 — корпус электроустановки; 2 — автоматический выключатель;
3 — отключающая катушка; 4 — сердечник катушки; 5 — реле максимального напряжения; Rз— сопротивление защитного заземления; Iз — ток замыкания; Iр — ток, протекающий через реле; Rв — сопротивление вспомогательного заземления
Рисунок. 4.4. Схема защитного отключения
Защитное отключение рекомендуется применять:
- в передвижных установках напряжением до 1000 В;
- для отключения электрооборудования, удаленного от источника питания, как дополнение к занулению;
- в электрифицированном инструменте как дополнение к защитному заземлению или занулению;
- в скальных и мерзлых грунтах при невозможности выполнить необходимое заземление.
Рассмотрим кратко организационные мероприятия, обеспечивающие безопасную эксплуатацию электроустановок. К ним относятся оформление соответствующих работ нарядом или распоряжением, допуск к работе, надзор за проведением работ, строгое соблюдение режима труда и отдыха, переходов на другие работы и окончания работ.
В ряде случаев существенную опасность для человека представляет статическое электричество, под которым понимают совокупность явлений, связанных с возникновением, сохранением и релаксацией (ослаблением) свободного электрического заряда на поверхности и в объеме диэлектрических веществ, материалов, изделий или на изолированных проводниках. Протекание различных технологических процессов, таких, как измельчение, распыление, фильтрование и другие, сопровождается электризацией материалов и оборудования, причем возникающий на них электрический потенциал достигает значений тысяч и десятка тысяч вольт. Воздействие статического электричества на организм человека проявляется в виде слабого длительно протекающего тока либо в форме кратковременного разряда через тело человека, в результате чего может произойти несчастный случай.
Вредное воздействие на организм человека электрическое поле повышенной напряженности. Оно вызывает функциональные изменения центральной нервной, сердечнососудистой и некоторых других систем организма.
Защиту от статического электричества осуществляют по двум основным направлениям: уменьшение генерации электрических зарядов и устранение зарядов статического электричества. Для реализации первого направления необходимо правильно подбирать конструкционные материалы, из которых изготавливаются машины, агрегаты и прочее технологическое оборудование. Эти материалы должны быть слабо электризующимися или неэлектризующимися. Например, синтетический материал, состоящий на 40% из нейлона и 60% дакрона, не электризуется при трении о хромированную поверхность.
Для снятия зарядов статического электричества с поверхности технологического оборудования его обязательно заземляют.
Кроме перечисленных способов защиты от статического электричества большое значение имеет снижение удельного поверхностного электрического сопротивления перерабатываемых материалов. Это достигается повышением относительной влажности в помещении, где производится обработка поглощающих воду материалов (древесины, бумага, хлопчатобумажной ткани и др.), до 65—70%, нанесением на их поверхность специальных антистатических составов, введением в состав твердых диэлектриков электропроводящих материалов (графита, углеродных волокон, алюминиевой пудры и т.д.). Существуют и другие методы защиты от статического электричества.
4.4. Оказание первой помощи пораженному электрическим током
Рассмотрим основные вопросы, касающиеся оказания первой помощи от воздействия электрического тока. Эта помощь состоит из двух этапов: освобождение пострадавшего от воздействия электрического тока и оказание ему первой помощи.
Если человек прикоснулся к токопроводящей части электроустановки и не может самостоятельно освободиться от воздействия тока, то присутствующим необходимо оказать ему помощь. Для этого следует быстро отключить электропроводку с помощью выключателя, рубильника и т.д. Если быстро отключить электроустановку от сети невозможно, оказывающий должен отделить пострадавшего от токопроводящей части. При этом следует иметь в виду, что без применения мер предосторожности нельзя прикасаться к человеку, находящемуся в цепи тока, так как можно самому попасть под напряжение действовать следует таким образом.
Если пострадавший попал под действие напряжения до 1000В токопроводящую часть от него можно отделить сухим канатом, палкой или доской или оттянуть пострадавшего за одежду, если она сухая. Руки оказывающего помощь следует защитить диэлектрическими перчатками, на ноги необходимо надеть резиновую обувь или встать на изолирующую подставку (сухую доску). Если перечисленные меры не дали результата, допускается перерубить провод топором с сухой деревянной рукояткой или перерезать его другим инструментом с изолированными ручками.
При напряжении, превышающем 1000В, лица, оказывающие помощь, должны работать в диэлектрических перчатках и обуви и оттягивать пострадавшего от провода специальными инструментами, предназначенными для данного напряжения (штангой или клещами). Рекомендуется также накоротко замкнуть все провода линии электропередачи, набросив на них соединенный с землей провод.
После освобождения пострадавшего от воздействия электрического тока ему оказывают доврачебную медицинскую помощь. Если получивший электротравму находится в сознании, ему необходимо обеспечить полный покой до прибытия врача или срочно доставить в лечебное учреждение. Если человек потерял сознание, но дыхание и работа сердца сохранились, пострадавшего укладывают на мягкую подстилку, расстегивают пояс и одежду, обеспечивая тем самым приток свежего воздуха, и дают нюхать нашатырный спирт, обрызгивают лицо холодной водой, растирают и согревают тело.
При редком и судорожном, а также ухудшающемся дыхании пострадавшему делают искусственное дыхание. При отсутствии признаков жизни искусственное дыхание сочетают с наружным массажем сердца.
В заключение главы укажем, что измерения уровня тока, напряжения, сопротивления, мощности и других параметров сети, осуществляемые с целью обеспечения безопасности работающих на электроустановках, проводят с использованием обычных амперметров, вольтметров, омметров, ваттметров и других приборов. Конструкции, принципы работы, области применения и методики измерений соответствующих электрических величин рассматриваются в курсах физики и электротехники.
ЛЕКЦИЯ 5 ЗАЩИТА ОТ ШУМА, УЛЬТРА И ИНФРАЗВУКА, ВИБРАЦИИ.
5.1 Действие шума, ультра и инфразвуки на организм человека.
Эксплуатация современного промышленного оборудования и средств транспорта сопровождается значительным уровнем шума и вибрации, негативно влияющих на состояние здоровья работающих. С точки зрения безопасности труда шум и вибрация – один из наиболее распространенных вредных производственных факторов на производстве, которые могут выступить как опасные производственные факторы.
Шум – это сочетание звуков различной частоты и интенсивности, неблагоприятно воздействующих на человека и мешающих восприятию полезных сигналов.
Физическое понятие об акустических колебаниях охватывает как слышимые, так и неслышимые колебания упругих сред.
Акустические колебания в диапазоне от 16 Гц до 20 кГц воспринимаемые человеком с нормальным слухом, называют звуковым, с частотой менее 16 Гц - инфразвуковыми, выше 20 кГц – ультразвуковыми.
Распространяясь в пространстве, звуковые колебания создают акустическое поле.
Ухо человека может воспринимать и анализировать звуки в широком диапазоне частот и интенсивностей.
Область слышимых звуков ограничена двумя пороговыми кривыми:
нижняя – порог слышимости;
верхняя – порог болевого ощущения.
Порог слуха молодого человека составляет 0 Дб на частоте 1000 Гц, на частоте 100 Гц порог слухового восприятия значительно выше, так как ухо менее чувствительно к звукам низких частот. Характеристики порога слышимости на частоте 1000 Гц составляют звуковое давление Ро = 2 х 10-5 Па и интенсивности звука Uо = 10 -12 Вт/м2.
Болевым порогом принято считать звук с уровнем 140 Дб, что соответствует звуковому давлению 200 Па и интенсивности 100 Вт/м2.
Для гигиенической оценки шума принято измерять не абсолютные значения его интенсивности U или звукового давления Р, а их уровни, т.е. логарифмы отношений этих величин к порогу слышимости Uо (Ро) на частоте 1000 Гц.
Уровни интенсивности и звукового давления измеряются в Дб (децибелах).
(5.1)
Lp = 20 lg P/Po (5.2)
Шум с уровнем звукового давления до 30 - 35 Дб привычен для человека и не беспокоит его. Повышение этого уровня до 40 - 70 Дб в условиях среды обитания создает значительную нагрузку на нервную систему, вызывая ухудшение самочувствия, и длительном действии может быть причиной неврозов.
Воздействие шума уровнем свыше 75 Дб может привести к потере слуха – профессиональной тугоухости. При действии шума высоких уровней (более 140 Дб) возможен разрыв барабанных перепонок, контузия, а еще при более высоких (более 160 Дб) и смерть.
Окружающие человека шумы имеют разную интенсивность: разговорная речь 50 - 60 ДбА, автосирена 100 ДбА, шум двигателя легкового автомобиля 80 ДбА, громкая музыка 70 ДбА, шум в обычной квартире 30 - 40 ДбА.
Интенсивный шум на производстве способствует снижению внимания и увеличению числа ошибок при выполнении работы, оказывает сильное влияние на быстроту реакции, сбор информации и аналитические процессы, из-за шума снижения производительность туда и ухудшается качество работы.
Шум оказывает влияние на весь организм человека: угнетает ЦНС, вызывает изменение скорости дыхания и пульса, способствует нарушению обмена веществ, возникновению сердечно-сосудистых заболеваний, гипертонической болезни, приводит к профессиональным заболеваниям.
Исходя из вредности воздействия, шумы классифицируются:
- по частному составу: низкочастотные с частотой ниже 350 Гц, среднечастотные с частотой от 350-800 Гц, высокочастотные свыше 800Гц.
- по ширине спектра: широкополосные – спектр звуков охватывает все частоты слухового диапазона; тональные - шум, в котором прослушивается звук определенной частоты; импульсивные – воспринимаемые как следующие друг за другом удары.
- по временным характеристикам: постоянные (шумы, уровень, которых за 8 ч. рабочий день изменяется во времени не более чем на 5 ДбА); непостоянные (более чем на 5ДбА при измерениях по шкале А на временной характеристике шумомера, медленно).
Непостоянные шумы в свою очередь делятся на колеблющиеся, прерывистые и импульсивные;
- по длительности действия- продолжительность, действующие на человека более 4 ч. за смену и кратковременные- менее 1,5 ч. за смену.
- по причинам возникновения шумы могут быть: механические, возникающие при трении различных механизмов, деталей и т. д.; гидравлические (шум воды в трубах, резервуарах); аэродинамические (выхлопы газов); ударные (при ударных операциях- клёпке, штамповке, ковке).
Нормируемые параметры шума на рабочих местах определены ГОСТ 12.1.003-83 и Санитарными нормами СН 2.2.4/2. 1.8.562-96 «Шум на рабочих местах, в помещениях жилых, общественных зданий и на территории жилой застройки». Документы дают классификацию шумов по спектру на широкополосные и тональные, а по временным характеристикам – на постоянные и непостоянные. Для нормирования постоянных шумов применяют допустимые уровни звукового давления (УЗД) в девяти октавных полосах частот (от 31,5 до 8000Гц) в зависимости от вида производственной деятельности. Для ориентировочной оценки в качестве характеристики постоянного широкополосного шума на рабочих местах допускается принимать уровень звука (ДбA), определяемый по шкале А шумомера с коррекцией низкочастотной составляющей по закону чувствительности органов слуха и приближениям результатов объективных измерений и субъективному восприятию. Оценивать и прогнозировать потери слуха, связанные с действием производственного шума, дает стандарт ИСО 1999:
«Акустика- определение профессиональной экспозиции шума и оценки нарушений слуха, вызванных шумом».
Ультразвук - упругие волны c частотой колебания свыше 20 кГц, такая частота колебательного процесса способствует большему затуханию колебаний вследствие трансформации энергии в теплоту.
По частотному спектру ультразвук классифицируется на:
- низкочастотный – с частотой колебаний 1,12 х 104 – 1,0 х 105 Гц;
- высокочастотный 1,0 х 105 – 1,0 х 109Гц;
По способу распространения – на воздушный и контактный.
Низкочастотные ультразвуковые колебания хорошо распространяются в воздухе. Биологический эффект воздействия их на организм зависит от интенсивности, длительности воздействия и размеров поверхности тела, подвергаемой действию ультразвука.
Длительное систематическое влияние ультразвука, распространяющегося в воздухе, вызывает функциональные нарушения нервной, сердечно – сосудистой и эндокринной систем, слухового и вестибулярного анализаторов. У работающих на ультразвуковых установках отмечают выраженную астению, сосудистую гипотонию, снижение электрической активности сердца и мозга. Изменение ЦНС в начальной фазе проявляются нарушением рефлекторных функций мозга (чувство страха в темноте, ограниченном пространстве, резкие приступы с учащением пульса, чрезмерной потливостью). Наиболее характерны вегетососудистая дистония с жалобами на резкое утомление, головные боли и чувство давления в голове, затруднения при концентрации внимания, торможение мыслительного процесса, бессонницу.
Контактное воздействие высокочастотного ультразвука на руки приводит к нарушению капиллярного кровообращения в кистях рук, снижение болевой чувствительности.
Гигиенические нормативы ультразвука определены ГОСТ 12.1.001 – 89. Гигиенической характеристикой воздушного ультразвука на рабочих местах являются уровни звукового давления (Дб) в третьоктавных полосах со среднегеометрическими частотами от 12,5 до 100 КГц. Характеристикой контактного ультразвука является пиковое значение виброскорости или его логарифмические уровни.
Инфразвук – область акустических колебаний с частотой ниже 16 Гц. При воздействии инфразвука на организм уровнем 110-150 Дб могут возникать неприятные субъективные ощущения и многочисленные реактивные нарушения: изменение в ЦНС, дыхательной и сердечно – сосудистой системах, вестибулярном аппарате. Отмечают жалобы на головные боли, головокружение, осязаемые движения барабанных перепонок, звон в ушах и голове, сонливость, специфическая реакция на действие инфразвука – нарушение равновесия.
Гигиеническая регламентация инфразвука производится по санитарным нормам СН 2.2.4/2.1.8.583 – 96, которые задают предельно допустимые уровни звукового давления (УЗД) на рабочих местах для различных видов работ, а также в жилых и общественных помещениях и на территории жилой застройки.
5.2. Защита от шума.
Звукопоглощение. Для уменьшения отраженного звука применят защитные устройства, обладающие большими значениями коэффициента поглощения, к ним относятся, например, пористые и резонансные поглотители.
Звуковые волны, падающие на пористый материал, приводят воздух в порах материала и скелет материала в колебательные движения, при которых происходит вязкое трение и переход звуковой энергии в теплоту.
Пористые поглотители изготовляют из органических и минеральных волокон (шерсть, кокс, древесная масса), а также из пенопласта с открытыми порами.
Резонансные поглотители имеют воздушную полость, соединенную отверстием с окружающей средой. Снижение шума происходит за счет взаимного погашения падающих и отраженных волн.
Резонансным поглотителем является также перфорированный экран с отверстиями затянутыми тканью или мелкой сеткой, который существенно меняют характер поглощения.
Звукоизоляция. Звукоизоляция – уменьшение уровня шума с помощью защитного устройства, которое устанавливается между источником и приемником и имеет большую отражающую и поглощающую способность.
Например, защитным устройством является кожух, которым закрывают машины и механизмы, или кабина, в которой находится оператор, управляющий рабочим процессом. Стенки кожухов и кабин изготовляют из листового проката и покрывают изнутри звукопоглощающим материалов.
Во время рабочего цикла ряда установок (компрессоров, двигателей внутреннего сгорания, турбин и т.д.) через специальные отверстия происходит истечение отработавших газов в атмосферу и (или) всасывание воздуха из атмосферы, при этом генерируется сильный шум. В этих случаях для снижения шума используют глушители.
Средства защиты органов слуха. Существуют различные типы средств защиты органов слуха: беруши и наушники. Беруши делают из различных материалов, при использовании их втыкают в уши. Одноразовые беруши следует использовать только один раз. Наушники состоят из двух чашечек, соединенных дужкой. Правильное и постоянное применение средств защиты слуха снижает шумовую нагрузку для берушей на 10 – 20, для наушников на 20 – 30 ДбА.
5.3 Вибрация.
Вибрация – это малые механические колебания, возникающие в упругих телах.
Воздействие вибрации на человека классифицируют:
по способу передачи колебаний;
по направлению действия вибрации;
по временной характеристике вибрации.
В зависимости от способа передачи колебаний вибрацию подразделяют на:
- общую, передающуюся через опорные поверхности на тело сидящего или стоящего человека;
- локальную, передающуюся через руки человека.
По направлению действия вибрацию подразделяют на:
вертикальную, распространяющуюся по оси «Х», перпендикулярной к опорной поверхности;
горизонтальную, распространяющуюся по оси «Y», от спины к груди;
горизонтальную, распространяющуюся по оси «Z», от правого плеча к левому плечу.
По временной характеристике различают:
- постоянную вибрацию, для которой контролируемый параметр за время наблюдения изменяется не более чем в 2 раза;
- непостоянную вибрацию, изменяющуюся по контролируемым параметрам более чем в 2 раза.
Действие вибрации на человека зависит от:
- частоты и амплитуды колебаний;
- продолжительности воздействия;
- места приложения и направления оси вибрационного воздействия;
- явлений резонанса.
Резонанс человеческого тела, отдельных его органов наступает под действием внешних сил при совпадении собственных частот колебаний внутренних органов с частотами внешних сил.
Особое значение резонанс приобретает по отношению к органам зрения. Расстройство зрительных восприятий проявляется в частотном диапазоне между 60-90 Гц, что соответствует резонансу глазных яблок. Для органов расположенных в грудной клетке и брюшной полости, резонансными являются частоты 3 – 3,5 Гц. Для всего тела в положении сидя резонанс поступает на частотах 4 – 6 Гц.
При воздействии на организм общей вибрации страдает в первую очередь нервная система и анализаторы: вестибулярный, зрительный, тактильный.
Вибрационная болезнь от воздействия общей вибрации регистрируется у водителей транспорта, на заводах железобетонных изделий. В целом картина воздействия общей низко- и среднечастотной вибрации выражается общими вегетативными расстройствами с периферическими нарушениями, преимущественно в конечностях, снижением сосудистого тонуса и чувствительности.
Бич современного производства – локальная вибрация. Локальной вибрации подвергаются главным образом люди, работающие с ручным механизированным инструментом. Локальная вибрация вызывает спазмы сосудов кисти, предплечий, нарушая снабжение конечностей кровью. Одновременно колебания действуют на нервные окончания, мышечные и костные ткани, вызывают снижение кожной чувствительности, отложение солей в суставах пальцев, деформируя и уменьшая подвижность суставов.
Основные методы защиты от вибрации делятся на две большие группы:
- снижение вибрации в источниках возникновения;
- уменьшение параметров вибрации по пути ее распространения от источника;
Для того чтобы снизить вибрацию в источнике ее возникновения, необходимо уменьшить действующие в системе переменные силы. Это достигается заменой технологических процессов (например, ковку и штамповку рекомендуется заменять прессованием).
Отстройка от резонансных частот достигается тщательной балансировкой вращающих механизмов.
Следующий метод защиты от вибрации называется вибродемпфированием, под которым понимают увеличение в конструкциях сил трения, это достигается нанесением вибропоглощающих покрытий (резина, пластмасса, различные мастики).
Виброгашение - достигается установкой вибрирующих машин на прочные массивные фундаменты.
Виброизоляция - достигается использованием пружинных опор или упругих прокладок из резины, пробки, размещением их между защищаемым объектом и источником вибрации.
К средствам индивидуальной защиты от вибрации относятся специальные рукавицы, перчатки и прокладки. Для защиты ног используют виброзащитную обувь, снабженную прокладками из упругодемпфирующих материалов (резина, войлок).
ЛЕКЦИЯ 6. ЗАЩИТА ОТ ЭЛЕКТРОМАГНИТНЫХ ПОЛЕЙ И ИЗЛУЧЕНИЙ.
6.1. Электромагнитные поля и излучения.
Спектр электромагнитных колебаний по частоте достигает 1021 Гц, его подразделяют на область неионизирующих и ионизирующих излучений.
К неионизирующим относят: радиоволны, инфракрасное, ультрафиолетовое излучение. В гигиенической практике к неионизирующим излучениям относят также электрические и магнитные поля.
Электромагнитное поле (ЭМП)- особая форма материи. Посредством электромагнитного поля осуществляется взаимодействие между заряженными частицами. Оно характеризуется напряженностью электрического и магнитного поля.
Электрическое поле (ЭП)- форма проявления электромагнитного поля. Оно создается электрическими зарядами зарядами или переменным магнитным полем и характеризуется напряженностью.
Магнитное поле (МП)- одна из форм электромагнитного поля, проявляет себя в виде силового воздействия на движущиеся заряженные частицы (на точки).
Нормирование электромагнитных полей осуществляется по предельно допустимым уровням напряженности электрического (Е, В/м) и магнитного полей (Н, А/м) частотой 50 Гц, в зависимости от времени пребывания в нем, и регламентируется санитарными нормами и правилами выполнения работ в условиях воздействия электрических полей промышленной частоты Сан П и Н 5802-91 и ГОСТ 12.1.002-84.
Пребывание в зоне электрического поля напряженностью до 5 кВ/м допустимо в течение рабочего дня. Если напряженность электрического поля достигает значений 5-20 кВ/м, то время пребывания Т(ч), в нем должно быть ограничено. Оно может быть ограничено. Оно может быть определено по выражению:
Т = 50/Е-2 (6.1.)
где Е- напряженность ЭП, действующего на работающего, кВ/м.
Влияние электрических полей переменного тока в условиях населенных пунктов регулируется санитарными нормами и правилами защиты населения от воздействия электрического поля, создаваемого воздушными линиями электропередачи переменного тока промышленной частоты Сан П и Н 2971-84.
В качестве предельно допустимых приняты следующие уровни напряженности электрического поля:
- внутри жилых зданий - 0,5кВ/м;
- на территории жилой застройки - 1кВ/м;
- на территории в пределах городской черты;
- в пригородных земных зонах, садах – до 5кВ/м;
Нормирование уровней напряженности электростатического поля осуществляют в соответствии с ГОСТ 12.1.0.045-84 в зависимости от времени пребывания на рабочих местах. Предельно допустимый уровень напряженности электростатического поля равен 60 кВ/м в течение 1ч. При напряженности менее 20 кВ/м время пребывания в зоне действия поля не ограничивается.
Если напряженность поля находится в пределах 20-60 кВ/м, предельную продолжительность tдопуст. пребывания в нем вычисляют по формуле:
(6.2)
где Епред- предельное значение напряженности кВ/м;
Ефак - фактическое значение напряженности ЭСП, кВ/м;
Исследование биологических эффектов показало, что наиболее чувствительны к электростатическому полю ЦНС, сердечно-сосудистая система, анализаторы. Люди, работающие в зоне воздействия ЭСП, жалуются на раздражительность, головную боль, нарушение сна.
О воздействии магнитного поля на организм известно очень немного. Считается, что относительно сильные магнитные поля заметного действия на организм не оказывает, поэтому ЯМР - томография (ЯМР- ядерный магнитный резонанс) считается совершенно безвредной.
Высокочастотные электромагнитные поля весьма опасны, так как вызывают локальный перегрев внутренних органов. Например, СВЧ- излучение с длиной волны порядка 3-10см вредно действует на глаза.
Уменьшение интенсивности ЭМП на рабочих местах достигается несколькими способами. Прежде всего, при проектировании цеха предусматривается увеличение расстояния между источником излучения и работающими, устанавливают отражающие и поглощающие экраны между источником и рабочим местом. Применяют сплошные и сетчатые экраны из стали, меди и алюминия. Используются также электропроводные тонкие материалы толщиной 0,01-0,05мм, а также токопроводящие краски, металлизированные поверхности.
В качестве индивидуальных средств защиты применяют экранирующие костюмы, изготовленные из металлизированной защитной ткани. Радиозащитные очки типа ОРЗ-5 ослабляют действие электромагнитного поля в диапазоне длины волн от 1,8 до 150см. Оправа таких очков изготовлена из губчатого материала и покрыта защитным слоем. Стекла очков покрыты пленкой диоксида олова (SnO2).
6.2. Ионизирующие излучения.
Ионизирующими называют излучения, взаимодействие которых со средой приводит к образованию электрических зарядов различных знаков. Источники этих излучений широко используются в технике, химии, медицине, сельском хозяйстве и других областях, например, при измерении плотности почв, обнаружении течей в газопроводах, измерении толщины листов, труб и стержней, антистатической обработке тканей, полимеризации пластмасс, радиационной терапии злокачественных опухолей и др. Однако следует помнить, что источники ионизирующих излучений представляют существенную угрозу здоровью и жизни использующих их людей.
Существуют два вида ионизирующих излучений:
- корпускулярное, состоящее из частиц с массой покоя, отличной от нуля (альфа- и бета- излучение и нейтронное излучение);
- электромагнитное (гамма (у)-излучение и рентгеновское) сочень малой длиной волны.
Рассмотрим основные характеристики указанных излучений.
Альфа (α)-излучение представляет собой поток ядер гелия, обладающих большой скоростью.
Под длиной пробега частицы в воздухе или других средах принято называть наибольшее расстояние от источника излучения, при котором ещё можно обнаружить частицу до ее поглощения веществом. Длина пробега частицы зависит от заряда, массы, начальной энергии и среды, в которой происходит движение. С возрастанием начальной энергии частицы и уменьшением плотности среды длина пробега увеличивается. Если начальная энергия излучаемых частиц одинакова, то тяжелые частицы обладают меньшими скоростями, чем легкие. Если частицы движутся медленно, то их взаимодействие с атомами вещества среды более эффективно и частицы быстрее растрачивают имеющийся у них запас энергии.
Длина пробега альфа-частиц в воздухе обычно менее 10 см. Так, например, альфа-частицы с энергией 4 МэВ обладают длиной пробега в воздухе примерно в 2,5 см. В воде или в мягких тканях человеческого тела, плотность которых более чем в 700 раз превышает плотность воздуха, длина пробега альфа частиц составляет несколько десятков микрометров. За счет своей большой массы при взаимодействии с веществом альфа-частицы быстро теряют свою энергию. Это объясняет их низкую проникающую способность и высокую удельную ионизацию: придвижении в воздушной среде альфа-частица на 1 см своего пути образует несколько десятков тысяч пар заряженных частиц - ионов.
Бета-излучение представляет собой поток электронов (β-излучение, или, чаще всего, просто β -излучение) или позитронов (β+-излучение), возникших при радиоактивном распаде. В настоящее время известно около 900 бета-радиоактивных изотопов
Масса бета-частиц в несколько десятков тысяч раз меньше массы альфа-частиц. В зависимости от природы источника бета- излучений, скорость этих частиц может лежать в пределах 0,3— 0,99 скорости света. Энергия бета-частиц не превышает нескольких МэВ, длина пробега в воздухе составляет приблизительно 1800 см, а в мягких тканях человеческого тела ~ 2,5 см. Проникающая способность бета-частиц выше, чем альфа-частиц (из-за меньших массы и заряда). Например, для полного поглощения потока бета-частиц, обладающих максимальной энергией 2 МэВ, требуется защитный слой алюминия толщиной 3,5 мм. Ионизирующая способность бета-излучения ниже, чем альфа-излучения: на 1 см пробега бета-частиц в среде образуется несколько десятков пар заряженных ионов.
Нейтронное излучение представляет собой поток ядерных частиц, не имеющих электрического заряда. Масса нейтрона приблизительно в 4 раза меньше массы альфа-частиц. В зависимости от энергии различают медленные нейтроны (с энергией менее 1 КэВ), нейтроны промежуточных энергий (от 1 до 500 КэВ) и быстрые нейт